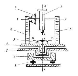
Принципиальная схема устройства теодолита показана на рис. 7.3. В отверстие подставки 2, опирающейся на три подъёмных винта 1, входит ось вращения лимба 3, в которую в свою очередь входит ось алидады 4.
| Рис. 7.3. Схема устройства теодолита: ii - ось вращения алидады; tt - ось вращения трубы; ss - визирная ось трубы; uu - ось уровня алидады. |
Лимб это стеклянный круг, по скошенному краю которого нанесены деления с оцифровкой от 0 до 360º по часовой стрелке.
Алидада - верхняя часть прибора, расположенная соосно с лимбом. Алидада несет стойки 6, на которые опирается ось tt вращения зрительной трубы 8 с вертикальным кругом 7. Установка оси ii вращения алидады в отвесное положение выполняется тремя подъёмными винтами подставки по цилиндрическому уровню 5.
Вращающиеся части теодолита снабжены закрепительными винтами для их установки в неподвижное положение и наводящими винтами для плавного их вращения.
Зрительная труба служит для обеспечения точности наведения на визирные цели. Трубы бывают с прямым и обратным изображением.
|
|
|
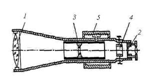
| Рис. 7.4. Зрительная труба |
Оптическая система трубы (рис. 7.4.) состоит из объектива 1, окуляра 2 и фокусирующей линзы 3, которую с помощью специального устройства - кремальеры 5, перемещают вдоль геометрической оси трубы. Между фокусирующей линзой и окуляром помещена сетка нитей 4 – деталь, несущая стеклянную пластину с нанесёнными на нее вертикальными и горизонтальными штрихами. При измерении углов перекрестие штрихов – центр сетки нитей, наводят на изображение визирной цели.
Сетка нитей имеет четыре исправительных винта, позволяющих перемещать ее в горизонтальном и вертикальном направлениях.
Линия, проходящая через оптический центр объектива и перекрестие сетки нитей, называется визирной осью.
Увеличением трубы называется отношение угла, под которым изображение предмета видно в трубе, к углу, под которым предмет виден невооружённым глазом. Практически увеличение трубы равно отношению фокусного расстояния объектива к фокусному расстоянию окуляра. Трубы геодезических приборов имеют увеличение от 15´ до 50´ и более.
Полем зрения трубы называется пространство, видимое в трубу при её неподвижном положении. Обычно оно бывает от 1 до 2 º.
Визированием называют наведение трубы на цель. Точность визирования зависит от увеличения трубы и приближенно равна
,
где v ´ – увеличение зрительной трубы, а 60²– средняя разрешающая способность глаза.
Для визирования трубу фокусируют “по глазу” и “по предмету”. При этом, глядя в трубу, вращением диоптрийного кольца окуляра добиваются чёткого изображения сетки нитей, а перемещением фокусирующей линзы 3 - чёткого изображения наблюдаемого предмета.
|
|
|
Отсчётные устройства служат для взятия отсчетов по горизонтальному и вертикальному кругам. Они снабжены отсчетными микроскопами. Различают микроскопы штриховые, шкаловые и микроскопы с оптическими микрометрами.
В штриховом микроскопе отсчет с точностью 1¢ берут по положению нулевого штриха алидады а (рис. 7.5, а), интерполируя минуты на глаз.
| в) | |
Рис. 7.5. Поле зрения отсчётных микроскопов:
а - штрихового (отсчёт по горизонтальному кругу 159º46’, по вертикальному 350º48’); б - шкалового (отсчёт по горизонтальному кругу 295º36’, по вертикальному -4º47’);
в - оптического микрометра (отсчет 145º23’14’’).
Шкаловый микроскоп имеет две шкалы, совмещённые с лимбами вертикального и горизонтального кругов (рис. 7.5, б). Отсчёты берут по градусным штрихам лимбов. Шкала вертикального круга теодолита 2Т30 имеет два ряда подписей. Если перед градусным делением отсутствует знак, отсчёт делают так же, как и по горизонтальному кругу. Если перед цифрой градусов стоит минус, то минуты считывают по шкале от -0 до -6 (справа налево).
Точные теодолиты снабжены микроскопами с оптическим микрометром (рис. 7.5, в). Градусы отсчитывают по основной шкале после совмещения верхнего и нижнего изображений штрихов горизонтального (или вертикального) круга, а минуты и секунды читают по шкале микрометра.
Эксцентриситет алидады. Несовпадение оси вращения алидады CA (рис. 7.6) с центром лимба CL называется эксцентриситетом алидады и является причиной систематических погрешностей при измерении углов. Так, при повороте алидады на угол b (рис. 7.6 а) вместо верной разности отсчетов по лимбу О 2 – О 1 из-за эксцентриситета алидады будет получена разность M 2 – M 1.
При отсутствии эксцентриситета поворот алидады на 180° (см. рис. 7.6 б) вызывает изменение отсчета на 180°. А при наличии эксцентриситета отсчеты до и после поворота различаются не ровно на 180°, так как содержат одинаковые погрешности эксцентриситета e, но с разным знаком. Так на рис. 7.6 б отсчет M 1 больше верного отсчета O на угол e, а отсчет M 2 меньше верного отсчета на угол e.
a) б)
| |
Рис. 7.6. Эксцентриситет алидады: а – влияние на результат измерения угла; б – исключение влияния; CL – центр лимба; CA – ось вращения алидады.
Для исключения погрешности эксцентриситета горизонтальные углы измеряют при двух положениях вертикального круга – круг слева и круг справа. При этом отсчётное устройство обеспечивает взятие отсчетов на противолежащих частях лимба. Среднее из результатов, полученных при круге слева и круге справа, свободно от ошибки эксцентриситета.
Высокоточные теодолиты имеют двухсторонние отсчетные устройства, обеспечивающие одновременное взятие отсчетов по противоположным частям лимба.
Уровни служат для приведения осей и плоскостей приборов в горизонтальное или вертикальное положение. По конструкции они бывают цилиндрические и круглые.
Рис. 7.7. Цилиндрический уровень: а – общий вид; б – цена деления уровня. | |
Цилиндрический уровень (рис. 7.7.) состоит из стеклянной ампулы, верхняя внутренняя поверхность которой отшлифована по дуге окружности определённого радиуса. При изготовлении уровня её заполняют горячим эфиром или спиртом и запаивают. При охлаждении в ампуле образуется небольшое пространство, заполненное парами жидкости и называемое пузырьком уровня. Ампула помещается в металлическую оправу, снабжённую исправительными винтами для регулировки положения уровня (на рис. 7.7, а - винт М). На внешней поверхности ампулы нанесена шкала со штрихами через 2 мм. Точка в середине шкалы называется нульпунктом уровня. Касательная к внутренней поверхности ампулы в нульпункте называется осью уровня. Пузырёк уровня занимает в ампуле наивысшее положение, поэтому, когда его концы расположены симметрично относительно нульпункта, ось уровня горизонтальна.
|
|
|
Центральный угол t (рис. 7.7, б), соответствующий одному делению шкалы, называется ценой деления уровня. Цена деления уровня, выраженная в секундах, определяется по формуле

где l - длина деления шкалы; R - радиус внутренней поверхности ампулы; ρ - число секунд в радиане. В разных типах теодолита цена деления цилиндрического уровня бывает от 15² до 60².
У круглого уровня (рис. 7.8.) внутренняя поверхность верхней стеклянной части ампулы имеет сферическую поверхность. Шкала уровня имеет вид окружностей с общим центром, который служит нульпунктом.
| |
Рис. 7.8. Круглый уровень:
а – вид сверху; б –разрез и ось уровня
Нормаль к внутренней сферической поверхности ампулы в нульпункте называется осью круглого уровня. При расположении пузырька уровня в нульпункте ось уровня занимает отвесное положение. Цена деления круглого уровня бывает в пределах 3 - 15’. Круглые уровни служат для предварительной установки прибора в рабочее положение.
Разновидности теодолитов. В зависимости от точности теодолиты подразделяют на высокоточные (Т1), точные (Т2, Т5) и технические (Т15, Т30, Т60). Цифрами здесь указана точность измерения горизонтального угла одним приемом в лабораторных условиях, выраженная в секундах.
Различаются теодолиты и по конструкции.
Так, для измерения вертикальных углов точные теодолиты снабжены уровнем при вертикальном круге. У технических теодолитов такого уровня нет, его роль выполняет уровень при алидаде горизонтального круга. Есть теодолиты, в которых уровень при вертикальном круге заменен автоматическим компенсатором углов наклона (теодолиты Т5К, Т15К).
Теодолиты бывают с трубами прямого и обратного изображения. В первом случае в шифр теодолита добавляют букву П (Т5КП, Т15КП, Т15МКП). Маркшейдерские теодолиты (Т30М, Т15М), предназначенные для подземных работ, где возможно наличие взрывоопасного газа метана, изготавливают в специальном исполнении.
|
|
|
Электронные теодолиты (например, Т5Э) обеспечивают автоматическое считывание отсчетов по горизонтальному и вертикальному кругам. Угломерная часть электронного теодолита представляет собой растровый датчик накопительного типа. Датчиком угла служит стеклянный круг с нанесенным на него штрих-кодом. Сигнал, прочитанный фотоприемником, поступает в электронную часть датчика угла, обрабатывается и выводится в градусной мере на дисплей и в память прибора. Наличие двухосевого компенсатора обеспечивает автоматический ввод поправок за наклон в отсчеты по горизонтальному и вертикальному кругам.
Электронный теодолит является важной частью современного универсального прибора – электронного тахеометра.
Рис. 7.7. Цилиндрический уровень: а – общий вид; б – цена деления уровня.