Поршневые насосы

Подразделяются по:

1) расположению цилиндров - вертикальные, горизонтальные, наклонные;

2) числу цилиндров - 1, 2, 3 и 4-х цилиндровые;

3) конструкции рабочего органа - поршневые, плунжерные;

4) способу приведение в работу - приводные, прямодействующие;

5) кратности действия - простого, 2-го, 3-го, 4-го, дифференциальные.

Принцип действия поршневого насоса.

Поршневой насос состоит из гидроцилиндров, поршней, клапанной коробки с нагнетательными и всасывающими клапанами. При движении поршня вверх в полости цилиндра создаётся разряжение. За счёт перепада давлений всасывающий клапан приподнимается и жидкость заполняет рабочий объём цилиндра. При перемещении поршня вниз в рабочей полости создаётся давление. Всасывающий клапан закрывается, а нагнетательный - открывается и жидкость под давлением поступает в нагнетательный трубопровод.

Ручные поршневые насосы используются в качестве аварийных или как резервные для осушительных, санитарных, пожарных, топливных и масляных систем. Для повышения производительности насосов увеличивают число цилиндров, устанавливают насосы различного по кратности действия.

A. простого действия - имеет одну рабочую полость, один всасывающий и нагнетательный клапана и подаёт жидкость периодически, т.е. за один ход поршня происходит всасывание, при обратном ходе - нагнетание. При этом за два хода поршня подаётся один объём жидкости. Такие насосы применяются там, где необходима малая подача и допустима её периодичность, а также в качестве смазочных.

Нacoc простого действия за два хода поршня, или за один оборот вала, производит всасывание и нагнетание.

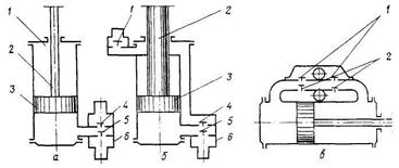
Эти насосы характеризуются неравномерностью всасывания и подачи жидкости по сравнению с другими поршневыми насосам (рис.10). В клапанной коробке 6 (рис.10, а) насоса простого действия располагается всасывающий 5 и нагнетательный 4 клапаны. При движении поршня 3 вверх клапан 4 закрывается и жидкость под давлением внешней среды поступает в полость цилиндра 1, где образуется разрежение. При движении поршня 3 вниз клапан 5 закрывается и жидкость через открытый под её давлением клапан 4 поступает в трубопровод. Таким образом жидкость будет поступать толчками при каждом нагнетатель­ном ходе поршня.

Рис.10. Поршневые насосы: а- простого действия; б – дифференциального действия; в – двойного действия

Насосы дифференциального действия (рис.10, б) обеспечивают более равномерное всасывание и подачу жидкости. Они характеризуются наличием двух групп нагнета­тельных клапанов 1 и 4, а также размерами поршневого штока 2, имеющего площадь сечения, равную половине площади поршня. Процесс всасывания происходит при движении поршня вверх, a процесс нагнетания — за каждый ход поршня. При движении поршня вниз часть воды, поступающей в цилиндр, выталкивает­ся в нагнетательный трубопровод через верхний клапан 1. Другая часть жидкости поступает в полость цилиндра над поршнем. При движении поршня вверх происходит всасывание в нижней полости цилиндра и выталкивание жидкости из верхней полости при закрытом нижнем нагнетательном клапане.

Насосы двойного действия (рис.10, в) бывают одноцилиндровые или составные из двух насосов простого действия.

Обе полости цилиндра насоса рабочие, и каждая из них имеет всасывающие 2 и нагнетатель­ные 1 клапаны. За каждый ход поршня происходит всасывание в одной и нагнетание в другой полости цилиндра т.е. насос совершает два рабочих действия за один ход поршня.

Насосы многократного действия представляют собой соединенные в одном блоке насосы простого или двойного действия.

Для улучшения равномерности подачи необходимо применять насосы 2-го, 3-го, 4-го или дифференциального типа.

B. двойного действия - имеет две рабочих полости в одном цилиндре, два всасывающих и нагнетательных клапана. При работе насоса происходит, поочерёдно, в одной полости всасывание, а в другой - нагнетание. Таким насосам характерна более равномерная подача жидкости.

Для перекачивания воды и нефте­продуктов на судах широкое распро­странение получили поршневые ручные насосы двустороннего действия типа НР. К корпусу 12 насоса (см.рис.) с всасывающим 11 и нагнетательным 5 патрубками прикреплены две клапан­ные коробки со всасывающими 1, 9 и нагнетательными 2, 8 клапанами. В горизонтальном цилиндре 3 насоса с помощью рукоятки 6 можно перемещать фигурный шток 7, на концах которого смонтированы два поршня 4 и 10.

При движении рукоятки влево поршни перемещаются вправо. Жид­кость через открытый всасывающий клапан 1 поступает в левую полость цилиндра, а из правой полости через открытый нагнетательный клапан 8 и патрубок 5 вытесняется в нагнетательный трубопровод. При изменении направления движения рукоятки, жидкость будет всасываться в правую полость цилиндра и вытесняется из левой.

C. тройного действия - представляет комбинацию трёх насосов простого действия, смонтированных в одном блоке. В этом случае он изготавливается приводным с расположением кривошипов коленчатого вала под углом 120°.

D. четырехкратного действия - имеет два насоса двойного действия, объединённых в одном блоке. В этом случае кривошипы располагают под углом 90°.

E. дифференциальный насос - сочетает в себе свойства насоса простого действия и насоса двойного действия. Всасывание происходит периодически, а нагнетание непрерывно. Такие насосы применяют при большой длине всасывающих трубопроводов, малой высоте всасывания и большой длине нагнетания. Сдвоенные дифференциальные насосы более надёжны в работе и могут обеспечивать не только непрерывность всасывания, но и непрерывность нагнетания.





Подборка статей по вашей теме: