Усиление деревянных конструкций.
Усиление каменных конструкций
Внешнее армирование из углеволоконных материалов гораздо эффективнее традиционных способов усиления каменных столбов, пилонов, простенков с помощью стальных обойм. Ведь обеспечить необходимую совместную работу стальной обоймы и усиливаемого столба можно, лишь создав в обойме начальные усилия путем нагрева хомутов и применения расширяющихся растворов. А это процесс трудоемкий, нетехнологичный и не современный. Обоймы из углехолста включаются в работу усиливаемого элемента просто во время его монтажа через клеевой слой.
Элементы внешнего армирования из углеволокна дают возможность в широких пределах регулировать усилия в каменной конструкции и при этом сводить к минимуму нарушения ее целостности. Это в полной мере справедливо дл конструкций реконструируемых и реставрируемых зданий.
При традиционном усилении кирпичных стен с окнами, дверями и другими проемами устанавливаются стальные скобы и профили. Все это закрепляется на стенах через анкеры с последующей зачеканкой расширяющимися растворами. Современный способ усиления стен с помощью углеволоконных холстов и лент позволяет избежать установки точечных анкеров, вовлечь больший объем материала в работу отдельного элемента, реализовать имеющиеся резервы конструкции, при этом бережно отнестись к неповрежденным участкам.
Углехолсты эффективны на участках, где действуют главные растягивающие напряжения и имеется опасность раскалывания вдоль волокон. Также целесообразно их приклеивание на гибкие фанерные стенки в зоне действия поперечной силы.
Эти элементы внешнего армирования обычно либо приклеиваются к поверхности, либо вклеиваются в предварительно подготовленные пропилы. Пропилы предпочтительно делать вертикальными для минимального нарушения целостности сечения.
Второй вариант предпочтителен, когда необходимо сохранить первоначальный вид балок и сделать незаметным само усиление. Незаметность наряду с технологической простотой и высокой скоростью монтажа относят к основным преимуществам армирования деревянных конструкций из углеволоконных элементов.
При реконструкции старого жилого фонда используют конструктивные схемы с полным и неполным встроенным каркасом. Полный встроенный каркас позволяет исключить из работы ограждающие конструкции стен, что создает предпосылки выполнения работ по реконструкции с полной перепланировкой и надстройкой здания несколькими этажами. При использовании схемы неполного каркаса нагрузка от ригелей и балок передается на стены, поэтому возможность надстройки ограничивается несущей способностью фундаментов и стен.
Базовыми элементами при реконструкции старых зданий являются сборные железобетонные конструкции полной заводской готовности: фундаменты, ригели, плиты перекрытий сплошного сечения или многопустотный настил, колонны, лестничные марши и площадки и др.
Технология встроенного монтажа предусматривает, как первый этап, полный демонтаж перекрытий, внутренних стен и перегородок. В результате разборки от здания остаются только наружные несущие стены и иногда стены лестничных клеток. Технологическая последовательность работ по возведению каркаса здания не отличается от подобных работ при новом строительстве. Монтируются фундаменты, в стаканы которых устанавливают колонны первого яруса, ригели, плиты перекрытий, далее конструкции следующих ярусов.
В процессе реконструкции здания все работы должны быть подчинены ритму поточной технологии, здание должно быть разбито на захватки, размеры которых должны соответствовать секциям жилого дома. Пример реконструкции жилого дома с надстройкой трех этажей приведен на рис. 29.3 (три секции здания соответствуют трем захваткам).
Рис. 29.3. Схема реконструкции жилого дома со встроенным каркасом:
а — монтажный план; б — поперечный разрез; 1 — оставляемые конструкции; 2 — встроенный каркас
Наиболее рациональной следует считать дифференцированную схему монтажа конструкций подвальной части. Первоначально монтируют фундаменты, одноярусные колонны подвального этажа устанавливают и обетонируют в стаканах этих фундаментов. Устройство перекрытий над подвалом предоставляет фронт работ для возведения надземной встроенной части здания, которое рекомендуется вести комплексно по захваткам.
Может быть рекомендована следующая технологическая последовательность монтажа элементов надземной части на каждой захватке:
монтаж двухъярусных колонн;
монтаж стенок жесткости (стен лестничных клеток);
укладка ригелей;
монтаж плит перекрытий;
укладка лестничных маршей и площадок;
монтаж объемного блока лифтовой шахты.
После завершения монтажа конструкций первого яруса, сварки конструкций, заделки узлов и заливки швов в той же последовательности устанавливают конструкции второго яруса (рис. 29.4).
Рис. 29.4. Технологическая последовательность монтажа элементов встроенного каркаса:
а — план захватки; б — разрез; 1—24 — последовательность установки элементов
По данной технологии необходимо монтировать конструкции каркаса последующих ярусов и захваток.
Усиление фундаментов. Повышение несущей способности фундамента как одного из основных элементов зданий возможно несколькими технологическими и конструктивными приемами. Это объясняется тем, что необходимо учитывать условия эксплуатации здания, причины появления различных деформаций, стесненные условия производства работ.
Наиболее часто устранение дефектов существующих фундаментов, усиление их при надстройке здания осуществляют следующими методами.
Усиление кладки фундаментов цементацией осуществляют при образовании пустот в теле кладки и разрушении материала фундаментов. Торкретирование поверхностных слоев фундамента восстанавливает монолитность кладки, способствует повышению водонепроницаемости фундаментов. При незначительных разрушениях материала фундамента устраивают металлическую обойму без уширения фундамента. Обойму изготавливают из уголков или арматурной стали с последующим обетонированием.
При возрастании нагрузки на фундамент в процессе реконструкции здания и при недостаточной его несущей способности осуществляют устройство обойм с уширением подошвы фундаментов (рис. 29.5).

Рис. 29.5. Усиление ленточных фундаментов монолитными обоймами:
а — одностороннее усиление; б — двустороннее усиление на значительную нагрузку; в — двустороннее усиление при большой глубине заложения фундаментов; г — комбинированное усиление с устройством буронабивных свай; д, е — расширение фундаментов с устройством жестких обойм; 1 — фундамент; 2 — обойма; 3 — балки; 4 — анкеры; 5 — разгрузочные балки; 6 — щебеночное основание; 7 — заделка в существующую стену; 8 — буронабивные сваи
Варианты усиления и технология производства работ зависят от конкретных условий строительной площадки, но в любом случае в конструкции уширенного фундамента предусматривают специальные металлические балки для передачи части нагрузки от вышележащих этажей на дополнительные элементы фундамента. Усиление фундаментов путем устройства обойм из монолитного бетона является наиболее простым и надежным решением. Оно основано на наращивании ширины фундаментов за счет монолитных железобетонных конструкций, значительном увеличении площади опирания фундаментов на основание, которое тоже может быть усилено.
Общая технологическая схема производства работ подходит для кирпичных, бутовых, бетонных и железобетонных фундаментов и предусматривает следующую очередность процессов:
• понижение уровня грунтовых вод при их наличии;
• отрывка траншей с двух сторон фундамента;
• очистка поверхности фундаментов;
• пробивка отверстий в фундаментной стене для укладки разгрузочных балок;
• армирование уширяемой части фундамента, создание единого армокаркаса;
• устройство опалубки;
• послойная укладка бетонной смеси с вибрационным уплотнением;
• уход за бетоном с последующим распалубливанием конструкций;
• гидроизоляционные работы;
• обратная засыпка пазух и устройство отмостки;
• контроль качества и приемка работ.
Усиление фундаментов выполняют участками протяженностью не более 10... 12 м. К бетонированию на очередной захватке рекомендуется приступать не ранее чем через 3 дня после окончания бетонных работ на предыдущей.
При критическом износе внутренних стен и перекрытий здания возникает вопрос об их замене, а также усилении фундаментов с изменением их расчетной схемы. Экономически целесообразно принимать комбинированную систему фундаментов — усиленные фундаменты для самонесущих стен и монолитная железобетонная плита для встроенных конструктивных элементов. Передача нагрузки на монолитную плиту снимает ограничения по высоте и числу надстроенных этажей.
Устройство монолитной фундаментной плиты предусматривает полную разборку всех конструктивных элементов внутри здания, подготовку и усиление основания, осуществление решений по конструктивному объединению оставляемых и усиливаемых фундаментов с фундаментной плитой с целью перераспределения нагрузок. Конструктивные решения основаны на использовании анкерных устройств в виде металлических консолей в фундаментах, которые объединяют с армокаркасами плит и замоноличивают. В местах размещения внутренних стен устраивают дополнительное ленточное армирование, бетонируют одновременно всю фундаментную плиту (рис. 29.6).
Рис. 29.6. Варианты переустройства ленточных фундаментов в плитные:
а — сплошная плита снизу фундаментных подушек; б — сплошная плита с балками на шпонках; в — сплошная плита на шпонках; 1 — кирпичная стена; 2 — фундамент; 3 — отметка верха пола подвала; 4 — рабочая арматура плиты; 5 — монолитная плита; 6 — подготовка под монолитную плиту; 7 — штрабы
При устройстве монолитной фундаментной плиты отсутствует стесненность на строительной площадке, наличие большого фронта работ позволяет применить поточные методы работ и высокопроизводительное оборудование. При подготовке основания можно применить самоходные вибротрамбующие плиты, для армирования использовать армокаркасы заводского изготовления, осуществлять бетонирование с помощью башенного крана и бадьи или автобетононасосами (рис. 29.7).
Рис. 29.7. Схемы бетонирования монолитных плит фундаментов: а — подача смеси бетононасосом; б — то же, башенным краном; 1 — бетоновоз; 2 — автобетононасос; 3 — распределительная стрела; 4 — монолитная плита; 5 — бадья; 6 — башенный кран
Для усиления кирпичной кладки столбов и простенков применимы традиционные технологии, основанные на использовании металлических и железобетонных обойм и каркасов, инъецирования в тело кладки полимерцементных и других суспензий. Каменная кладка хорошо работает на сжимающие усилия, поэтому наиболее эффективным способом ее усиления является устройство обойм. В обойме кладка работает в условиях всестороннего сжатия, в результате увеличивается сопротивление продольной силе и значительно уменьшаются поперечные деформации. Варианты усиления столбов и простенков приведены на рис. 29.8.
Рис. 29.8. Усиление столбов стальной обоймой (а), армокаркасами (б), сетками (в) и железобетонными обоймами (г):
1 — усиливаемая конструкция; 2 — элементы усиления; 3 — защитный слой; 4 — щитовая опалубка с хомутами крепления; 5 — инъектор; 6 — материальный шланг
При установке стальной обоймы ее включение в работу обеспечивают инъецированием раствора в зазоры между стальными элементами и кладкой. Полная монолитность конструкции будет достигнута путем оштукатуривания высокопрочными цементно-песчаными растворами с добавкой пластификаторов для большей адгезии кладки и металлоконструкций. При устройстве железобетонной рубашки и толщине обоймы до 4 см применимы методы торкретирования и пневмобетонирования, окончательная отделка усиленной конструкции — устройство штукатурного накрывочного слоя.
Железобетонные обоймы можно устраивать в несъемной опалубке, при этом наружные поверхности могут иметь различную фактуру, в том числе и гладкую (рис. 29.9).
Рис. 29.9. Усиление столбов с использованием опалубки-облицовки:
1 — усиливаемая конструкция; 2 — армокаркас; 3 — бетон омоноличивания; 4 — элементы облицовки; 5 — выступающие анкеры
Наиболее эффективными несъемными опалубками являются тонкостенные элементы толщиной 1,5...2 см, изготовленные из дисперсно-армированного бетона. Для вовлечения опалубки в работу она снабжается выступающими анкерами, существенно повышающими адгезию с укладываемым бетоном. После установки несъемной опалубки и крепления ее элементов замоноличивают полость между усиливаемой и ограждающей конструкциями. Использование несъемной опалубки экономически и технологически выгодно, отпадает необходимость в разборке опалубки и исключается отделочный цикл работ.
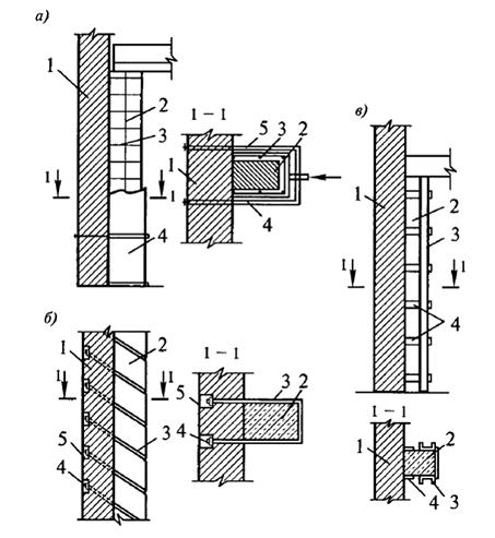
Усиление железобетонных колонн, балок и перекрытий заключается во включении в работу дополнительных элементов, которые увеличивают сечение конструкции, степень армирования, в некоторых случаях изменение расчетной схемы при включении в каркас дополнительных опор.
Усиление свободно стоящих железобетонных колонн выполняют методом наращивания сечения в виде железобетонной обоймы, с помощью металлических уголков и хомутов, стальными обоймами, отдельными стержнями, усиливающими сечение рабочей арматуры. Часто приходится усиливать колонны, примыкающие к наружным и внутренним стенам, основной технологией в этом случае является устройство железобетонной рубашки (рис. 29.10).
Рис. 29.10. Усиление колонн, примыкающих к стенам:
а — путем устройства железобетонной рубашки: 1 — стена; 2 — усиливаемая конструкция; 3 — арматурный каркас; 4 — опалубочные щиты; 5 — стяжные хомуты; б — путем установки напрягаемых хомутов для включения в работу стен: 1 — стена; 2 — колонна; 3 — хомут; 4 — анкерное устройство с натяжением; 5 — штраба; в — путем установки боковых разгружающих элементов: 1 — стена; 2 — колонна; 3 — швеллер; 4 — накладки из металлических полос
Такое решение принимают, когда имеет место отслоение защитного слоя бетона. Кроме того, поверхность сильно разрушена, имеются значительные трещины. В процессе усиления необходимо тщательно очистить поверхность колонны, сделать насечки, установить и приварить дополнительный арматурный каркас, осуществить нагнетание бетонной смеси в полость. Большего эффекта можно достичь при поярусном бетонировании усиливаемой колонны. В этом случае торцевая опалубка монтируется отдельными ярусами.
После заполнения бетонной смесью полости первого яруса наращивают торцевой щит, и цикл повторяется.
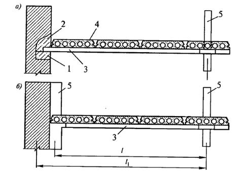
Усиление балочных конструкций выполняют, в зависимости от специфики сооружения, несколькими способами: наращиванием арматуры растянутой зоны, усилением балок снизу с увеличением степени армирования и высоты сечения, установкой железобетонных обойм, устройством шпренгельных систем и устройством затяжек по нижнему поясу балок. Для существенного повышения несущей способности балок устраивают железобетонную обойму (рис. 29.11).
Рис. 29.11. Схема усиления балок:
1 — усиливаемая конструкция; 2 — арматурный каркас; 3 — подвесная опалубка; 4 — тяжи; 5 — отверстия в плите для подачи бетонной смеси
На очищенной поверхности балки делают насечки, по результатам анализа подбирают оптимальный композиционный состав смеси. Бетонирование через специальные отверстия в плите выполняют послойно с обязательным уплотнением.
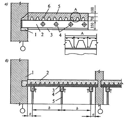
Замена перекрытий. Впроцессе реконструкции жилых зданий часто возникает вопрос о замене существующих перекрытий. Конструктивные решения устройства сборных перекрытий по ригелям при полном и неполном каркасе реконструируемых зданий приведены на рис. 29.12.
Рис. 29.12. Схемы неполного (а) и полного встроенных каркасов (б) реконструируемого здания:
1 — опорная подушка; 2 — штрабы; 3 — ригель; 4 — многопустотный настил; 5 — колонны
При устройстве сборно-монолитных перекрытий наиболее часто применяют два основных варианта несъемной опалубки: с использованием профилированного настила в качестве опалубки и с применением тонкостенных железобетонных плит с арматурными выпусками (рис. 29.13).
Рис. 29.13. Схемы возведения перекрытий в несъемной опалубке:
а — с использованием металлических балок и профнастила: 1 — стена; 2 — балка; 3 — подвесной потолок; 4 — технологические отверстия в сечении балки; 5 — монолитная железобетонная плита; 6 — профнастил; б — с использованием железобетонной несъемной опалубки: 1 — стена; 2 — монолитный бетон; 3 — несъемная опалубка; 4 — распределительная балка; 5 — телескопическая стойка
В первом случае несущими элементами перекрытий являются металлические балки, по верхнему поясу которых укладывают стальной профилированный настил с толщиной листа 0,7...0,8 мм. При значительных нагрузках возможно устраивать дополнительное армирование в виде вертикальных каркасов и горизонтальных сеток. Недостатком решения является обязательное устройство подвесного потолка.
Монолитные перекрытия. При реконструкции зданий криволинейной и сложной формы, когда применение сборных конструкций перекрытий сопряжено с использованием большого числа доборных элементов и монолитных участков, может быть рекомендовано монолитное перекрытие. Эта рекомендация базируется на индустриальности монолитных систем, адаптированных к различным технологическим условиям, а также на механизации процессов транспортирования, укладки и уплотнения бетонной смеси.
Комплексный технологический процесс устройства монолитного перекрытия включает:
• подготовительные работы по пробивке штраб, усилению или замене отдельных участков кладки;
• установку опалубки перекрытия;
• армирование стержнями, арматурными каркасами и сетками;
• механизированную подачу и укладку бетонной смеси;
• уход за бетоном, контроль качества, а в зимних условиях — соблюдение режимов тепловой обработки;
• распалубливание.
В качестве опалубок могут быть задействованы отечественные и зарубежные опалубочные системы. Основными принципами формирования опалубки являются: установка телескопических стоек (пространственных рам из стоек) с оголовками и фиксаторами, укладка по ним балочной системы для восприятия всех нагрузок, устройство палубы из унифицированных щитов или листов водостойкой фанеры. Один из вариантов опалубки приведен на рис. 29.14.
Рис. 29.14. Схема устройства монолитных безбалочных перекрытий:
1 — телескопическая стойка с оголовником; 2 — опорные балки; 3 — прогоны; 4 — палуба из фанеры; 5 — монолитный железобетон; 6 — виброрейка
Балочные перекрытия успешно используют при однопролетной и двухпролетной схемах зданий, когда необходимо получить достаточно большие перекрываемые площади. При реконструкции балочные перекрытия устраивают, если несущая способность кирпичной кладки обеспечивает восприятие нагрузки. При выполнении опалубочных работ тщательно контролируют геометрические размеры и высотные отметки всех балок на захватке. Армирование конструкций выполняют каркасами заводского изготовления или отдельными стержнями. Контролируют проектное положение арматурного каркаса в опалубке, используют различные фиксаторы.
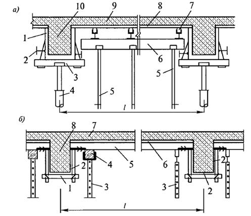
Конструктивно применяют две схемы опалубки балочного перекрытия — с использованием стоек и струбцин и подвесную систему (рис. 29.15).
Рис. 29.15. Схемы опалубочных систем для устройства балочных перекрытий:
а — с поддерживающими стойками; 1 — боковой шит балки; 2 — винтовой домкрат; 3 — балочная струбцина; 4 — телескопическая стойка; 5 — поддерживающие стойки; 6 — опорная балка; 7 — ригель; 8 — палуба из фанеры; 9 — плита перекрытия; 10 — балка перекрытия; б — с использованием подвесной опалубки балок: 1 — хомут, 2 — опалубочные шиты; 3 — телескопические стойки; 4 — распределительная балка; 5 — прогон; 6 — палуба из фанеры; 7 — плита перекрытия; 8 — балка перекрытия
Балки высотой более 0,8 м бетонируют отдельно от перекрытия, во всех остальных случаях принимают совместное бетонирование с направлением параллельно балкам. В густоармированные балки рекомендуется укладывать литые и высокопластичные бетонные смеси с обязательным уплотнением вибраторами.
Технология встроенных монолитных систем без изменения расчетной схемы здания основана на использовании неполного безбалочного каркаса с опиранием перекрытия на стены. Для передачи нагрузки на стены в них на уровне перекрытия устраивают углубления (штрабы) на толщину перекрытия. Более эффективная работа стен и перекрытия может быть достигнута благодаря установке анкеров в стены (рис. 29.16).
Рис. 29.16. Схемы устройства монолитных перекрытий встроенных систем: а — со свободным опиранием перекрытия на стены; б — с анкерным креплением к наружным стенам; 1 — наружная стена; 2 — монолитное перекрытие; 3 — опалубка перекрытия; 4 — прогон; 5 — опорные телескопические стойки; 6 — анкерные устройства
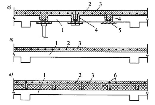
Усиление перекрытий встречается особенно часто при реконструкции зданий. Рассмотрим только усиление монолитных перекрытий. Основой усиления является повышение степени армирования с одновременным наращиванием сечения. Наиболее эффективными являются методы устройства дополнительной балочной системы усиливаемого перекрытия и поверхностного наращивания слоя железобетона (рис. 29.17).
Рис. 29.17. Схемы усиления монолитных перекрытий с наращиванием верхнего железобетонного слоя:
а — с устройством дополнительного армирования плиты; б — с установкой звукоизоляционной плиты; в — с установкой виброизоляционной плиты; 1 — железобетонное перекрытие; 2 — наращиваемая арматура; 3 — дополнительный слой бетона; 4 — штрабы; 5 — подвесная опалубка; 6 — шумо- и виброзащитные плиты
В процессе устройства дополнительной балочной системы в плите перекрытия вырезают сплошные продольные штрабы параллельно расположению рабочей арматуры. Далее устанавливают подвесную опалубку, укладывают арматурные каркасы балочной системы, дополнительно укладывают арматурные сетки наращиваемого слоя бетона. До укладки бетонной смеси необходимо осуществить насечку бетонной поверхности перекрытия, непосредственно перед укладкой — смачивание поверхности водой. Бетонирование нужно выполнять без технологических перерывов, уделяя особое внимание вибрационной обработке густоармированной области штраб.
При усилении перекрытий путем наращивания слоя железобетона необходимо обеспечить совместность работы старой армосистемы и вновь укладываемых арматурных сеток. Важной задачей является обеспечение адгезии старого бетона с вновь укладываемым.
В процессе усиления перекрытия можно повысить его тепло- и звукоизоляцию. На заранее подготовленную поверхность перекрытия устанавливают и сваривают с существующим армированием арматурные каркасы усиления, которые соединяются между собой, образуя единую пространственную систему. Между арматурными каркасами укладывают изоляционный материал — плитный пенополистирол, жесткие минеральные плиты, другие материалы. Их укладывают и приклеивают к основанию так, чтобы оставалось свободное пространство для бетонирования ребра (с установленной арматурой) наращиваемого перекрытия. Ребра бетонируют в одном потоке с наращиваемым перекрытием (см. рис. 29.17, в)