Уплотнение рабочего колеса центробежного насоса служит для уменьшения объемных потерь и увеличения КПД путем снижения протечек воды из напорной части во всасывающую через зазор между ротором и статором. В качестве уплотнения рабочего колеса обычно применяются бесконтактные уплотнения щелевого типа.
Их уплотняющий эффект основан на использовании гидравлического сопротивления кольцевых дросселей с малым радиальным зазором. Радиальный зазор принимают минимальным при условии обеспечения надежной сборки и работы без металлического контакта вращающихся и неподвижных элементов насоса.
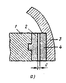
На рисунке 2.113 показаны схемы щелевых уплотнений, применяемых в центробежных насосах. Щелевое уплотнение состоит из уплотнительного и защитного колец, закрепленных соответственно в корпусе насоса и на рабочем колесе. Кольца запрессовываются или крепятся винтами таким образом, что между их уплотнительными поверхностями образуется щель с зазором.

а – прямое; б – угловое;
1 – корпус насоса; 2 – уплотнительное кольцо; 3 – рабочее колесо; 4 – защитное кольцо
Рисунок 2.113 – Щелевые уплотнения рабочего колеса
Материал уплотнительных и защитных колец должен обладать хорошей износостойкостью, эрозионной и коррозионной стойкостью, а также стойкостью против задирания при возможном соприкосновении вращающихся и неподвижных поверхностей или попадания в щель металлических включение.