Определение места судна
Основной метод измерения расстояний до навигационных ориентиров в прибрежном плавании – с помощью судовой радиолокационной станции. Резервным является метод определения расстояний по вертикальному углу, измеренному секстаном.
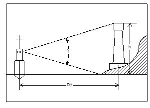
Определение расстояния до ориентира по вертикальному углу
Если известна высота ориентира над уровнем моря h, а высоту глаза наблюдателя над уровнем моря принять е=0, тогда, измерив вертикальный угол γ, можно рассчитать расстояние до ориентира
Dу = h/tgγ*.

Если Dу выражать в морских милях, h в метрах, γ в дуговых минутах, tgγ заменить самим углом γ ввиду его малости, то формула * приобретёт вид
Dу = 1,86·h/γ.
Эта формула является приближённой, ею можно пользоваться на небольших расстояниях, когда ориентир находится в пределах дальности видимого горизонта. В этой формуле не учтена высота глаза над уровнем моря, сфероидичность Земли, атмосферная рефракция.
Точная формула, а также вычисленная по ней таблица приведены в Мореходных таблицах
МТ-2000.
Определение места судна
по двум расстояниям
Выбрать два хорошо видимых, обозначенных на карте ориентира с известными высотами. Угол между линиями пеленгов ориентиров должны быть в пределах от 30º до 150º.
Первым измерить вертикальный угол того ориентира, который расположен ближе к траверзу, так как расстояние до него изменяется медленнее. Затем измерить вертикальный угол второго ориентира, зафиксировать момент Т и отсчёт лага ОЛ. И снова измерить вертикальный угол первого ориентира. Повторенные измерения усреднить
ОС1ср = (ОС1 + ОС3)/2.
Эта операция называется приведение измерений к одному моменту. Её цель – повышение точности обсервованного места.
Рассчитать Dу1 и Dу2. С помощью циркуля проложить изолинии (окружности с центрами в точках, обозначающих ориентиры и радиусами, равными Dу1 и Dу2 в масштабе карты). В точке пересечения изолиний получим обсервованное место.
Снять координаты и невязку, записать в судовой журнал (образец):
16 20 ОЛ = 37,6. Мк Цыпнаволокский ОС = 15,6΄, i+s = +1,5΄, h = 30м, Dу = 5,6 миль, Мк Лазарь ОС = 11,4΄, i+s = +1,5΄, h = 20 м, Dу = 6,4 миль. φо = 69º59,3΄N, λо = 33º20,3΄Е, С = 20º - 1,5 мили.






