Теплообменники типа «труба в трубе». Они представляют собой один или несколько теплообменных элементов, расположенных один под другим (рис. 5). Каждый из элементов состоит из внутренней трубы 1 и охватывающей ее наружной трубы 2.
Теплообмен между теплоносителями осуществляется через стенки внутренних труб. В этих теплообменниках обеспечиваются высокая скорость теплоносителей (даже при малых расходах) и высокая интенсивность
теплообмена. Однако эти теплообменники громоздки и металлоемки, поэтому их применяют преимущественно для проведения процессов нагревания или охлаждения при высоких давлениях. При необходимости создания большой площади поверхности теплообмена устанавливают несколько параллельно соединенных элементов.
Кожухотрубные теплообменники – наиболее распространенный тип поверхностных теплообменников. Они допускают создание больших поверхностей теплообмена в одном аппарате, просты в изготовлении и надежны в работе.
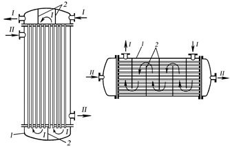
Кожухотрубный вертикальный теплообменник с неподвижными трубными решетками (жесткой конструкции) состоит из цилиндрического корпуса, или кожуха 1, к которому с двух сторон приварены трубные решетки 2 (рис. 6). В трубных решетках закреплен пучок труб 3. К кожуху с помощью фланцев присоединены болтами крышки 5. Для ввода и вывода теплоносителей к корпусу (кожуху) и крышкам приварены патрубки 4. Теплообменник устанавливают на опорных лапах 6. Один поток теплоносителя (I) направляется через патрубок в нижнюю камеру, проходит по трубкам и выходит через патрубок в верхней камере, т. е. движется в трубном пространстве. Другой поток теплоносителя (II) вводится через верхний патрубок на кожухе в межтрубное пространство теплообменника, омывает снаружи трубы и выводится через нижний патрубок, т. е. движется в межтрубном пространстве. Теплота от одного теплоносителя к другому передается через стенки труб.
|
|
|

Рис. 6. Вертикальный кожухотрубный теплообменник с неподвижными трубными решетками: 1 – кожух; 2 – трубная решетка; 3 – трубы; 4 – патрубок; 5 – крышка; 6 – опорная лапа; I, II – теплоносители

Змеевиковые теплообменники. Теплообменники этого типа отличаются простотой устройства. Теплообменный элемент (змеевик) представляет собой изогнутую трубу, погруженную в жидкость, которая нагревается или охлаждается теплоносителем, движущимся по змеевику.
Змеевиковые теплообменники используют в основном для подогрева воды. Змеевиковый водоподогреватель (рис. 7) состоит из змеевика 1, расположенного в корпусе 2, фланца 3 и крышки 4, к которой прикреплен змеевик. К отверстиям, расположенным на крышке 4, плотно прижимаются с помощью накидных гаек 5 штуцера 6 для подвода пара и отвода образующегося конденсата.
|
|
|
Змеевики таких теплообменников имеют большое гидравлическое сопротивление, поэтому скорости теплоносителей для них выбирают меньшими, чем в теплообменниках с прямыми трубами. Преимущество змеевиковых теплообменников – простота изготовления. Основной недостаток их состоит в трудности очистки змеевиков. Погружные теплообменники применяют для охлаждения и нагрева конденсата, а также для конденсации паров.