Міністерство освіти і науки, молоді та спорту України
Національний технічний університет України
«Київський політехнічний інститут»
Інститут енергозбереження та енергоменеджменту
Кафедра інженерної екології
Практична робота
“Розрахунок провітрювання підземного гірничого підприємства ”
З дисципліни ” Технологічні процеси сировинно-будівельного та паливно-енергетичного комплексу”
Київ 2012
Практична робота: Розрахунок вентиляційної мережі підземного гірничого підприємства. Зробити розрахунок по вихідним даним індивідуального завдання РГР
Розрахунок провітрювання підземного гірничого підприємства включає в себе:
- Обгрунтування та вибір способу і схеми провітрювання шахти відповідно, до конкретних гірничогнологічних та гірничотехнічних умов підприємства, схеми розкриття, підготовки, системи розробки;
- Розрахунок та розподіл необхідної кількості повітря;
- Розрахунок депресії шахтної вентиляційної мережі;
- Вибір вентиляційної установки.
Вибір способа та схеми провітрювання шахт
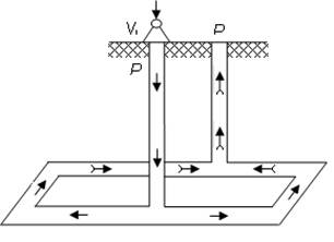
На вибір способу та схеми провітрювання впливають гірничо-геологічні та гірничотехнічні фактори з яких основними є: спосіб розкриття, схема підготовки, кут нахилу пластів, газовиділення з розробляємих пластів, відстань між пластами. На рис.1 наведені схеми провітрювання шахт з нагнітаючим (а) та всмоктуючим (б) способом провітрювання.
а) б)

Рисунок 1. Схеми провітрювання шахт з нагнітаючим (а) та всмоктуючим (б) способом провітрювання
При нагнітаючому способі провітрювання (Рис.1а), за рахунок механічної енергії вентилятора V1, нормальний атмосферний тиск Р0 повітря, збільшується на виході вентилятора до величини Р1. Таким чином, у виробках шахти створюється перепад тисків, які представляють собою депресію шахти:
h = Р1. - Р0,
Повітря як свіже, так і відпрацьоване може рухатись в любому напрямку.
Відповідно до вимог правил безпеки – при кутах залягання пластів більш ніж 100 - застосовується тільки всмоктувальний спосіб провітрювання (Рис.1б), при якому повітря рухається тільки знизу - догор и. Всмоктувальний спосіб провітрювання оснований на тому, що необхідний для руху повітря перепад тисків створюється розрідженням повітря вентилятором V2 в гирлі ствола, який видає відпрацьоване повітря. В цьому випадку депресія шахти визначається як різниця між атмосферним тиском на денній поверхні Р0 і тисом повітря в гирлі ствола Р2.
h = Р0. – Р2,
Як одна, так і друга схеми провітрювання наведені на Рис 4. можуть застосовувати як центральну так і флангову схеми провітрювання.
Для забезпечення руху повітря в потрібному напрямку в деяких виробках
Незалежно від схеми й способу провітрювання повітряний струмінь в очисних вибоях, як правило, повинен рухатися знизу нагору щоб уникнути виносу пилу й шкідливих газів у відкаточні виробки.






