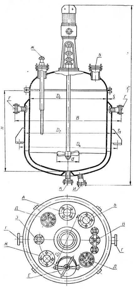
Приєднання трубної арматури до апарата, а також технологічних трубопроводів для підводу та відводу різних рідинних або газоподібних продуктів виконується за допомогою штуцерів.
Таблиця 5.1. Штуцери реакторів
| Позначка | Призначення | Ємність реактора, л | ||||||||||
| >10000 | ||||||||||||
| Умовні діаметри, мм | ||||||||||||
| А | Технологічний | |||||||||||
| Б | Для труби передавлювання | |||||||||||
| В | Для колонки | |||||||||||
| Г | Для входу пари | |||||||||||
| Д | Оглядове вікно | |||||||||||
| Е | Люк | |||||||||||
| Ж | Для гільзи термометра | |||||||||||
| З | Для наповнення | |||||||||||
| И | Випуск конденсату | |||||||||||
| К | Випуск продукту |
Примітка: Штуцер Б використовується як технологічний на розсуд замовника.

Рис. 5.3. Апарат з перемішуючим пристроєм
Стальні фланцеві штуцери стандартизовані. Вони складаються з патрубків (коротких відрізків труб відповідних діаметрів), до яких приварені фланці. В залежності від товщини стінки патрубка, штуцери розподіляють на тонкостінні та товстостінні. Тонкостінні штуцери використовують в апаратах, які працюють під тиском до 4 МПа (табл.10.1)
.
Більшість штуцерів (5-7) встановлюють на кришці апарата це: технологічні (1-3), оглядові вікна (2), для гільзи термометра (1), при необхідності встановлюють люк для завантаження або люк-лаз.
На сорочці апарата, у верхній її частині, встановлюють штуцери для підводу теплоносія (пари), а у найнижчій її точці – штуцер для відводу конденсату. При нижньому розвантаженні апарата в днище апарата вварюють штуцер для зливу продукту.
Умовний діаметр штуцера залежить від об’єму апарата (див. рис. 5.3 і таблицю 5.1.)






