Напорная система сбора (рисунок 13.2), разработанная Гипровостокнефтью, действует следующим образом. Из скважины нефть под давлением поступает на автоматическую групповую замерную установку, где поочередно замеряется дебит всех скважин, а затем вся нефть подается на участковую сепарационную установку. Дебит скважины замеряется жидкостным расходомером с предварительным отделением газа в циклонном сепараторе. После прохождения расходомера нефть и газ снова смешиваются и подаются на участковую сепарационную установку, где на сепараторе первой ступени при давлении 0,4 – 0,5 МПа газ отделяется и подается на газоперерабатывающий завод. Нефть с пластовой водой и оставшимися растворенными газами насосами перекачивается на центральный сборный пункт, где проходит вторую ступень сепарации через концевые сепараторы и подается на установку комплексной подготовки или в сырьевые резервуары. Газ второй ступени сепарации компрессорной станцией направляется на газоперерабатывающий завод.
Данная напорная система сбора полностью герметизирована, что исключает потери газа и легких фракций нефти. Она позволяет производить подготовку нефти на центральном пункте нескольких месторождений, расположенных на расстоянии до 100 км. Однако длительный совместный транспорт нефти и воды может привести к созданию стойких эмульсий, и при высокой обводнённости нефти могут увеличиться эксплуатационные расходы на транспорт. Тем не менее, это одна из перспективных систем сбора нефти, которая широко применяется в настоящее время.
Существует сравнительно большое число технологических схем по подготовке нефти, газа и воды. Сами установки по подготовке могут размещаться в любом пункте системы сбора, начиная от скважины и кончая головными сооружениями магистральных нефтепроводов. Целесообразность размещения установок подготовки нефти в том или ином пункте определяется в каждом конкретном случае технико-экономическим анализом возможных вариантов. Установлено, что наименьшие капитальные вложения и эксплуатационные затраты на подготовку нефти возможны при размещении установок в местах наибольшей концентрации нефти (сборные пункты, товарные парки, головные сооружения).

Рисунок 13.2 – Напорная система сбора нефти, газа и воды:
1 – выкидные линия; 2 – гидроциклонные сепараторы; 3 – расходомеры жидкости; 4 – сборные напорные коллекторы; 5 – сепараторы первой ступени; 6 – центробежные насосы; 7 – сепаратор второй ступени;
8 – сепаратор третьей ступени; 9 – сырьевые резервуары; КС – компрессорная станция; ГПЗ – газоперерабатывающий завод
Оптимальной технологической схемой подготовки нефти к транспорту следует считать такую, которая при наименьших затратах в отведенное технологическое время позволяет получать нефть с допустимым содержанием воды, солей и с необходимой глубиной стабилизации.
В настоящее время проводят комплексную подготовку нефти в районах промыслов, поэтому на основных нефтяных месторождениях созданы комплексные установки по подготовке нефти, которые объединяют процессы обезвоживания, обессоливания и стабилизации.
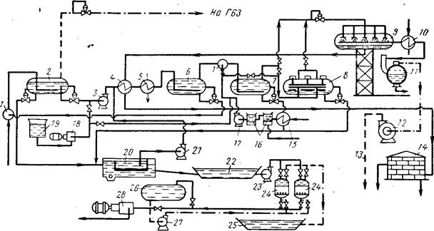
На рисунке 13.3 приведена принципиальная технологическая схема установки комплексной термохимической подготовки нефти.

Рисунок 13.3 – Термохимическая установка по обезвоживанию,
обессоливанию и стабилизации нефти:
1 – смеситель; 2 – концевая совмещенная сепарационная установка (КССУ); 3 – сырьевой насос; 4 и 15 – теплообменники;
5 – пароподогреватели; 6 и 7 – отстойники; 8 – электродегидратор;
9 – вакуумный сепаратор; 10 – холодильник; 11 – сепаратор;
12 – вакуумный компрессор; 13 – газовая линия на газофракционирующую установку; 14 – резервуар товарной нефти;
16 – ёмкости для обескислороживания воды; 17 – насос для подачи пресной воды; 18 – дозировочный насос для подачи деэмульгатора;
19 – ёмкость для деэмульгатора; 20 – нефтеловушка; 21 – насос для «ловушечной» нефти; 22 – пруд-отстойник для сточной воды; 23 – насос для подачи сточной воды на фильтры; 24 – фильтр; 25 – амбар для сброса промывной воды; 26 – ёмкость для очищенной сточной воды; 27 – насос для промывки фильтров; 28 – поршневой насос для подачи сточной воды в нагнетательные скважины.
Нефть из скважины после групповых замерных установок по коллектору подается в концевую совмещенную сепарационную установку (КССУ) 2, в которую через смеситель 1 подается горячая вода из отстойника 6, содержащая отработанный деэмульгатор.
Под действием тепла пластовой воды и остатков деэмульгатора, поступающих из отстойника 6 в КССУ 2, происходит частичное разделение эмульсии на нефть, воду и газ. Отделившаяся вода подается в нефтеловушки 20, а выделившийся газ поступает на газобензиновый завод. Нефть из КССУ 2 вместе с оставшейся водой насосом 3 прогоняется через теплообменники
4 и пароподогреватели 5, затем нагретая нефть поступает в отстойник 6 для окончательного отделения нефти от воды. Отделенная вода уносит с собой основное количество солей из нефти.
Для более полного обессоливания нефть из отстойника направляется на смешение с горячей пресной водой, которая подается насосом 17 с предварительным подогревом пароподогревателем 15 и обескислороживанием в ёмкости 16. После тщательного перемешивания пресной воды с нефтью, содержащей соли, эмульсия направляется в отстойник 7, где доводится до требуемой кондиции по содержанию солей. После обессоливания и отделения воды нефть при необходимости может быть направлена из отстойника 7 на дополнительное обессоливание и обезвоживание в электродегидратор 8, а если содержание воды и солей в пределах нормы, то нефть, минуя электродегидратор 8, подается прямо в вакуумный сепаратор 9.
Вакуумные компрессоры 12 забирают из сепаратора 9 газ, из которого при прохождении холодильника 10 и гидроциклонного сепаратора 11 выде-ляется основное количество легких углеводородов. Конденсат из сепаратора 11 отправляется на газобензиновый завод, а газ направляется на специальные установки для полной деэтанизации. Перед теплообменником 4 в нефть вводится деэмульгатор, воздействующий на поверхностные свойства пограничных слоев двух фаз эмульсии. Деэмульгатор также вводится вместе с подачей пресной воды перед отстойником 7.
Данной системой предусмотрена очистка сточных вод с последующей подачей их на нагнетательные скважины для закачки в пласт.
ЛЕКЦИЯ 14. КЛАССИФИКАЦИЯ ТРУБОПРОВОДОВ
По характеру линейной части различают трубопроводы: магистральные, которые могут быть однониточные простые (с одинаковым диаметром от головных сооружений до конечной ГРС) и телескопические (с различными диаметрами труб по трассе), а также многониточные, когда параллельно основной нитке проложены вторая, третья и последующие нитки; кольцевые, сооружаемые вокруг крупных городов для увеличения надежности снабжения газом (нефтепродуктами) и равномерной подачи газа (нефтепродуктов), а также для объединения магистральных газопроводов в Единую газотранспортную систему страны.
Нефтепроводом принято называть трубопровод, предназначенный для перекачки не только нефти, но и нефтепродуктов. Когда хотят подчеркнуть, что перекачиваются именно нефтепродукты, то употребляют термин нефтепродуктопровод. В зависимости от вида перекачиваемого нефтепродукта трубопровод называют также бензинопроводом, керосинопроводом или мазутопроводом и т. д.
По своему назначению нефтепроводы делятся на три группы:
– внутренние (внутрипромысловые, внутризаводские и т. п.) – соединяют различные объекты и установки на промыслах, нефтеперерабатывающих заводах и нефтебазах;
– местные – по сравнению с внутренними имеют большую протяженность (до нескольких десятков километров) и соединяют нефтепромыслы или нефтеперерабатывающие заводы с головной станцией магистрального нефтепровода или с пунктами налива на железной дороге или наливные суда; магистральные – характеризуются большой протяженностью (до 1000 км и более), поэтому перекачка нефти (нефтепродуктов) производится одной или несколькими насосными станциями, расположенными по трассе, непрерывно (кратковременные остановки носят случайный характер или связаны с ремонтом).
Установлено четыре класса магистральных нефтепроводов и нефтепродуктопроводов в зависимости от условного диаметра труб: I класс – более 1000 мм; II класс – 1000 – 500 мм; III класс – 500 – 300 мм и IV класс – менее 300 мм.
Магистральным газопроводом называется трубопровод, предназначенный для транспорта газа из района добычи или производства в район его потребления или трубопровод, соединяющий отдельные газовые месторождения.
Ответвлением от магистрального газопровода называется трубопровод, присоединенный непосредственно к магистральному газопроводу и предназначенный для отвода части транспортируемого газа к отдельным населенным пунктам и промышленным предприятиям.
Устанавливаются два класса магистральных газопроводов в зависимости от рабочего давления:
I класс – газопроводы высокого давления (при рабочем давлении выше 2,5 МПа);
II класс – газопроводы среднего давления (при рабочем давлении 1,2 –
2,5 МПа).
Пропускная способность действующих однониточных магистральных газопроводов, зависящая от диаметра трубопровода, числа КС и давления на выходе станции, составляет 10 – 50 млрд. м3/год.