Для усиления сигналов переменного тока в схемах автоматики используются усилительные каскады с реактивными разделительными элементами - конденсаторами или трансформаторами. Поскольку питание осуществляется от источников постоянного тока, переменные токи и напряжения входных и выходных сигналов следует рассматривать как переменные составляющие суммарных токов и напряжений, накладывающиеся на постоянные составляющие. При этом амплитудные значения переменных составляющих не должны превышать определенных значений. Иначе возникнут искажения формы сигналов.
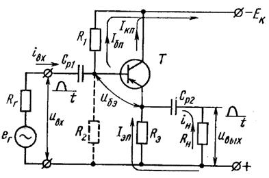
Основное распространение в качестве каскадов усиления напряжения получили каскады, в которых транзистор включен по схеме с общим эмиттером. Полярность коллекторного источника питания определяется типом транзистора. На схеме Рис. 52 использован транзистор р-n-p типа. Главной коллектиорной цепью, определяющей величину выходного напряжения, является цепь Ek - Rk - T - R э.
Для этой цепи можно записать:
Ek = Uk + Ik Rk + I э R э (7.1)
|
Остальные элементы образуют вспомогательные цепи. Конденсаторы Ср1, Ср2, Ср3 обеспечивают выделение переменной составляющей сигналов в соответствующих цепях. Ср1, кроме того, исключает протекание тока от источника Ек через источник входного сигнала и обеспечивает независимость напряжения U б в режиме покоя от внутреннего сопротивления источника входного сигнала.
Резисторы R 1 и R 2 используются для задания точки покоя, т.е. такого тока базы, при котором входной сигнал будет проходить через каскад без искажения формы. R 1 создает необходимый ток базы покоя I бп, а R 1 и R 2 совместно определяют величину U бп.
Резистор R э является элементом отрицательной обратной связи, предназначенным для температурной стабилизации режима покоя. Необходимость в этом возникает из-за тепловой зависимости I ко и b. Изменение I кп вследствие изменения I ко при колебаниях температуры вызовет изменение тока I эп, что приведет к изменению U бэп
U бэп = U бп - I эп R э.
U бэп при этом уменьшается, что приводит к уменьшению I бп и I кп соответственно. Сопротивление R э достаточно мало и в некоторых случаях не ставится.
Принцип действия каскада можно пояснить с помощью вольт-амперных характеристик. Проведем анализ каскада по постоянному току. На семействе коллекторных характеристик проводится прямая, соответствующая уравнению:
U к = E к - I к (R к + R э) (7.2)
Предполагаем, что I к = I э. Прямая линия строится по двум точкам: U к = E к, I к = 0; U к = 0, I к = E к / (R к + R э). Эту линию называют линией нагрузки. Точки ее пересечения с коллекторными характеристиками дают решение уравнения (7 - 1). По этим точкам можно найти I к, U к и URk.

Рис. 53.
Входная и коллекторные характеристики биполярного транзистора.
В качестве входной характеристики принимают усредненную зависимость I б = f (U б) (Рис.53,б), которая мало зависит от U к. Анализ удобно проводить с помощью переходной характеристики I к = f (I б), которая строится по точкам пересечения линии нагрузки с коллекторными характеристиками.
Начальную точку или точку покоя при U вх = 0, выбирают на середине линейного участка переходной характеристики. Подача переменного входного сигнала приведет к появлению переменной составляющей тока базы, а следовательно и тока коллектора. При этом очевидно, что
I к макс < (I кп - I ко) (7.3)
В этом случае не будет происходить искажения формы входного сигнала.
При определении переменных составляющих выходного напряжения каскада и коллекторного тока используют линию нагрузки по переменному току. Сопротивление каскада по переменному току равно
(7.4)
что меньше, чем R н = R к + R э. Линия нагрузки по переменному току пройдет через найденную точку покоя П. Строится она по отношению напряжений к токам:
R н пер = D U кэ /D I к (7.5)
Линия нагрузки по переменному току характеризует изменение мгновенных значений тока коллектора i к и напряжения на транзисторе u кэ. Траектория рабочей точки перемещается по линии нагрузки переменного тока. Работа без искажений формы сигнала достигается за счет соответствующей величины входного сигнала и правильного выбора точки покоя.
При расчете элементов каскада исходными данными являются U вых макс, I н макс, R н и мощность в нагрузке. Поскольку эти параметры связаны, достаточно знать только два из них, например U вых и R н. Максимальный ток коллектора определяется по соотношению
(7.6)
Для получения высокого коэффициента b принимают R к = (3 - 5) R н. По выбранному I кп находят I бп:
(7.7)
По входной характеристике транзистора определяют U бэп.
Ток эмиттера примерно равен I кп. Напряжение коллекторного питания
E к = U кэп + I кп R к + U эп (7.8)
где U эп = I э R э = I кп R э
E к не должно превышать предельное напряжение транзистора. Принимают U эп = (0,1 – 0,3) E к. Тогда
R э = U эп/ I кп. E к = (U кэп + I кп R к) /(0,7 – 0,9).
Иногда сопротивление R э не ставят.
При расчете элементов делителя R 1 и R 2 исходят из того, что он не должен оказывать шунтирующее действие на входную цепь (а это случилось бы, если принять R 1 и R 2 малыми).
Общее сопротивление параллельно соединенных R 1 и R 2 принимают равным (2 – 5) r вх = (2 –5) D U бэ /D I б. Тогда
;
; (7.9)
где I д = (2 – 5) I бп - ток делителя.
Транзистор выбирается по E к, I к макс, Р макс и частотным свойствам.
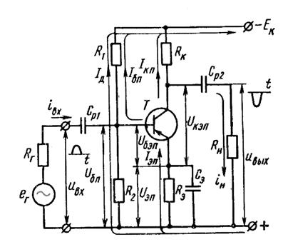
Коэффициенты усиления каскада, входное и выходное сопротивления его определяются при расчете по переменному току. При этом пользуются схемой замещения каскада (Рис. 54).
Сопротивление источника питания принимается равным нулю (именно поэтому в предыдущем расчете R 1 и R 2 принимались параллельно соединенными). Входной сигнал – синусоидальный. Токи и напряжения характеризуются действующими значениями (
). При этом входное сопротивление
(7.10)
где r вх = r б + (1 + b) r э. Исходя из реальных значений r б, b и r э, принимают
R вх = (1 - 3) КОм. Коэффициент усиления по току равен
(7.10)

Рис. 54. Схема замещения усилительного каскада.
Коэффициент усиления по напряжению равен:
(7.12)
Ku = (20 – 100)
Следует учесть, что каскад ОЭ осуществляет поворот фазы выходного сигнала на 180о по отношению к входному.
Коэффициент усиления по мощности равен
K р = P вых / P вх = Ku Ki = (0,2 – 5) 103
Выходное сопротивление равно:
(7.13)
Параметры схемы могут быть также определены с помощью h – параметров. Коэффициент усиления по напряжению можно рассчитать, используя схему замещения (Рис.55) и принимая R б >> h 11, I вх» I б, R н >> R к. Тогда получим:
(7.14)
Отсюда
(7.15)
С учетом реальных величин h 22 = 10-5 – 10-6 Ом, R k = 103 – 104 Ом, h 22 R k << 1. Поэтому Ku» - h 21 R k / h 11, где h 11 – входное сопротивление транзистора h 21 – коэффициент передачи тока.
Входное и выходное сопротивления каскада равны:
; 

Рис. 55. Схема замещения транзистора в h-параметрах
Порядок входного сопротивления – от сотен Ом до нескольких килоОём. Выходное сопротивление обычно больше входного, что предполагает использование высокоомной нагрузки.
В многокаскадных усилителях с конденсаторной связью нагрузкой промежуточного каскада является входная цепь последующего каскада. Число каскадов определяется по требуемому коэффициенту усиления. Рассчитывают каскады начиная с оконечного к первому, исходя из требуемых напряжения, тока и мощности на нагрузке.
Наличие в схеме усилителя конденсаторов и зависимость параметров транзисторов от частоты, приводят к необходимости учета полосы пропускания частот усилителя. Амплитудно-частотная характеристика этого усилителя имеет достаточно широкий частотный диапазон. При этом следует учитывать, что в схемах автоматики усилитель работает как правило при фиксированной частоте, отчего коэффициент усиления остается практически постоянным. В то же время, наличие емкостей может привести к фазовым искажениям, которые определяются фазо-частотными характеристиками усилителя. Фазовый сдвиг, создаваемый каскадом, может быть определен как j = - arc tg wtв, где w - рабочая частота, tв = tb + tк – эквивалентная постоянная времени; tb = 1/(2p f b) – примерно равна времени жизни носителей заряда в базе; f b -граничная частота;
(7.17)
Каскад по схеме ОК. В качестве каскада усиления тока находит применение схема с общим коллектором. Его работу можно проанализировать аналогично тому, как это было рассмотрено для схемы ОЭ.
Можно считать, что по переменному току входное напряжение подается между базой и коллектором, а выходное снимается с R э. Точка покоя

|
, (7.18)
где h 11 - входное сопротивление транзистора; h 21 = b, h 22 - выходная проводимость транзистора. Очевидно, что U вых < U вх. Коэффициент усиления по напряжению равен:
(7.19)
С учетом реальных величин параметров Ku» 1. Схема с ОК не дает усиления по напряжению и не меняет фазу входного сигнала. Входное сопротивление каскада
(7.20)
Это сопротивление составляет сотни кОм, больше, чем в схеме с ОЭ. Выходное сопротивление R вых» h 11/(1 + h 21) имеет величину нескольких десятков Ом. Коэффициент усиления по току равен примерно K i» (1 + b).
Для получения больших значений входных сопротивлений используется схема составного транзистора.
Рассмотренная схема называется эмиттерным повторителем и используется в качестве выходного согласующего каскада, позволяющего подключать низкоомную нагрузку.






