Линейные и круговые диаграммы (годографы)
При исследовании электрических цепей часто бывает, что какая-либо комплексная величина определяется уравнением вида:
; (7.27)
где 
- изменяющаяся комплексная величина с неизменным аргументом
и переменным модулем с (
). Геометрически величина
представляет собой сумму двух векторов в комплексной плоскости, один из которых постоянен -
, а другого -
неизменным остаётся направление, но изменяется длина. Для пояснения рассмотрим электрическую цепь, состоящую из двух последовательно соединённых приёмников (рис. 7.9).
![]() |
Пусть 
такое, что
, а
- изменяется. Комплексное сопротивление всей цепи

![]() |
Изобразим его на комплексной плоскости (рис. 7.10).
Модуль сопротивления
изменяется по линии АВ при неизменном аргументе
. Прямую АВ называют линией переменного параметра.
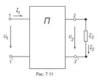
7.7.2 Круговые диаграммы четырёхполюсников

Рассмотрим схему с четырёхполюсником на рис. 7.11.
В четырёхполюснике зависимость между входным и выходным токами имеет линейный характер.
|
|
|
, (7.28)
где
и
- комплексные числа.
Определим эти коэффициенты.
Если ветвь
разомкнута (нагрузка
отключена - режим холостого хода), то
и
. Подставив эти значения в уравнение 7.28, запишем:
.
Если же ветвь
замкнута накоротко (режим короткого замыкания), то
и
. Поэтому
. (7.29)
Отсюда выразим коэффициент
:
. (7.30)
Подставив 7.30 и 7.29 в 7.28, получим:
. (7.31)
Если подать питание со стороны зажимов
, то при коротком замыкании ветви
получим ток:
, (7.32)
где 

Откуда
. (7.33)
Подставив 7.33 в 7.31, запишем следующее:
, (7.34)
где 
Для построения кривой диаграммы можно воспользоваться следующей последовательностью:
1. Откладываем вектор
в соответствующем масштабе
. На диаграмме направляем вдоль оси +1 (примем направление оси +1 вверх).
2. Определяем ток
при
, то есть при коротком замыкании на выводах приёмника.
3. Выбираем масштаб для тока
и откладываем вектор
(отрезок ОК на диаграмме) (примем для определённости ток
отстающим от напряжения
).
4. На отрезке ОК откладываем сопротивление
в масштабе
(на диаграмме
).
5. Из точки А под углом -
(так принято) к вектору
проводим линию переменного параметра АВ (Л.П.П.). Для определённости предположим, что
, то есть 
6. Из начала координат проводим прямую OD перпендикулярно АВ.
7. Находим центр С кривой диаграммы как точку пересечения прямой OD и перпендикуляра, восставленного в середине хорды ОК.
8. Циркулем проводим дугу диаграммы, ограниченную хордой ОК.
Пример круговой диаграммы предоставлен на рис. 7.12.
![]() |
Нахождение тока для любого значения 
Для нахождения тока
по прямой АВ необходимо отложить вектор
в соответствующем масштабе
. На диаграмме
- отрезок
.
|
|
|
Затем соединяем точки
и
между собой. Тогда вектор тока
будет являться отрезком
. Точка
- это точка пересечения отрезка
с окружностью.
При изменении сопротивления
от 0 до
точка
(конец вектора
) будет перемещаться от точки
до точки
по окружности.
Для нахождения активной мощности
при соответствующем токе
необходимо из точки
опустить перпендикуляр до пересечения с прямой
(то есть параллельно оси +1). Тогда:

Реактивная мощность в этом случае представляет отрезок
, параллельный оси +j (на диаграмме не показана).

Полная мощность на входе четырёхполюсника:



