Определение спекаемости
Сущность метода определения спекающей способности заключается в нагревании смеси испытуемого угля с песком при установленном температурном режиме и определении спекающей способности угля по степени пластичности размягченной угольной массы.
Для характеристики этого параметра определяют способность проникновения размягченных угольных зерен под воздействием внешней силы в пустоты между частицами угля и смешанного с ним мелкозернистого кварцевого песка.
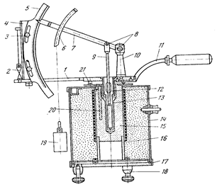
Рис. 20. Аппарат ИГИ для определения спекаемости угля
|
Спекающую способность определяют в аппарате ИГИ (рис. 20), состоящем из печи и съемной части.
Основная рабочая часть аппарата состоит из стаканчика (цилиндра), помещаемого в печь, рычага с грузом для воздействия на нагрузку и шкалы для отсчета показателей.
Съемная часть аппарата монтируется на станине 1, имеющей ручку 11 и ножки 21. На стойках 10 и 4 укреплены шкала 5 с отвесом 2 и рычаг 7 с грузом 19 и кулисой 6. С помощью винтов 3 шкалу можно передвигать. Рычаг штифтами 8 шарнирно соединен со стойкой и штемпелем 9. К съемной части относятся также и стаканчик 12, и трубка 18 со вставным донышком, куда помещается смесь испытуемого угля с песком. Трубка обогревается электропечью, состоящей из цилиндра 15 с обмоткой из нихромовой проволоки, уложенной на изоляционную прокладку из асбеста, установленного на подставке 16. Печь помещена в кожух 14 с асбестовой набивкой, покоящейся на подставке 17, имеющей установочные винты 18.
Температура печи контролируется с помощью термопары, помещаемой в углубление 20. Регулирование температуры осуществляется ползунковым реостатом.
Рис. 21. Детали к аппарату ИГИ:
1 – деталь для чистки трубки; 2 – трамбовка; 3 – воронка; 4 – шаблон; 5 - калибр
|
К аппарату ИГИ прилагаются детали (рис. 21): калибр для измерения рабочей части штемпеля, шаблон для проверки высоты загрузки испытуемой смеси угля и песка в трубке, трамбовка для установки донышка в трубку и его удаления, воронка для заполнения трубки смесью угля и песка и детали для ее очистки.
Рабочая часть штемпеля (шляпка) должна иметь диаметр в пределах (от 11,8 до 11,9 мм). Для проверки ее размеров пользуются калибром, имеющим соответствующие отверстия. Шляпка должна проходить через большее и не проходить через меньшее отверстие калибра.
Правильность градуировки шкалы аппарата, каждое деление которой должно отвечать подъему или опусканию штемпеля на 0,5 мм, проверяют с помощью шаблона. В трубку устанавливают донышко и шаблон, а саму трубку помещают в стаканчик. Установив штемпель на шаблоне, с помощью штифта прикрепляют его (штемпель) к рычагу, подвешивают груз и, передвигая шкалу, устанавливают ее так, чтобы стрелка рычага показывала нулевое деление.
Для испытаний угля на спекаемость можно применять любой чистый кварцевый песок с окатанными зернами. Подготовку песка осуществляют, освобождая его, прежде всего, от примесей глинистых веществ (путем отмучивания), а затем обрабатывают 10%-ным раствором соляной кислоты с последующей промывкой, высушиванием и прокаливанием. Чистый песок просеивают на стандартных ситах. Песок, проходящий через сито № 60 (класса 0,21 - 0,28 мм), собирают отдельно от песка, проходящего через сито № 80 и остающегося на сите № 100 (класс 0,16 - 0,21 мм).
Для работы оставляют песок, состоящий на 60±5% из класса 0,21 - 0,28 мм и 40 - 35% из класса 0,16 - 0,21 мм.
В навеску для испытания берут 5,86 мл песка (в указанном объеме стандартный песок весит 8,5 г). Чтобы проверить эти величины, в сухую бюретку объемом 25 мл засасывают 15 мл воды, всыпают и нее немного песка и легким постукиванием по бюретке выравнивают уровень песка по одному из нижних делений бюретки, после чего добавляют в 6юретку 8,5 г испытуемого песка (взвешенного с точностью до 0,0002 г). Через 2 - 3 ч, когда песок осядет, отмечают верхний и нижний уровни взятой навески, получая объем V, занимаемый 8,5 г испытуемого песка. Вес песка G, соответствующий 5,86 мл, будет
G =8,5´5,86/V, г.
Отвешивают на технических весах 1,8 г (с точностью до 0,002 г) измельченного до крупности 0,28 мм воздушно-сухого угля и смешивают в фарфоровой чашке с песком.
С помощью шаблона устанавливают стрелку рычага на нулевое деление шкалы, вынимают трубку, извлекают из нее шаблон и через воронку всыпают приготовленную смесь (площадь сечения трубки в этом случае должна быть точно в пределах 1,12 - 1,18 см). Трубку опускают в стаканчик и вставляют в нее штемпель.
Печь разогревают и поддерживают в ней не менее 5 мин температуру 500 - 5050 С, после чего съемная часть аппарата устанавливается на печи в рабочем положении (трубка с навеской смеси угля и песка опущена в стакан).
При достижении температуры размягчения угля происходит, ввиду пластической деформации его и проникновения размягченной угольной массы в пустоты между частицами песка, уменьшение объема углепесочной смеси в трубке и штемпель с рычагом постепенно опускаются. Испытание продолжают до прекращения движения рычага, примерно 15 мин.
Отмечая начальное Н и конечное К деления по шкале, определяют спекающую способность угля:
Cn =К - Н.
При расхождении результатов двух параллельных определений спекающей способности угля более 10% опыт повторяют.
Антрациты и тощие угли практически почти не обладают спекающей способностью. Определенная этим методом спекающая способность коксующихся углей обычно колеблется в пределах 13 - 30 единиц.
Разгрузку аппарата и очистку трубки производят следующим образом.
Отъединяют от печи съемную часть аппарата и устанавливают ее на отдельный штатив. Отключают рычаг и выключают трубку вместе со штемпелем. Когда штемпель охладится, из трубки с помощью чистилки извлекают спекающуюся смесь, а трамбовкой выталкивают доныщко. Изогнутой чистилкой очищают внутреннюю поверхность трубки, вставляя в прорезь чистилки наждачную бумагу. Тщательно очищают и другие детали аппарата.
Для определения спекающей способности многозольных углей (А0 ³ 15%) их предварительно обогащают в растворе хлористого цинка, затем промывают и сушат до воздушно-сухого состояния.
Рис. 20. Аппарат ИГИ для определения спекаемости угля
Рис. 21. Детали к аппарату ИГИ:
1 – деталь для чистки трубки; 2 – трамбовка; 3 – воронка; 4 – шаблон; 5 - калибр






