Контрольные вопросы
- Каким образом рассчитывается сепаратор гравитационного типа?
- К чему сводится технологический расчет насадочных сепараторов?
УСТАНОВКИ ПОДГОТОВКИ ПРИРОДНОГО <ОГ11^
- И НЕФТЯНОГО ГАЗОВ К ПРОЕКТИРОВАНИЮ
о ' _...:.. •
При контакте газа, имеющего высокое давление, с водным конденсатом образуются гидраты, которые, отлагаясь на стенках газопровода, уменьшают его пропускную способность, а в некоторых случаях иногда приводят к полному прекращению подачи газа. Для борьбы с гидратами эти га-., зы осушают от паров воды.
ГИДРАТЫ И БОРЬБА С НИМИ
Предельное содержание водяных паров при данной температуре назы_ вается точкой росы.Если содержание водяных паров превышает этот предел, то начинаеися их конденсация, т.е. переход в жидкое состояние.;,
Различают абсолютную и относительную влажность газа. Под абсолютной влажностью понимают массовое количество водяных паров, содержащихся в 1 мз газа при нормальных условиях, выражается в г\ мз или в кг на 1000 мз газа. Под относительной влажностью понимается отношение фактически содержащегося в газе водяного пара к максимально возможному при данных температуре и давлении. Влажный газ называется насыщенным, когда он содержит максимально возможное количество водяного пара.
Углеводародный и водный конденсат в пониженных местах газопровода образуют жидкостные пробки, кроме того могут образовывать гидраты.
Гидраты по внешнему виду похожи на рыхлый снег, подставляют собой физико- химическое соединение воды с углеводородными и неуглеводо- -родными газами. Гидраты углеводородных газов СН4-6Н2О неуглеводородных: Н25-6Н2О.
Гидраты природных газов- смешанные гидраты. Наличие в газе Н23 и СО2 понижает равновесное давление гидратообразования.
Условия образования смешанных гидратов зависят от состава газа. Чем выше плотность газа, тем выше, как правило, температура гидратообразования. Если снизить содержание паров воды в газе до такого значения.что парциальное давление водяного пара станет меньше упругости паров гидрата, то последний не сможет образоваться.
Вероятность образования гидратов увеличивается с повышением давления и снижением температуры газа. Гидраты могут образоваться на всем пути движения газа. Они способны образовываться при температурах значительно выше нуля (до +22 С).
Борьба с гидрообразованием проводится как по линии предупреждения образования, так и в направлении ликвидации уже образовавшихся гидратов.
Гидраты можно ликвидировать следующими способами: 1) Отключить участок газопровода, где образовались гидраты, и через
продувочные свечи выпустить газ в атмосферу.недостаток медленное разложение гидратной пробки, нельзя рекомендовать при отрицательных температурах.
2) Подогрев газа педотвращает образование гидратов, но он может быть эффективен только в пределах промысла, так как гах быстро охлаждается, целесообразно шлейфы теплоизолировать.
3) Введение ПАВ, образующих на кристаллах гидратов пленки, предотвращает прилипание их к стенкам труб.
4) Самым эффективным методом для предупреждения и ликвидации уже образовавшихся гидратов является подача в газороводы различных ингибиторов гидратообразования: метиловый спирт(метанол- СНЗОН), глико-ли (диэтиленгликоль ДЭГ).
При выборе ингибитора гидратообразования определяющими критериями являются стоимость, способность понижать равновесную температуру гидратообразования, растворимость в воде и температура замерзания водных растворов, вязкость и поверхностное натяжение, летучесть паров, возможность регенерации, взаиморастворимость с газом и углеводородным конденсатом, токсичность.
ОСУШКА ПРИРОДНОГО ГАЗА И ВЫДЕЛЕНИЕ КОНДЕНСАТА ВСЛЕДСТВИЕ ДРОССЕЛЬ-ЭФФЕКТА
Большинство месторождений природного газа имеет высокие пласто- ч вые давления, до 60 МПа.Высокое начальное давление используется для получения холода и выделения вследствие этого водяного и углеводородного конденсата из газа.
Холод при высоких давлениях получают на установках низкотемпературной сепарации (НТС). В установках НТО отрицательные температуры создаются в результате дросселирования (понижение давления) газа высокого давления.
Установка НТС работает следующим образом. Газ под высоким давлением по шлейфам 1 поступает или в замерный сепаратор 2, или в сепаратор первой ступени 4, в которых освобождается от сконденсировавшейся по пути воды. На выходе из замерного сепаратора 2 количество газа измеряется диафрагмой 3, а уловленная вода сбрасывается в канализацию. -Газ из первой ступени сепаратора 4 направляется в теплообменник 5, а вода также сбрасывается в канализацию. В теплообменнике 5 горячий газ охлаждается холодным газом, поступающим из низкотемпературного сепаратора 9 по теплоизолированному газапроводу 6. Предварительно охлажденный газ высокого давления затем проходит в сепаратор 7, где из него отделяется углеводородный конденсат, направляемый в разделительную емкость 12. Для предотвращения образования гидратов в теплообменнике 5 в поток газа поршневым дозировочным насосом 14 нагнетается ДЭГ. Предварительно охлажденный газ высокого давления после сепаратора 7 поступает в регулируемый штуцер &, и давление газа снижается до давления максимальной конденсации, в результате чего резко понижается его температура. Осушенный газ поступает в газопровод 10.
Рис. Технологическая схема НТС на газосборном пункте

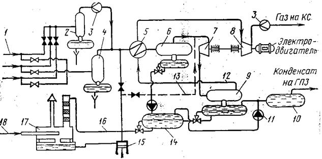
ОСУШКА ПРИРОДНОГО ГАЗА И ВЫДЕЛЕНИЕ КОНДЕНСАТА ЗА СЧЕТ ХОЛОДА, ПОЛУЧАЕМОГО В ДЕТАНДЕРАХ
Бывают винтовые и турбинные детандеры.
Работает НТО с применением детандеров следующим образом. Газ из скважин с давлением 6-12 Мпа по шлейфам 1 подается в пряточный сепаратор 2 для замера расхода газа диафрагменной шайбой 3 или поступает в сепаратор первой ступени 4. Из сепаратора 4 теплый газ направляется в теплообменник 5, в котором предварительно охлаждается холодным газом, подаваемым по линии 12 из низкотемпературного сепаратора 9. Охлажденный газ вместе с выпавшим в теплообменнике конденсатом 5 направляется в сепаратор второй ступени 6, где происходит их разделение. Из сепаратора 6 газ поступает в детандер 7 и как рабочий агент вращает турбину, в результате чего температура этого газа резко падает.
Низкотемпературный газ из детандера 7 направляется в сепаратор 9,в котором из охлажденного газа выделяется большое количество углеводородного конденсата.
Рис.Осушка природного газа и выделение конденсата за счет холода,получаемого в детандерах.

Конденсат собирается в конденсатосборнике 10. Охлажденный газ из сепаратора 9 по газопроводу 12 направляется в межтрубное пространство теплообменника 5, после которого поступает на винты компрессора 8, там давление газа повышается на 30%, и этот газ, осушенный и освобожденный от конденсата, направляется на дожимную или головную компрессорную станцию (КС). Для борьбы с гидратообразованием в трубы теплообменника 5, сепаратор 6, а также детандер 7 подается по линии 13 в систему раствор ДЭГ, который, проходя по линии 16 через промежуточную емкость 14, регенерируется (освобождается от воды) на установке 17,куда по линии 18 подается топливный газ.
я о;
АБСОРБЦИОННЫЕ МЕТОДЫ ОЧИСТКИ щ д?
УГЛЕВОДОРОДНЫХ ГАЗОВ
.-.......'- _....,. "1 '.
-' Для извлечения N28 и СО2 из природного и нефтяного газов используют свыше 20 различных абсорбционных методов. В качестве абсорбентов для поглащения из газа N28 и СО2 наибольшее распространение получили водные растворы этаноламинов: моноэтаноламина МЭА, диэтанола-мина ДЭА.
Наиболее широко применяется МЭА, благодаря его повышенной поглотительной способности и доступности. Недостаток - самая высокая упругость пара, а следовательно, значительными потерями его при регенерации.
Растворы МЭА склонны к вспениванию.
Сырой газ, поступающий на очитку проходит сначала сепаратор 1, а затем напаравляется в нижнюю часть абсорбера 2. Верхняя часть абсорбера 2 на тарелки 3 подается насосом 13 охлажденный в теплообменнике 6 и холодильнике 5 регенерированный раствор МЭА. Раствор МЭА и газ, движется через тарелки абсорбера на встречу друг другу. Очисченный от Н28 и СО2 газ проходит отбойную насадку (жалюзи) 4 и направляется в компрессорную для подачи в магистральный газопровод. Насыщенный газами Н28 и СЮ2 раствор МЭА из нижней части абсорбера 2 забира^ гея насосом Ш и прогоняется через теплообменник 6, в котором предварительно нагревается горячим регенерированным раствором МЭА, подаваемым насосем 8 из десорбера 10. После теплообменника 6 раствор МЭА поступает в пароперегреватель (рибойлер) 7, из которого с температурой около 125 С разливается на тарелки десорберз.
Рис. Принципиальная технологическая схема установки очистки газа от НаЗ и СОа растворами МЭА,

Избыток воды и растворенный сероводород и угле кислый газ быстро испаряются и выходят через верх десорбера в холодильник 9. Здесь пары моноэтаноламина конденсируются и поступают в сепаратор 11, а газы №3 и СО2 поступают в специальные установки для получения из сероводорода элементарной серы. Сконденсированный моноэтаномиламин из сепаратора 11 забирается насосом 13 и вновь нагнетается в верхнюю часть десорбера 8, что предотвращает его потери. о
Регенерированный моноэтаноламин из нижней части десорбера забирается насосом 14 и через теплообменник 6 и холодильник 5 вновь подается на тарелки 3 абсорбера 2. ^
ОСУШКА"и"ВЫДЕЛЕНИЕ КОНДЕНСАТА из ПРИРОДНОГО ГАЗА
....... НА АДСОРБЦИОННЫХ УСТАНОВКАХ
,», * < С;,' • л*»-••
,я Осушку и выделение конденсата из природного газа можно осуществлять на адсорбционных установках, т.е. установках, в которы пары воды и тяжелые углеводороды поглощаются твердыми сорбентами при обычных температурах газа /15-40 °С/. Отделение паров воды и выделение конденсата из газа могут быть настолько полными,.что в газопроводах не будут образовываться ни гидратные, ни конденс'ат-ные пробки даже при отрицательных температурах /-50 °^Д
К наиболее эффективным твердым сорбентам относятся селикаге активированный уголь, цеолиты. Адсорбент, поглощая вначале высококипящие углеводороды С^+высшие, а затем низкокипящие Сд. С^.'н сыщается, и может наступить такой момент, когда указанные углево дороды не будут поглощаться, не задерживаясь в нем. Этот момент^ фиксируется автоматическими анализаторами и колонна своевременно переключается на десорбцию, т.е. регенерацию - извлечение углево дородного конденсата из сорбента данной колонны. ^
За последнее время получили широкое распространение коротко цикловые адсорбционные установки КЦА для извлечения из газа бенэ нового конденсата и пропан-бутанов. Длительность циклов /поглоще ние - десорбция/ таких установок доводится иногда до 20-30 минут вместо 8-12 часов обычных установок. „,.,.,.....,
ОДОРИЗАЦИЯ- ГАЗА
' - _ - Т'-1.-..''""• ' • и * •-' - -. •'' -.' ••• '•••- ' ' •''• • '
Негерметичность системы сбора газа на промыслах и магистральных газопроводах определяется с помощью специальных добавок к газу, называемых одорантами. При добавлении к газу одоранта газ приобретает сильный специфический запах, по которому определяется место утечки.,,,_../-•,...,.-...:.... >......._,.-,„.•*-. г
В качестве одоранта чаще всего применяют этилмеркаптан - бесцветную прозрачную жидкость, представляющую собой соединения серы. Рекомендуемая норма расхода зтилмеркаптана - 1 6 г на 1000 м газа. Для ввода одоранта в газопровод применяют специальные'автоматические устройства', работающие в зависимости от расхода газа. Одоризированный газ, проходя по трубам значительные расстояния, приходит к потребителям с начальной степенью одоризации.
ОСУШКА ПРИРОДНОГО ГАЗА И ВЫДЕЛЕНИЕ КОНДЕНСАТА ЛРИ ПРИМЕНЕНИИ
ХОЛОДА, ПОЛ/ЧАЕМОГО з холодалыш МАШИНАХ
Холодильные машины на газоконденоатных месторождениях применяются в тех случаях, когда дроссель-эффект не может обеспечить необходимой точки росы газа. Осушку и выделение конденсата из газа с применением искусственного холода можно осуществлять как на компрессионных, так и на абсорбционных установках. На отечественных месторождениях применяются пока только компрессионные холодильные машины. Лропановая холодильная установка работает по схеме двух ступенчатого сжатия паров пропана.
КОМПРЕССОРНАЯ ОБРАБОТКА НЕФТЯНОГО ГАЗА
Нефтяной газ с первой ступени сепарации 0,6 МПа под собственным давлением подается на ШЗ для выделения из него широкой фракции углеводородов. Для утилизации нефтяного газа, получаемого со второй и третьей ступени сепарации, требуются компрессорные станции с двумя или тремя ступенями сжатия или эжекторная установка.
Нефтяной газ по линии 1, идущей от второй и третьей ступеней сепарации, направляется на прием первой ступени компрессора. После сжатия газ проходит сначала маслоотделитель 2, затем холодильник 7 и направляется в сепаратор 10, где отделяется от выпавшего в холодильнике 7 углеводородного конденсата. Из сепаратора 10 газ поступает на вторую ступень компрессора, и порядок движения его повторяется.
При сжатии газа в ступенях компрессора он нагревается, а при охлаждении его в холодильнике - выпадает конденсат, который затем по линиям 1, П и Ш направляется сначала в общий конденсатосборник, а из него забирается насосом и транспортируется на ШЗ.
С помощью этого метода невозможно полностью извлечь широкие фракции углеводородов, поэтому предварительно "обезжиренный" газ с этой установки направляется на маслоабсорбционную установку.
КОМПРЕССОРА, ПРИМЕНЯЕМЫЕ ДЛЯ ОБОРА И ТРАНСПОРТИРОВАНИЯ ГАЗА
На газовых и газоконденсатных месторождениях применяются центробежные газоперекачивающие агрегаты ГПА больших мощностей 4000-26 000 кВт, с большими подачами 13-53 млн. м /сут и большими числами оборотов 2600-20400 мин. Центробежные ГПА выпускаются двух типов: с газотурбинным приводом, работающие за счет сжигания газа в специальной камере, и с приводом от электродвигателей разных марок и мощностей.
На подземных хранилищах газа в основном применяются поршневые компрессоры 10ГКМ или 10ГКН, рассчитанные на небольшую подачу 0,17-0,59 м /сут, но сравнительно высокие давления на выкиде 0,6-12,5 МП,
Когда давление на устьях добывающих скважин становится ниже 5,5 МПа на газовых и газоконденсатных месторождениях применяют до-жимные компрессорные станции ДКС.
При газовом режиме эксплуатации залежи, давление в ней и в каждой точке на пути движения газа до ДКС уменьшается. Однако давление в начале магистрального газопровода, идущего от месторождения, должно быть постоянным. Таким образом, в период компрессорной эксплуатации при постоянном отборе газа из залежи давление на приеме ДКС будет уменьшаться, а степень сжатия газа будет непрерывно увеличиваться. Поэтому при постоянном отборе газа в этих условиях будет увеличиваться как число ступеней сжатия газа, т.е. число ком-рессоров, работающих последовательно, так и число компрессоров, работающих параллельно в одной ступени, В конце периода компрессорной эксплуатации залежи с постоянным темпом отбора газа общее число компрессоров может быть значительным. г
Краткое содержание:
Ø Как и в каком возрасте закладываются основы нашего характера.
Ø Природные потребности человека. Что происходит, если они не удовлетворяются? Причины появления ложных потребностей.
Ø Нет пророка в своем отечестве (семье). Что такое внушаемость и самость, и почему дети к родителям прислушиваются меньше чем к другим людям? Принципы воспитания ребенка «счастливой судьбы».
Ø О состоянии согласия и к чему оно обязывает. Что такое согласие с самим собой и с миром. Нет согласия – нет любви. Правило «золотой семьи».
Ø Ключевые законы жизни человека и почему большинство «умирает», а не покидает этот мир по своему решению. Что такое старение в действительности?
Ø Незнание закона – не освобождает от ответственности или почему нам не хватает благосостояния, здоровья и счастья? Узнайте причины и Вы получите возможность эффективно улаживать проблемы своей жизни.
Ø Насколько Вы свободны в выборе своего жизненного пути? Есть ли обстоятельства мешающие реализовывать Вам свои самые смелые и сокровенные мечты? Вместе, общаясь, мы проявим истинные причины возникновения «непреодолимых» преград и возможности их «растворения».
Ø Как уже сейчас помочь себе и близким Вам людям формировать свою судьбу на основе успеха, взаимопонимания, радости и счастья.






