

Для дозирования фенолов следует применять весовые мерники изготовленные из железа или стали. Для дозирования альдегидов следует применять весовые мерники изготовленные из меди или алюминия для формалина. На небольших заводах у реакторов устанавливают мерники для каждого вида сырья, на больших заводах применяют автоматический развес и разлив сырья по всем реакторам.
Из-за повышенной взрывопожарной опасности растворителей все электроприемники, измерительные и регулирующие приборы, расположенные во взрывоопасных помещениях, должны отвечать специально разработанным предписаниям и нормам по взрывобезопасности, причем каждый электрический элемент применяют только во взрывобезопасном исполнении с обязательным свидетельством.
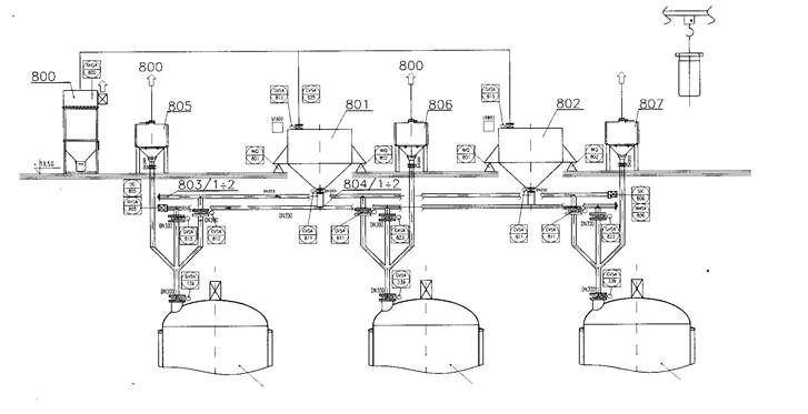
На Рис.1 показана принципиальная схема загрузки исходных компонентов при производстве пленкообразующих.



Рис. 1. Принципиальная схема загрузки исходных компонентов при производстве пленкообразующих.
Определение расхода:






