АГЗУ их типы, технические характеристики.
Для автоматического измерения дебита скважин при однотрубной системе сбора нефти и газа, для контроля за работой скважины но наличию подачи жидкости, а также для автоматической или по команде с диспетчерского пункта блокировки скважины или установки в целом при возникновении аварийных ситуаций применяют блочные автоматизированные групповые замерные установки, в основном двух типов: «Спутник А» и «Спутник Б».
Примеры модификации установок первого типа: «Спутник А-16-14/400», «Спутник А- 25 -10/1500», «Спутник А-40-14/400».
В указанных шифрах первая цифра обозначает рабочее давление в кгс/см2, на которое рассчитана установка, вторая - число подключенных к групповой установке скважин, третья - наибольший измеряемый дебит в м3/сут.
«Спутник А» состоит из двух блоков: замерно-переключающего блока, КИП и автоматики.

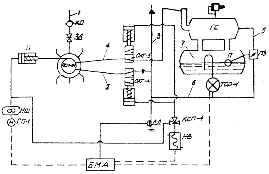
Принципиальная схема автоматизированной групповой замерной установки «Спутник А»
Продукция скважин по выкидным линиям 1, последовательно проходя обратный клапан КО и задвижку ЗД, поступает в переключатель скважин типа ПСМ‑1М, после которого по общему коллектору 2 через отсекатель ОКГ-4 попадает в сборный коллектор 3, подключенный к системе сбора.
В переключателе ПСМ-1М продукция одной из скважин через замерный отвод 4 с отсекателем ОКГ-3 направляется в двухъемкостный замерный гидроциклонный сепаратор ГС, где газ отделяется от жидкости. Газ по трубопроводу 5 проходит через поворотный затвор ЗП, смешивается с замеренной жидкостью и по трубопроводу 6 поступает в общий сборный коллектор 3.
Отделившаяся в верхней части газосепаратора ГС жидкость поступает в нижнюю емкость и накапливается в ней. По мере повышения уровня нефти поплавок П поднимается и по достижении верхнего заданного уровня воздействует на поворотный затвор, перекрывая газовую линию 5. Давление в сепараторе повышается и жидкость из сепаратора начинает вытесняться через счетчик расхода ТОР-1. При достижении жидкостью нижнего уровня ЗП открывает газовую линию, давление в сепараторе падает, и начинается новый цикл накопления жидкости в нижней емкости.
Измеряемый дебит скважины (в м3) фиксируется электромагнитным счетчиком блока управления. Сигналы на этот блок поступают от счетчика ТОР-1 [8].
Переключение скважин на замер осуществляется блоком управления периодически. Длительность замера определяется установкой реле времени. При срабатывании реле времени включается электродвигатель гидропривода ГП-1, и в системе гидравлического управления повышается давление. Гидроцилиндр переключателя ПСМ-1 под воздействием давления гидропривода ГП-1 перемещает поворотный патрубок переключателя, и на замер подключается следующая скважина.
Продолжительность замера устанавливается в зависимости от конкретных условий - дебита скважины, способов добычи, состояния разработки месторождения.
В установке «Спутник А» турбинный счетчик расхода одновременно служит сигнализатором периодического контроля подачи скважины. При отсутствии подачи скважины, поставленной на замер, блок местной автоматики выдает аварийный сигнал в систему телемеханики об отсутствии за определенный период сигналов от счетчиков ТОР-1.
Аварийная блокировка скважин в установке происходит при давлении в общем коллекторе выше допустимого. В этом случае датчик давления ДД, установленный на общем коллекторе, воздействует на клапан КСП-4, давление в системе гидравлического управления отсекателей ОКГ-З и ОКГ-4 падает, и они перекрывают трубопроводы 2 и 4.
Срабатывание отсекателей приводит к повышению давления в переключателе ПСМ-1 и выкидных линиях и к остановке скважин: фонтанных - за счет отсекателей, установленных на выкиде; механизированных - за счет отключения электропривода.
На установках типа «Спутник Б» принцип измерения продукции скважин тот же. Примеры обозначения их модификаций: «Спутник Б-40-14/400», «Спутник Б‑40‑24/400». Первая модификация рассчитана на подключение 14 скважин, вторая - 24.
В отличие от «Спутника А» в «Спутнике Б» предусмотрены: возможность раздельного сбора обводненной и не обводненной продукции скважин, определение содержания воды в ней, измерение количества газа, а также дозирование химических реагентов в поток нефти и прием резиновых шаров, запускаемых на скважинах для депарафинизации выкидных линий.
Для измерения количества продукции малодебитных скважин находят применение: установки типа БИУС-40; «Спутник АМК-40-8-7,5; АСМА; АСМА‑СП‑40-8-20; АСМА-Т; Микрон» и др.

Рис. XI. 4. Принципиальная схема установок Спутник-А и Спутник А-40.
1 — многоходовой переключатель скважин ПСМ-1М; 2 — блок местной автоматики (БМА); 3, 4 — отсекатели коллекторов; 5, 5а — соответственно электропривод и гидравлический привод; 6 — гидроциклонный сепаратор; 7 — заслонка; 8 — турбинный счетчик; 9 — электроконтактный манометр; 10 — регулятор уровня; // — сборный коллектор; 12 — замерная линия; 13 — силовой цилиндр; 14 — каретка переключателя.
Спутники-А выпускаются на максимальную производительность скважины по жидкости 400 т/сут при вязкости жидкости не более 80 мм2/с = 80-10-вм2/с (80 сСт). Общая производительность установки по газу 200 000 м3/сут.
При указанных выше параметрах паспортная погрешность измерения дебита жидкости Спутником-А колеблется в пределах ±2,5%.
Габаритные размеры замерно-переклю-чающего блока 3200 X 6000 X 2780 мм, БМА — 2200 X 3000 X 2680 мм. Масса замерно-переключающего блока 8000 кг, БМА — 2000 кг.
Блоки Спутников-А, как отмечалось выше, могут быть обогреваемыми и поэтому они рассчитаны для применения на нефтяных месторождениях Западной Сибири и Коми АССР.
К недостаткам Спутника-А следует отнести невозможность раздельного сбора чистой и обводненной нефти и невысокую точность измерения расхода жидкости при больших дебитах скважин расходомером турбинного типа вследствие плохой сепарации газа от нефти в гидроциклонном сепараторе и попадания в счетчик вместе с жидкостью пузырьков газа.
Спутник-В предназначен для тех же целей, что и Спутник-А, однако работает он на совершенно другом принципе. Расход жидкости в Спутнике-В определяется с помощью взвешивания ее в тарированной емкости.
Схема Спутника-В, разработанного Грозненским филиалом ВНИИКАНефтегаз, приведена на рис. XI. 5.
Измерение продукции скважин с помощью Спутника-В проводится следующим образом.
Нефтегазовая смесь от скважины подается в распределительную батарею / и далее через трехходовой клапан 4 может направляться или в линию 5 для измерения расхода жидкости и газа в сепараторе 10 или в линию 6, общую для безводной нефти, поступающей со всех скважин. Как обводненные, так и безводные скважины переключаются на замер автоматически через определенное время при помощи БМА и трехходовых клапанов 4. Количество жидкости, попавшей в сепаратор 10, измеряется при помощч. оттарированной емкости 14, гамма-датчиков 9, подающих сигнал об уровнях жидкости на БМА, и плоской оттарированной пружины 15. Дебит жидкости определяется путем измерения веса жидкости, накапливаемой в объеме между гамма-датчиками верхнего и нижнего уровней 9, и регистрации времени накопления этой жидкости.

Рис. XI. 5. Принципиальная схема установки Спутник-В.
/—распределительная батарея; 2— емкость улавливанияшаров; 3— штуцеры; 4 — трехходовые клапаны; 5 —за мерная линия; 6 — трехходовые краны; 7—коллектор обводненной нефти; 8 — коллектор безводной нефти; 9 — гамма-датчики нижнего и верхнего уровня жидкости; 10 — сепаратор; // — диафрагма; 13 — заслонка; 13 — сифон; 14 — тарированная емкость; 15 — тарированная пружина; 16 - равнопроходные задвижки.
Недостатком Спутника-В является ограниченная возможность применения его для измерения дебитов парафинистой нефти, так как отложения парафина в тарированной емкости 14 влияют на результаты измерения вследствие изменения веса измеряемой жидкости.
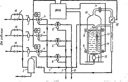
Спутником-Б40, разработанным Октябрьским филиалом ВНИИКАНефтегаз, можно измерять раздельно дебиты обводненных а необводненных скважин. Для этого поступают следующим образом. Если, например, две скважины т (рис. XI. 6) обводнялись, а остальные 12 скважин, подключенных к Спутнику-Б40, подают чистую нефть, то прикрывают вручную специальные обратные клапаны 1 и продукцию обводненных скважин через задвижки 2 направляют в 150-мм коллектор 16, а из него — в сборный коллектор 3 для обводненной нефти. Продукция скважин, подающих чистую нефть, направляется в емкость многоходового переключателя скважин ПСМ, из которой она поступает в 150-мм коллектор 16а и далее в сборный коллектор необводненной нефги 13. Для предотвращения смешения обводненной и необводненной нефти установлены задвижки 14 и 15; последняя всегда находится в закрытом состоянии, а задвижка 14 — открыта.
Жидкость из скважины, подключенной на замер, направляется из ПСМ в головку гидроциклонного сепаратора 4, в котором газ отделяется от жидкости. На выходе газа из гидроциклонного сепаратора установлен регулятор перепада давления 5, который поддерживает постоянный перепад между сепаратором, 100-мм газовым коллектором и турбинным счетчиком газа 5а типа АГАТ-1. Технические данные счетчика АГАТ-1 приведены в табл. XI. 2.
Постоянный перепад давления передается золотниковым механизмам 6 и 6а, от которых также отводится постоянный перепад давления на поршневой клапан 9. Измерение дебита жидкости подключенной на замер скважины проводится следующим образом.
Когда поплавок 7 уровнемера находится в крайнем нижнем положении, верхняя вилка поплавкового механизма нажимает на верхний выступ золотника 6, в результате чего повышенное давление от регулятора 5 передается на правую часть поршневого клапана 9 и прикрывает его. При этом прекращается подача жидкости, турбинный расходомер 8 не работает, уровень жидкости в сепараторе повышается. Как только он достигает крайнего верхнего положения и нижняя вилка поплавкового механизма нажимает на выступ золотника 6а, повышенное давление от регулятора 5 действует на левую часть поршневого клапана д и открывает его. Турбинный расходомер 5 отсчитывает количество прошедшей через него жидкости.
Для определения обводненности нефти на Спутнике-Б40 имеется влагомер 10. После влагомера жидкость направляется в 75-мм коллектор, в который подается также после предварительного замера газ на смешение с жидкостью. Вся продукция подключаемых на замер скважин поступает в коллектор обводненной нефти, поэтому задвижка 12 всегда находится в открытом, а задвижка // в закрытом состоянии.
Время накопления жидкости в сепараторе и количество импульсных пропусков жидкости через турбинный расходомер за время замера зависят от дебита скважины, однако расход жидкости через расходомер от дебита не зависит. Такой метод повышает точность и расширяет пределы измерения.