Магнитным пускателем называется контактор, предназначенный для пуска в ход асинхронных двигателей с короткозамкнутым ротором.
Конструкция и схема включения пускателя. Наибольшее распространение получили пускатели серий ПМЕ и ПА. На рис.13 представлен магнитный пускатель серии ПМЕ.
Учитывая облегченные условия работы пускателя при отключении, возможно, используя двукратный разрыв цепи, отказаться от применения громоздких дугогасительных устройств в виде решетки или камеры магнитного дутья. Широко применяются торцевые контакты с металлокерамикой. Подвижный контакт 1 выполняется мостикового типа с самоустанавливанием. Токоведущие шинки 3 от зажимов к неподвижным контактам 4 выполняются таким образом, чтобы электродинамические силы сдували дугу с контактов.
Прямоходовой электромагнит имеет Ш-образный сердечник 5 и якорь 6. Возврат пускателя в исходное положение происходит за счет пружины 7. Короткозамкнутый виток 8 расположен на двух крайних стержнях сердечника. Якорь электромагнита 6 связан с изоляционной траверсой 9, несущей подвижные контакты 1 с контактными пружинами 2. Траверса 9 движется в направляющих 10, являющихся частью литого корпуса 11. Пускатель может иметь пять главных и два вспомогательных контакта 12. Основной особенностью электромагнитного механизма является равенство ходов контакта и якоря электромагнита. Такая система имеет ряд недостатков, которые ведут к большому времени вибрации контактов (более 1 мс) и их быстрому износу. В современных пускателях такая система применяется только при малых мощностях двигателей (номинальный ток 25 А).
|
|
|
При токах, больших 25 А, хорошо себя зарекомендовала система пускателей серии ПА, в которой ход контакта примерно в 2,5 раза меньше, чем ход якоря электромагнита. Для защиты двигателя от перегрузки в двух фазах устанавливаются тепловые реле. В некоторых типах пускателей, например в серии П, тепловые реле расположены на одной панели с контактором. Реле типа ТРП и ТРН монтируются вне контактора пускателя.
Схема включения нереверсивного пускателя показана на рис14. Главные (линейные) контакты Л включаются в рассечку проводов, питающих двигатель. В проводах двух фаз включаются также нагревательные элементы
Рис.13. Пускатель серии ПМЕ
тепловых реле ТРП1 и ТРП2. Катушка электромагнита К подключается к сети через размыкающие контакты тепловых реле Т° и кнопки управления. При нажатии кнопки Пуск напряжение на катушку подается через замкнутые контакты 1—2 кнопки Стоп и замкнутые контакты тепловых реле Т°. После притяженияякоря электромагнита замыкается блок-контакт БК, шунтирующий контакты 3—4 кнопки Пуск. Это дает возможность отпустить пусковую кнопку. Для отключения пускателя нажимается кнопка Стоп. При перегрузке двигателя срабатывают тепловые реле, которые разрывают цепь катушки К. Якорь электромагнита отпадает. Происходит отключение пускателя.
|
|
|

Рис.14. Схема включения нереверсивного пускателя.
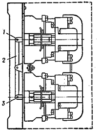
На рис.15 показан общий вид реверсивного пускателя на базе ПМЕ. Подвижная часть верхнего пускателя 1 с помощью рычага 2 сблокирована с подвижной частью 3 нижнего пускателя. При подаче напряжения на верхний пускатель его якорь притягивается, верхний конец рычага 2 поворачивается влево и удерживает якорь нижнего пускателя в крайнем правом положении. Даже при подаче напряжения на нижний пускатель якорь его электромагнита не сдвинется с места, так как сила, действующая на верхнее плечо (якорь верхнего пускателя притянут), больше силы, действующей на нижнее плечо. Поскольку при подаче напряжения на нижний электромагнит в его обмотке протекает большой ток и она может выйти из строя, механическая блокировка дополняется электрической.


Рис.15. Механическая блоки- Рис.16. Схема включения реверсивного пускателя.
ровка реверсивного пускателя.
Схема включения реверсивного пускателя приведена на рис16. Кнопка управления Вперед имеет замыкающие контакты 1—2 и размыкающие контакты 4—6. Аналогичные контакты имеет кнопка пуска двигателя в обратном направлении Назад.
Соответственно индекс «в» отнесен к элементам, участвующим при работе вперед, и индекс «н» — при работе назад. При пуске Вперед замыкаются контакты 1—2 этой кнопки и процесс протекает так же, как и у нереверсивного пускателя, с той лишь разницей, что цепь катушки Кн замыкается через размыкающие контакты 1—6 кнопки Назад. Одновременно размыкаются размыкающие контакты 4—6 кнопки Вперед, при этом разрывается цепь катушки Кн. При нажатии кнопки Назад вначале размыкаются контакты 1—6, обесточивается катушка
и отключается пускатель Вперед. Затем контактами 4—3 запускается электромагнит пускателя Назад. При одновременном нажатии кнопок Вперед и Назад ни один из пускателей не будет включен.