Счетчики электрической энергии.
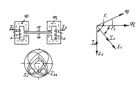
В индукционных счетчиках эл. энергии используются индукционный измерительный механизм, в котором для создания вращающегося момента используется взаимодействия магнитных потоков неподвижных контуров с токами и контуров с токами, индуктированными в подвижных частях измерительного механизма магнитными потоками неподвижных контуров.

и
сдвинуты на угол ψ. Они наводят в диске ЭДС
и
соответственно, которые остаются от соответствующих потоков на угол 90˚. Эти ЭДС вызывают в диске вихревые токи
и
, совпадающие с
и
соответственно, так как сопротивление диска преимущественно активное. Рассмотрим взаимодействие следующих пар потоков с токами:
и
,
и
, а также
и
,
и
.
Рассмотрим взаимодействие
и 

В силу инерционности подвижная часть реагирует на среднее значение момента

Вращающий момент от взаимодействия потока Ф2 и тока I 22 также будет равен 0 т.е. взаимодействие магнитных потоков со “своими” токами не создает вращающего момента.
|
|
|
Рассмотрим взаимодействие потока Ф1 и тока I 22, а также Ф2 и I11


Переходя к средним значениям, будем иметь


Несмотря на разные знаки двух последних формул, моменты действуют на диск в одну сторону; а знак “минус” показывает, что один контур с током втягивается в поле, другой – выталкивается из соответствующего поля

При однородном строении диска и синусоидальных токах I1 и I2

Тогда выражение (1) примет вид:

где, 
В индукционных ИМ противодействующий момент называется тормозным, и создается он с помощью постоянного магнита.


При вращении диска под действием
в нем индуцируются ток 

где, V- скорость вращения диска,
- поток постоянного магнита. Ток
взаимодействуя с потоком
,создает момент, препятствующий движению.

где,

когда
станет равен
, диск начнет вращаться с постоянной скоростью V.



Проинтегрируем последнее выражение в интервале
; 







