Оборудование забоя газовых скважин зависит от многих факторов:
1) литологического и фациального составов пород и цементирующего материала, слагающих газовмещающий коллектор;
2) механической прочности пород;
3) неоднородности коллекторских свойств пласта по разрезу;
4) наличия газоносных, нефтеносных и водоносных пластов в продуктивном разрезе;
5) местоположения скважины на структуре и площади газоносности;
6) назначения скважины (добывающая, нагнетательная, наблюдательная).
В тех случаях, когда газовая залежь пластового или массивного типа, газонасыщенный коллектор представлен крепкими породами (сцементированными песками, известняками, доломитами, ангидритами), в продуктивном разрезе отсутствуют нефтенасыщенные и водонасыщенные горизонты, добывающие скважины могут иметь открытый забой. Для улучшения выноса твердых частиц и жидкостей с забоя скважины в фильтровую часть пласта на забой скважины спускается хвостовик (см. рис. 16.9). Во многих случаях, когда газонасыщенный пласт представлен слабосцементированными породами, в продуктивном разрезе отсутствуют нефте- и водонасыщенные пропластки, открытый забой скважин оборудуется сетчатыми, керамическими, металлокерамическими, гравийными, стеклопластиковыми фильтрами различных типов или рыхлые породы призабойной зоны пласта укрепляются вяжущими веществами.
Наибольшее распространение в последнее время, особенно при оборудовании забоя скважин, расположенных в рыхлых песчаных пластах на ПХГ, получают намывные гравийные фильтры. В этом случае с помощью специальных гидравлических расширителей увеличивается диаметр зоны пласта, в которой намечается намывка гравия, например со 146 до 256 мм. Диаметр образованной зоны определяют с помощью каверномера. После расширения зоны намывки гравия в скважину спускают на НКТ забойное оборудование фильтра (рис. 16.10). Фильтровая часть узла забойного оборудования представляет собой трубу диаметром 100 мм, длиной 10,6 м, перфорированную круглыми отверстиями диаметром 10 - 12 мм, общая площадь которых составляет 15 - 20 % площади боковой поверхности трубы. Труба обматывается сеткой галунного плетения № 18,

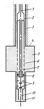
Рис. 16.10. Схема оборудования забоя газовых скважин в рыхлых горных породах
на подземных хранилищах газа: 1 - бурильные штанги диаметром 60,3 мм; 2 - переводник
с левой резьбой; 3 - обсадная колонна диаметром 146 мм; 4 - интервал ствола скважины, расширенной
до 256 мм; 5 - гравий; 6 - щелевой фильтр; 7 - труба диаметром 50 мм; 8, 9 - клапан обратной и прямой циркуляции соответственно; 10 - хвостовик диаметром 62,7 мм; 11 - забой

Рис. 16.11. Принципиальная схема намыва гравийного фильтра в скважине подземного хранилища газа:
1 - обсадная колонна диаметром 146 мм; 2 - противовыбросовая головка; 3 - манометр; 4 - соединительные трубы; 5 - кран, регулирующий подачу гравия; 6 - бункер для гравия, 7 - цементировочный агрегат; 8 - емкости с водой
проволокой из нержавеющей стали или капронового волокна с зазорами 0,5 - 1 мм между витками. В нижней части фильтра имеется клапанная коробка с клапанами для осуществления прямой и обратной промывки скважины. Ниже клапанной коробки фильтра находится хвостовик из НКТ диаметром 62,7 мм, длиной 19 м. Выше фильтра устанавливается затвор из 100-мм НКТ длиной 13 м.
На рис. 16.11 изображена принципиальная схема намыва гравийного фильтра в скважине ПХГ. Перед намывом гравия со средним диаметром частиц, равным 1 мм, проводится прямая и обратная промывка скважины. После полного вытеснения глинистого раствора водой начинается закачка гравия в расширенную часть

Рис. 16.12. Схема оборудования скважины и обвязки агрегатов при закачке смолообразующих
реагентов в призабойную зону пласта: 1 - агрегат, подающий раствор сырых фенолов и щелочи;
2 - агрегат, подающий воду для продавки смолы в пласт; 3 - агрегат, подающий формалин; 4 - тройник-смеситель; 5 - заливочная головка; 6 - заливочные трубы диаметром 50 - 75 мм; 7 - пакер
пласта. Качество намыва гравия определяется по уменьшению массы колонны труб в скважине. После намыва гравия пласт испытывается на вынос песка. Для уменьшения проявления арочного эффекта, возможного образования пустот в гравийном массиве и выноса частиц пласта в скважину через эти пустоты рекомендуется увеличивать зазор между надфильтровой трубой и обсадной колонной скважины.
Призабойная зона пласта в рыхлых коллекторах может укрепляться закачкой в поровое пространство жидких вяжущих веществ - органических полимерных материалов, которые при взаимодействии с катализатором полимеризации затвердевают и цементируют рыхлую породу. В качестве вяжущих химических веществ, в зависимости от температуры и минералогического состава пласта-коллектора, используют: 1) органические смолы; 2) пластмассы; 3) специальные составы типа «перматрол».
В качестве органических смол применяются эпоксидная, фенолформальдегидная, карбамидная (крепитель М), смолы из сырых фенолов и формалина, РР-1. На рис. 16.12 изображена схема оборудования скважины и обвязки агрегатов при закачке смолообразующих реагентов в призабойную зону пласта. Исходными реагентами для получения смолы служат сырые фенолы и формалин. В качестве катализатора полимеризации применяется едкий натр. Работа по обработке скважины проводится в следующем порядке.
1. В скважине определяют глубину забоя, температуру пласта, удаляют песчаную пробку, исследуют поглотительную способность.
2. Спускают в скважину заливочные трубы 6 диаметром 50 или 76 мм. Кольцевое пространство между обсадной колонной и заливочными трубами герметизируется пакером 7.
3. Устье скважины оборудуется заливочной головкой 5.
4. Цементировочный агрегат 3 закачивает в скважину формалин, цементировочный агрегат 1 закачивает раствор сырых фенолов и щелочи. Исходные реагенты смешиваются в тройнике-смесителе 4.
5. После закачки исходных реагентов в скважину при помощи агрегата 2 осуществляется продавка смолы в пласт водой.
Реагенты закачиваются в пласт в предельно короткий срок - от 15 до 30 мин.
6. После продавки скважину оставляют на время, необходимое для затвердевания смолы в зависимости от температуры пласта: при температуре пласта 353 К время затвердевания смолы равно 2 сут; при температуре пласта 343, 333 и 323 К время затвердевания равно 4,8 и 14 сут соответственно.
7. Проверка результатов крепления призабойной зоны пласта проводится ее исследованием при установившихся отборах. Способ крепления призабойных зон скважин органическими смолами применяется нефтяниками Азербайджана с 1958 г. В последующие годы он был усовершенствован за счет одновременной закачки в скважину жидкой фенолформалиновой смеси с песком. Содержание фенолформалиновой смеси составляет 35 - 40 % от массы песка. В этом случае прочность закрепленного песка призабойной зоны практически це уменьшается, и что особенно важно, не уменьшается коэффициент проницаемости обработанной призабойной зоны. Смесь указанного состава отвечает всем требованиям перекачки.
Для крепления рыхлых песков на подземных хранилищах газа при низких температурах пласта (293 - 303 ºК) разработан метод крепления смолой из фенолоспирта. В качестве катализатора полимеризации (поликонденсации) используется бензолсульфокислота (БСК).
Отличительные черты технологии крепления этим способом: 1) смола продавливается в пласт при помощи углеводородной жидкости (газовый конденсат или дизельное топливо); 2) после продавки смолы в пласт в объеме, равном объему перового пространства пласта с радиусом в 1 м, закачивали теплый газ в пласт, что способствовало повышению прочности смолы, упростило проблему освоения скважины после обработки; 3) обработка призабойной зоны смолой проводилась без задавки скважины жидкостью; это сокращает время обработки, сводит до минимума проблему взаимодействия воды с породами цементирующего вещества пласта-коллектора (особенно глинами монтмориллонитового типа, набухающими при взаимодействии с пресной водой), повышает качество сцепления смолы с породами пласта. Таким методом были обработаны призабойные зоны многих скважин на различных ПХГ.
В случае, если в продуктивном разрезе скважин имеются газоносные пласты с различным составом газа или имеет место чередование газоносных, нефтеносных и водоносных пластов, разделенных глинистыми пропластками, при резкой неоднородности пласта по разрезу иметь открытый забой нельзя. В этих условиях скважина бурится до подошвы продуктивного комплекса, обсаживается обсадной колонной и цементируется до устья. Скважина и пласт сообщаются между собой при помощи перфорации того или иного вида. Если через перфорационные каналы в скважину выносится песок, то в нее можно спускать фильтры, собранные на поверхности.