Объем и виды работ по подготовке месторождений для СГД зависят от рельефа местности и ее обводненности.
Подготовительные работы включают прокладку подъездных путей, установку опор линии электроснабжения, прокладку трубопроводов для подачи напорной воды и сжатого воздуха и гидротранспорта руды.
Конструкция добычных скважин зависит от геологических и технологических факторов, способа добычи и типа применяемого добычного оборудования.
При разработке месторождений полезных ископаемых, залегающих под прочными покрывающими породами, обсадку скважин производят только по четвертичным породам до коренных. Если покрывающие породы обладают невысокой прочностью, то скважину обсаживают до рудного пласта. При разработке мощных рудных пластов, залегающих под рыхлыми породами, возможно защемление скважинного оборудования в результате подвигания подработанного пласта. Для предотвращения этого в скважину опускают вспомогательную трубу до почвы пласта. Скважинное оборудование размещается во вспомогательной трубе. По мере отработки слоя вспомогательная труба поднимается до кровли последующего слоя и производится его отработка.
В случае необходимости создания избыточного давления в камере с целью улучшения работы пульпоподъемного механизма или фильтрационного разрушения и доставки руды устье скважины герметизируется. При этом в узле герметизации должна быть сальниковая муфта, позволяющая скважинному оборудованию подниматься и опускаться в процессе добычи.
Технологические схемы очистной выемки. Основными критериями при выборе рациональной технологической схемы очистной выемки являются обеспечение требуемой производительности при минимальных затратах и полноты выемки полезного ископаемого. При этом определяющими являются разрушение и доставка разрушенной руды ко всасывающему трубопроводу пульпоподъемного механизма.
Отработка залежи попутным забоем (разрушение и направление смыва почти совпадают). По этой схеме гидромонитор одной скважины работает на выдачной механизм другой. При наклонном залегании пласта эффективность попутного забоя еще более увеличивается.
Отработка залежи встречным забоем. Здесь направление разрушающих и смывающих струй не совпадают. Преимуществом данной схемы является возможность вести добычу через одну скважину и скважинное оборудование выполнить совмещенным. Для увеличения производительности доставки при этом способе необходимо почве камеры придать уклон в сторону скважины. При небольшой мощности для придания уклона иногда целесообразно подработать породы почвы.
Отработку пласта совмещенным забоем ведут гидромонитором, на котором установлены передние и несколько боковых насадок, направленных в сторону забоя. По мере отработки ствол вращением подают на забой. Передняя струя встречным забоем разрушает забой, боковые струи работают по разрушению и доставке руды.
Одним из основных вопросов проектирования разработки месторождений методом СГД является выбор оптимального варианта системы разработки. Система разработки с открытым очистным пространством применяется при устойчивых покрывающих породах. Размеры камеры или блока определяются допустимой площадью обнажения покрывающих пород и устойчивостью целиков.
Разработка блоками ведется на месторождениях с малой и средней мощностью с оставлением ленточных целиков. Блок может разрабатываться встречным или попутным забоем. При неустойчивых покрывающих породах могут оставляться временные целики посередине блока. Достоинства системы: добычные агрегаты располагаются над целиками, добыча осуществляется попутным забоем.
Система разработки с обрушением применяется для выемки пластов, залегающих под слабопрочными пластичными породами (рисунок 16.2). Сетка расположения скважин, число взаимодействующих агрегатов, скорость подвигания забоя определяются состоянием налегающих пород.
Вариантом системы является отработка через наклонные скважины, расположенные за зоной сдвижения покрывающих пород. При этом увеличивается объем добычи из одной скважины и обеспечивается полная безопасность ведения добычных работ.
Система разработки с закладкой выработанного пространства применяется либо для добычи особо ценных руд, либо когда не допускается оседание поверхности.
Для отработки локальных рудных тел могут применяться комбинированные системы СГД с открытыми или подземными горными работами.
Оборудование скважинной гидродобычи в зависимости от назначения и его места использования в общей схеме добычи можно подразделить на добычное, технологическое и вспомогательное.
К первой группе относятся скважинное добычное оборудование, подъемно-транспортные механизмы к ним и гидротранспортные установки. Скважинное добычное оборудование включает гидромонитор и пульпоподъемные устройства. К последним относятся эрлифт, гидроэлеватор, землесосы или их комбинации (гидроэрлифт, гидроэлеватор + землесос и т.д.). Подъемно-транспортные механизмы предназначены для перевозки скважинного оборудования от одной скважины к другой и подъема-спуска их по скважине.
В этих целях могут использоваться подъемные краны, буровые станки, различного рода подъемники (например «Бакинец» или специальные самоходные и несамоходные платформы, оборудованные краном и механизмом свинчивания стволов труб). Гидротранспортные установки включают участковый и магистральный землесосы (углесосы), пульповоды, устройства для обезвоживания пульпы, грохоты и т.д. Например, манипулятор (рисунок 16.3) обеспечивает управление процессом добычи руды.
Технологическое оборудование включает высоконапорные и водоотливные насосы, компрессоры, буровые станки; вспомогательное включает трубоукладчики, бульдозеры, краны, автотранспорт и слесарно-механическое оборудование.

1 – скважинный земснаряд; 2 – насос; 3 – компрессор
Рисунок 16.2 – Технологическая схема гидродобычи глубинного песка
Выбор конструкции скважинного гидромонитора зависит от мощности пласта и обводненности месторождения. При большой мощности, когда рентабельный объем добычи на одну добычную скважину легко обеспечивается, конструкция гидромонитора может быть очень простая и состоять из вертикального водоподводящего става и насадки.
При небольшой мощности пласта и затопленном забое для увеличения зоны разрушения руды струей гидромонитора, последнюю необходимо подать как можно ближе к массиву руды. Этого можно достигнуть либо однозвенным, либо многозвенным телескопическим стволом, на конце которых устанавливается насадка. Параметры струи могут быть существенно улучшены за счет применения успокоителя, пульсатора и повысителя давления, добавки поверхностно-активных веществ и т. д.
Выбор способа гидравлического подъема руды зависит от высоты подъема и уровня воды в выдачной скважине.
Землесос. Применение серийно выпускаемых землесосов, установленных на поверхности, ограничивается их всасывающей способностью и можно осуществлять подъем гидросмеси руды с глубины не более 10—15 м. Имеющиеся конструкции погружных насосов не предназначены для подъема полидисперсной гидросмеси руды с размерами частиц до 80—100 мм, наиболее типичной при разработке большинства месторождений рыхлых и слабосцементированных руд. Всасывающую способность землесоса можно повысить установкой гидроэлеватора в его всасе. Однако это ведет к увеличению поперечного размера всасывающей трубы, а следовательно, и диаметра скважины.

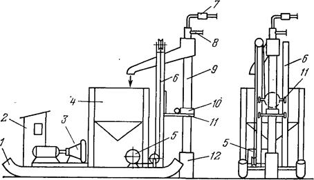
1—сани; 2— кабина управления; 3 — землесос; 4 — зумпф; 5—лебедка; 6—направляющая стрела; 7, 8—соответственно подача напорной воды и сжатого воздуха; 9 — скважинное оборудование; 10—поворотный механизм; 11—тележка; 12—обсадная труба скважины
Рисунок 16.3 – Манипулятор для механизации процессов СГД:
Гидроэлеватор является самым простым насосом, не имеющим движущихся частей. Поэтому он изнашивается значительно меньше, чем землесосы. Простота конструкции позволяет изготавливать его в любой мастерской. Эти факторы обуславливают небольшие затраты на их изготовление и эксплуатацию. Однако гидроэлеваторы имеют следующие недостатки; низкий к.п.д. (0,2—0,3), большой расход воды и низкий напор, значительно уступающий панорам, развиваемым центробежными насосами, причем с увеличением высоты подъема необходимый расход воды увеличивается в квадратичной зависимости. Эти недостатки гидроэлеватора ограничивают область его применения высотой подъема не более 60—80 м и при небольшой производительности (до 100—150 м3/ч). Гидроэлеватор может применяться при осушенной и затопленной водой камерах.
Эрлифт. При разработке обводненных месторождений, когда добычная камера и скважина затоплены водой, подъем гидросмеси руды на поверхность может эффективно производиться эрлифтом (рисунок 16.4). Аналогично гидроэлеватору эрлифт отличается чрезвычайной простотой конструкции и отсутствием движущихся частей. А в отличие от гидроэлеватора высота подъема эрлифтом практически неограниченна. Так, на шахте «Самсоновская» № 1 комбината «Краснодонуголь» пятисекционный эрлифт осуществляет подъем 300 т угля в час (800 м3 гидросмеси в час) на высоту 725 м. При большой производительности установки по гидросмеси и небольшой глубине подъема до 100 м сжатый воздух подается центробежными компрессорами или воздуходувками, а при большой глубине — трубокомпрессорами. При сравнительно малой производительности и большой глубине применяются поршневые компрессоры. Расположение воздушной и выдачной труб может быть как соосное, так и рядом.

Управление гидромонитором: а, б — с поверхности; в, д—реактивной струей; г—фильтрационным разрушением пласта; 1, 2 и 3 — соответственно трубопроводы для подачи напорной воды сжатого воздуха и гидросмеси; 4—направляющие фонари; 5—насадка; 6— приемное отверстие; 7 — опора; 8 — шарнир; 9 — направляющий паз; 10—возвратная пружина; 11 — пакер; 12 — фильтр
Рисунок 16.4 – Скважинные эрлифты для гидродобычи глубинного песка
Но эрлифт обладает низким к. п. д., достигающим не более 30—40%. Наибольшее влияние на к. п. д. оказывает относительное погружение форсунки эрлифта под уровень воды.
Выбор типа гидротранспортной установки. Оборудование гидротранспортной установки включает перекачивающий агрегат, пульповод, запорную арматуру, иногда струйный зумпф, обезвоживатель, грохоты и бункеры-накопители.
Перекачивающими агрегатами являются землесосы, грунтовые и песковые насосы, углесосы, поршневые нагнетатели, загрузочные аппараты, гидроэлеваторы. Выбор типа перекачивающего агрегата зависит от производительности гидротранспортной установки, расстояния подачи и разности геодезических отметок начала и конца пульповода.
Для преодоления трудностей, связанных с гидроабразивным износом в последние годы большое внимание уделяют перекачивающим агрегатам, в которых отсутствует непосредственный контакт вращающихся или движущихся деталей с твердым материалом. К ним относятся поршневые нагнетатели типа НПП конструкции УкрНИИГидроугля и загрузочные аппараты различных конструкций.
Остальное оборудование гидротранспортной установки (пульповоды, арматура, КИП и т. д.) выбирается по существующим нормам.
16.3 Методика расчета оптимальных параметров скважинной гидродобычи
Г.X. Хчеяном и И.Л. Демьяновой разработана методика и алгоритм расчета, позволяющие осуществлять выбор оптимальных для рассматриваемых горно-геологических условий (мощности и глубины залегания залежи, прочностных характеристик рудного тела и покрывающих пород), технологических (расхода и давления воды) и конструктивных (диаметра скважины и ее оборудования) параметров скважинной гидродобычи полезных ископаемых.
Составлена программа счета на языке Фортран-4.
Для условия Кингисеппского месторождения фосфоритов выполнены расчеты, позволившие установить характер зависимостей основных технико-экономических показателей отработки (объем добычи со скважины, производительность, затраты на сооружение скважины, удельный расход воды, себестоимость) от горно-геологических условий, технологических и конструктивных параметров.
Ниже приведем схему расчета параметров технологии и оборудования СГД.
1 Исходные данные для расчета: hс, m, ρ, τсдвига, Рг, w 0, Vк, Пд, ηг.
2 При отработке месторождения камерной системой по методике Р.С. Мижеровой определяют параметры предельно устойчивых целиков и максимальный устойчивый размер камеры выемки.
3 Зная величину Rк, определяем необходимую эффективную длину струи l как разницу между радиусом камеры и длиной ствола гидромонитора, причем длина струи будет зависеть от состояния забоя (осушенный или затопленный).
4 Выбрав длину струи, а следовательно, необходимый напор, расход воды на насадке, определяем производительность достав
ки, подъема и транспортирования пульпы и время отработки камеры.
5 Зная средние показатели технологии по камере и необходимую производственную мощность предприятия, по методике, приведенной в разделах 7 и 8, определим необходимое число добычных скважин, параметры оборудования и экономические показатели предприятия.