В настоящее время известны следующие системы промыслового сбора: самотечная двухтрубная, высоконапорная однотрубная и напорная.
При самотечной двухтрубной системе сбора (рис. 17.1) продукция скважин сначала разделяется при давлении 0,6 МПа. Выделяющийся при этом газ под собственным давлением транспортируется до компрессорной станции или сразу на газоперерабатывающий завод (ГПЗ), если он расположен поблизости. Жидкая фаза направляется на вторую ступень сепарации. Выделившийся здесь газ используется на собственные нужды. Нефть с водой самотеком (за счет разности нивелирных высот) поступает в резервуары участкового сборного пункта, откуда подается насосом в резервуары центрального сборного пункта (ЦСП).
За счет самотечного движения жидкости уменьшаются затраты электроэнергии на ее транспортировку. Однако данная система сбора имеет ряд существенных недостатков:
1) при увеличении дебита скважин или вязкости жидкости (за счет увеличения обводненности, например) система требует реконструкции;
2) для предотвращения образования газовых скоплений в трубопроводах требуется глубокая дегазация нефти;
3) из-за низких скоростей движения возможно запарафинивание трубопроводов, приводящее к снижению их пропускной способности;

Рис. 17.1. Принципиальная схема самотечной двухтрубной системы сбора:
1 - скважины; 2 - сепаратор 1 - и ступени; 3 - регулятор давления типа "до себя"; 4 - газопровод; 5 - сепаратор 2-й ступени; 6 - резервуары; 7 - насос; 8 - нефтепровод; УСП - участковый сборный пункт; ЦСП - центральный сборный пункт

Рис. 17.2. Принципиальная схема высоконапорной однотрубной системы сбора:
1 - скважины; 2 - нефтегазопровод; 3 - сепаратор 1-й ступени; 4 - сепаратор 2-й ступени; 5 - регулятор давления; 6 - резервуары

Рис. 17.3. Принципиальная схема напорной системы сбора:
1 - скважины; 2 - сепаратор 1-й ступени; 3 - регулятор давления типа "до себя"; 4 - газопровод; 5 - насосы; 6 - нефтепровод, 7 - сепаратор 2-й ступени; 8 - резервуар; ДНС - дожимная насосная станция
4) из-за негерметичности резервуаров и трудностей с использованием газов 2-й ступени сепарации потери углеводородов при данной системе сбора достигают 2...3 % от общей добычи нефти.
По этим причинам самотечная двухтрубная система сбора и настоящее время существует только на старых промыслах.
Высоконапорная однотрубная система сбора (рис. 17.2) предложена в Грозненском нефтяном институте. Ее отличительной особенностью является совместный транспорт продукции скважин на расстояние в несколько десятков километров за счет высоких (до 6...7 МПа) устьевых давлений.
Применение высоконапорной однотрубной системы позволяет отказаться от сооружения участковых сборных пунктов и перенести операции по сепарации нефти на центральные сборные пункты. Благодаря этому достигается максимальная концентрация технологического оборудования, укрупнение и централизация сборных пунктов, сокращается металлоемкость нефтегазосборной сети, исключается необходимость строительства насосных и компрессорных станций на территории промысла, обеспечивается возможность утилизации попутного нефтяного газа с самого начала разработки месторождений.
Недостатком системы является то, что из-за высокого содержания газа в смеси (до 90 % по объему) в нефтегазосборном трубопроводе имеют место значительные пульсации давления и массового расхода жидкости и газа. Это нарушает устойчивость трубопроводов, вызывает их разрушение из-за большого числа циклов нагружения и разгрузки металла труб, отрицательно влияет на работу сепараторов и контрольно-измерительной аппаратуры.
Высоконапорная однотрубная система сбора может быть применена только на месторождениях с высокими пластовыми давлениями.
Напорная система сбора (рис. 17.3), разработанная институтом Гипровостокнефть, предусматривает однотрубный транспорт нефти и газа на участковые сепарационные установки, расположенные на расстоянии до 7 км от скважин, и транспорт газонасыщенных нефтей в однофазном состоянии до ЦСП на расстояние 100 км и более.
Продукция скважин подается сначала на площадку дожимной насосной станции (ДНС), где при давлении 0,6...0,8 МПа в сепараторах 1-й ступени происходит отделение части газа, транспортируемого затем на ГПЗ бескомпрессорным способом. Затем нефть с оставшимся растворенным газом центробежными насосами перекачивается на площадку центрального пункта сбора, где в сепараторах
2-й ступени происходит окончательное отделение газа. Выделившийся здесь газ после подготовки компрессорами подается на ГПЗ, а дегазированная нефть самотеком (высота установки сепараторов 2-й ступени 10...12 м) в сырьевые резервуары.
Применение напорной системы сбора позволяет:
- сконцентрировать на ЦСП оборудование по подготовке нефти, газа и воды для группы промыслов, расположенных в радиусе 100 км;
- применять для этих целей более высокопроизводительное оборудование, уменьшив металлозатраты, капитальные вложения и эксплуатационные расходы;
- снизить капиталовложения и металлоемкость системы сбора, благодаря отказу от строительства на территории промысла компрессорных станций и газопроводов для транспортировки нефтяного газа низкого давления;
- увеличить пропускную способность нефтепроводов и уменьшить затраты мощности на перекачку вследствие уменьшения вязкости нефти, содержащей растворенный газ.
Недостатком напорной системы сбора являются большие эксплуатационные расходы на совместное транспортирование нефти и воды с месторождений до ЦСП и, соответственно, большой расход энергии и труб на сооружение системы обратного транспортирования очищенной пластовой воды до месторождений для использования ее в системе поддержания пластового давления.
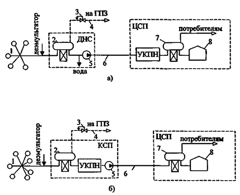
В настоящее время в развитых нефтедобывающих регионах применяют системы сбора, лишенные указанных недостатков.
Система, изображенная на рис. 17.4 а, отличается от традиционной напорной тем, что еще перед сепаратором первой ступени в поток вводят реагент деэмульгатор, разрушающий водонефтяную эмульсию. Это позволяет отделить основное количество воды от продукции скважин на ДНС. На центральном же сборном пункте установка комплексной подготовки нефти расположена перед сепаратором второй ступени. Это связано с тем, что нефть, содержащая растворенный газ, имеет меньшую вязкость, что обеспечивает более полное отделение воды от нее.
Особенностью схемы, изображенной на рис. 17.4 б, является то, что установка комплексной подготовки нефти перенесена ближе к скважинам. ДНС, на которой размещается УКПН, называется комплексным сборным пунктом.
Последняя схема применяется при большом числе скважин, подключенных к КСП.

Рис. 17.4. Принципиальные схемы современных систем сбора:
а) - с подготовкой нефти в газонасыщенном состоянии на ЦСП;
б) - с подготовкой нефти в газонасыщенном состоянии на КСП; (обозначения см. на рис. 17.1.)