Локальный модуль APIC
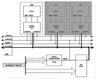
Virtual Wire Mode» на основе I/O APIC
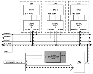
Virtual Wire Mode» без I/O APIC


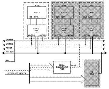
«Symmetric I/O Mode»

– ________________________________устройства (с помощью входов _______ ___ _______ или посредством внешнего PIC, совместимого с 8259);
– _______________________________ устройства (запросы от них поступают на входы системного APIC);
– _______________________________________ (____) – от других процессоров на системной шине;
– встроенный в APIC таймер (запрос по окончании запрограммированного счета);
– счетчики ____________________________________________ (запрос при их переполнении; P6+);
– датчики температуры (Pentium 4+).
– внутренние ___________________________ (напр., попытка записи в недоступный регистр локального APIC.






