Электрические аппараты управления
7.1 Назначение и классификация электрических аппаратов
Для управления работой электрического оборудования необходимо осуществлять включение и переключение или выключение различных устройств. Все электромеханические устройства, как правило, подключаются к общей сети через специальные автоматические выключатели или предохранители, которые защищают сеть от повреждения в случае короткого замыкания приёмника электрической энергии.
В качестве электрических аппаратов управления используют разнообразные устройства: первичные преобразователи различных механических, тепловых, химических и других величин в электрические, устройства обработки электрических сигналов, устройства дистанционного управления.
Для переключения устройств высокого напряжения используют специальные сложные аппараты, в которых принимаются меры против образования электрической дуги и для её гашения, а также предусматривается защита при увеличении электрического тока.
|
|
|
Во всех этих случаях используются электрические аппараты – устройства для включения, переключения и выключения электрических и механических цепей, а также для плавного управления режимами работы электрических приёмников.
По назначению электрические аппараты управления классифицируют как:
- аппараты управления режимом работы электрооборудования (контакторы, пускатели, реле, электромагнитные муфты, командоаппараты и переключатели);
- аппараты распределительных устройств (автоматические выключатели и предохранители);
- аппараты регулирования и контроля (стабилизаторы и датчики).
Важнейшей частью электрических аппаратов является коммутирующий узел, который характеризуется переходным сопротивлением: состояние «замкнуто» - RЭА ≤ Rприёмника, состояние «разомкнуто» - RЭА ≥Rприёмника. Процессы коммутации сопровождаются импульсами тока, напряжения и появлением электромагнитных полей, которые могут быть опасными для людей и мешать работе других электротехнических и электронных устройств. Отсюда возникает необходимость решения проблемы электромагнитной совместимости электрических машин и электрической безопасности. По типу коммутирующего узла различают контактные, бесконтактные и гибридные электрические аппараты управления.
В контактных электрических аппаратах есть электрические контакты, которые замыкаются или размыкаются под действием механической силы, создаваемой приводом. Привод может быть электромагнитный, пневматический, механический и др.
Достоинства: большая надёжность, высокая перегрузочная способность, большие номинальные значения токов и напряжений в коммутаторной цепи.
|
|
|
Недостатки: узость контактных поверхностей, невысокая частота коммутаций, «дребезг» контактов.
В бесконтактном электрическом аппарате коммутация достигается изменением сопротивления нелинейного элемента (транзисторы, тиристоры и др.).
Достоинства: нет подвижных частей, малые габариты, большой срок службы, низкий уровень мощности управляющего сигнала.
Недостатки: большое сопротивление в состоянии «замкнуто» и малое – в состоянии «разомкнуто»; низкая перегрузочная способность.
В зависимости от напряжения в коммутируемой цепи применяются аппараты высокого (› 1000 В) или низкого напряжения. В зависимости от значения коммутируемого тока используют аппараты различного конструктивного исполнения.
По характеру физической величины используемой в электрических аппаратах управления последние классифицируют следующим образом:
- тепловые, реагирующие на изменение температуры;
- механические, реагирующие на перемещение, изменение давления, изменение частоты вращения и т. п.
- магнитные, реагирующие на изменение магнитных величин;
- акустические, реагирующие на силу звука;
- оптические, реагирующие на изменение освещённости.
7.2 Устройство и принцип действия коммутационных контактных аппаратов
Контактный аппарат содержит две части: электрические контакты и привод для управления контактами. Форма, размеры, материал, типы покрытия контактов выбирают в зависимости от значений напряжения и тока в управляемой электрической цепи.

Контакты изготовляют из материалов, обладающих небольшим удельным электрическим сопротивлением (медь, сплавы с никелем, иридием, металлокерамические соединения). Для повышения износоустойчивости контакты покрывают вольфрамом или металлокерамическим соединением. Иногда плотность соединения обеспечивается специальными пружинами.
Для предотвращения разогрева и повреждения контактов ускоряют процесс размыкания и используют тугоплавкие материалы, увеличивают расстояние между контактами в разомкнутом состоянии, применяют специальные активные и пассивные дугогасительные элементы.
Перемещение контактов производится с помощью привода. Наиболее просто устроены приводы командоаппаратов, в которых электрические контакты замыкаются под действием механической силы, создаваемой движением руки (нажатие кнопки, поворот руки или рычага) или при движении частей какого-либо механизма (концевые и путевые выключатели). В контакторах, магнитных пускателях, реле используют электромагнитный привод контактов с помощью электромагнитов постоянного или переменного тока.

Все элементы, формирующие магнитное поле изготавливаются из ферромагнитных материалов. В аппаратах переменного тока они изготовляются шихтованными для уменьшения потерь энергии на вихревые токи.
При наличии в катушке тока, превышающего определенные значения (ток срабатывания), в магнитной системе возникает магнитное поле достаточное для перемещения якоря в другое устойчивое положение. При этом преодолевается сопротивление рабочей пружины и с помощью механических связей размыкаются или замыкаются электрические контакты.
К электрическим аппаратам ручного управления относят кнопки и ключи управления, командоаппараты и силовые коммутационные аппараты (рубильники, пакетные выключатели и силовые контроллеры).
Кнопки управления предназначены для подачи оператором управляющего воздействия на электропривод. Две, три и более кнопок смонтированных в одном корпусе, образуют кнопочную станцию. Одноцепные кнопки управления выпускают с замыкающими и размыкающими контактами. Контакты на схемах изображают в «нормальном» состоянии, когда на них не оказывается механическое, электрическое, магнитное воздействие. Двухцепные кнопки управления имеют обе пары указанных контактов, на которые действует один привод.
|
|
|
Особенностью кнопок управления является их способность возвращаться в исходное положение (самовозврат) после снятия воздействия. Выпускают кнопки цепей переменного тока на напряжение до 500 В и постоянного тока на напряжение до 220 В при токах до 16 А. На принципиальных электрических схемах кнопки ручного управления обозначают следующим образом:

Ключи управления предназначены для подачи управляющего воздействия на электропривод и имеют два или более фиксированных положений рукоятки и несколько замыкающих и размыкающих контактов. Ключи управления рассчитаны на те же напряжения и токи, что и кнопки. На принципиальных электрических схемах ключи управления обозначают таким образом:

Универсальные переключатели используются для коммутации цепей катушек контакторов, масляных выключателей, управления многоскоростными асинхронными двигателями и другими устройствами.
7.3 Коммутационные аппараты для управления электротехническими устройствами низкого напряжения
7.3.1 Магнитный пускатель
Схема включения приемника электрической энергии с помощью магнитного пускателя имеет вид:

Магнитный пускатель содержит несколько коммутационных аппаратов: двухкнопочный пульт SB1, SB2, контактор КМ и защитные тепловые реле КК1, КК2. Обычно в контакторе есть несколько пар основных и вспомогательных контактов, управляемых одним рычагом привода. Важным элементом контактора является дугогасительное устройство.
Для коммутации ряда устройств с защитой от аварийных режимов применяют аппарат, который называется автоматическим воздушным выключателем. Изготавливают автоматы универсальные для установки в закрытых шкафах распределительных устройств и установочные, имеющие пластмассовый защитный корпус для установки вне шкафов. Универсальные автоматы могут иметь ручной или электромагнитный привод для дистанционного управления. Установочные автоматы выполняют с ручным приводом.
|
|
|
В автомате имеются два защитных устройства – тепловой и электромагнитный расцепители. Оба расцепителя освобождают (или не позволяют зафиксировать механический расцепитель контактора. Тепловой расцепитель – это биметаллическая пластина, которая деформируется при нагревании и освобождает механический расцепитель. Электромагнитный расцепитель имеет катушку, которая соединена последовательно с управляемыми контактами. При превышении определенного значения тока якорь, соединенный с механическим расцепителем притягивается к сердечнику и освобождает механический расцепитель. Защитные расцепители не только отключают, но и не позволяют вновь включать автомат до тех пор пока не будут устранены причины отключения.
Привод контактора замыкает основные контакты КМ1 и КМ2, которые соединены последовательно с приёмником, и, таким образом, приёмник подключается к сети. Одновременно замыкается вспомогательный контакт КМ3, который шунтирует кнопку S1 «пуск». Теперь при отпускании кнопки S1 катушка контактора не будет обесточена.
Для защиты от перегрузок сети и приёмника в магнитном пускателе устанавливают тепловые реле. Их обмотки управления КК1 и КК2 включены последовательно с приёмником, а нормально замкнутые контакты КК1 и КК2 включены последовательно с обмоткой контактора КМ.
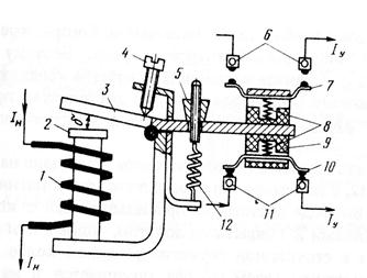
Устройство одного из типов магнитного контактора постоянного тока показано на рисунке 7.4. Контактный узел состоит из неподвижного 1 и подвижного 3 контактов, помещённых в дугогасительную камеру 2. Контакт 3 закреплён на рычаге 4, связанном с помощью пружины 5 с якорем 6, и соединён с управляемой электрической цепью гибкой медной лентой 10. Электромагнитный привод контактора имеет возвратную пружину 7, сердечник 8 и обмотку 9.

Рисунок 7.4. - Конструктивная схема контактора постоянного тока
Важным элементом контактора является дугогасительное устройство. Его принцип действия таков: при размыкании между контактами в результате дугового разряда образуется ионизированная газовая область с движущимися зарядами. Этот ток создаёт магнитное поле между ферромагнитными пластинами, между которыми закреплены контакты 3. Магнитная сила перемещает ионизированную область в узкую щель между элементами дугогасительной решётки, которые изготовлены из изоляционного материала. Решётка отбирает тепловую энергию из области дугового разряда.
Для коммутации электротехнических устройств с защитой от аварийных режимов применяют автоматический воздушный выключатель (автомат). Изготовляют автоматы универсальные для установки в закрытых шкафах распределительных устройств и установочные, имеющие пластмассовый защитный корпус для установки вне шкафов. Универсальные автоматы могут иметь ручной или электромагнитный привод для дистанционного управления. Установочные автоматы выполняют с ручным приводом.
На рисунке 7.5 приведена схема установочного автомата. Включение и отключение производится рукояткой 11, которая находится в пазу изоляционной крышки корпуса 9.
Для включения рукоятку поднимают вверх. При этом пластина 10 свободным концом зацепляется за зуб 13 расцепителя 14 и фиксируется, пружина 12 тянет шарнир рычагов 4 и 5 наверх, рычаг 6 с подвижным контактом поворачивается влево до неподвижного контакта 7 и, таким образом, контакты замыкаются. Цепь автомата замыкается через гибкую токоведущую шину 3. Выключение осуществляют поворотом рукоятки вниз. В автомате установлена дугогасительная решётка 8.
В автомате есть два защитных устройства: тепловой и электромагнитный расцепители. Оба расцепителя не позволяют зафиксировать пластину 10 и расцепитель 14.

Рисунок 7.5. - Схема воздушного автоматического выключателя переменного тока
Тепловой расцепить – биметаллическая пластинка 1, которая деформируется при нагревании и опускается вниз. При этом поворачивается рычаг 14, освобождается пластина 10 и размыкаются контакты автомата. Так потребитель защищается от длительного превышения номинального значения тока.
Электромагнитный расцепитель имеет катушку, которая соединена последовательно с управляемыми контактами. При кратковременном превышении номинального значения тока якорь в виде ферромагнитной шайбы 2 притягивается к сердечнику катушки (влево), рычаг 14 расцепителя повернётся и управляемые контакты 6 разомкнутся. Причём, защитные расцепители не только отключают, но и не позволяют включить автомат вновь до тех пор пока не будут устранены причины защитного отключения (чрезмерный нагрев элемента тепловой защиты или недопустимо большой ток приёмника.
7.3.2 Электромагнитные реле систем автоматического управления и защиты
Электромагнитное реле – это электрический контактный аппарат, имеющий два или более устойчивых положений в зависимости от управляющих токов и напряжений. Указанные устойчивые состояния отличаются замкнутыми, разомкнутыми или переключёнными контактами.
Простейшее коммутационное промежуточное реле с приводом клапанного вида устроено аналогично магнитному контактору. Процесс «срабатывания» в этом реле не зависят от направления тока: оно работает как в цепях постоянного, так и переменного тока. Иногда такое реле называют нейтральным.
Реле подразделяют на реле токовые и реле напряжения. Электромагнитные реле имеют от 2 до 20 контактов. Допустимое значение тока составляет от 5 мА до 5 А и более, а допустимое напряжения размыкания от 5 до 400 В. Время «срабатывания» - интервал времени от появления управляющего сигнала до момента коммутации – составляет от 0,1 до сотен миллисекунд; износостойкость контактов – не менее 106 срабатываний.
Чтобы осуществить коммутацию в зависимости от направления управляющего тока или напряжения, применяют поляризованные реле. Схема такого реле приведена ниже.

Рисунок 7.6 - Схема устройства поляризованного реле
Магнитная система реле состоит из двух управляющих катушек 5, которые соединены последовательно; сердечника 4, постоянного магнита 1 и якоря 2, находящегося в воздушном зазоре сердечника, и контактов 3. Верхняя часть якоря и торцы сердечника являются противоположными полюсами и взаимно притягиваются с силами F1 и F2. Эти силы обратно пропорциональны зазорам между якорем и сердечником и поэтому якорь всегда занимает одно из двух положений.
Ток управляющих катушек создаёт дополнительное магнитное поле, которое создаёт намагничиванием новые магнитные полюса. Взаимодействие новых полюсов с полюсами постоянного магнита приводит к размыканию контактов или к их удерживанию.
Такое поляризованное реле называется двухпозиционным, состояние реле зависит от полярности управляющего сигнала. При уменьшении управляющего сигнала до нуля состояние реле не изменяется. Поляризованные реле рассчитаны на весьма небольшие токи и напряжения срабатывания.
7.3.3 Защитные реле для электротехнических устройств
Защитные реле применяют для защиты электродвигателей и других электрических устройств от превышения температуры, тока и напряжения их допустимых значений по условиям эксплуатации. Для защиты от превышения температуры используют тепловое реле, его принципиальная схема представлена ниже.

Рисунок 7.7 - Схема защитного теплового реле
Управляющей величиной является ток Iн защищаемого приёмника электрической энергии. Последовательно с приёмником включается нагревательный элемент 1, который нагревает термочувствительный элемент 2 – биметаллическую пластинку. При достаточно длительном нагревании током, значение которого превышает допускаемое, пластинка деформируется, опускаясь вниз. Рычаг 4 освобождается и под действием сжатой пружины 5 поворачивается против часовой стрелки. При этом подвижный контакт 3 размыкается и разрывает цепь управления. Последующее охлаждение биметаллической пластинки не приведёт к восстановлению замкнутого состояния контактов: для этого необходимо нажать кнопку возврата 6, которая сожмёт пружину 5 и отведёт рычаг 4.
Для защиты электрической сети и приёмника от импульсного изменения тока (напряжения) до недопустимых значений применяют защитные реле тока (напряжения).
Они отличаются от других специальным регулирующим значение тока или напряжения элементом, который позволяет установить с большой точностью ток (напряжение) срабатывания или отпускания. Например, реле максимального тока устроено следующим образом:

Рисунок 7.8 - Принципиальная схема реле максимального тока
Реле состоит из токовой обмотки 1, винта 4 для «регулировки» воздушного зазора между якорем 3 и сердечником 2, гайки 5 для «регулировки» натяжения возвратной пружины 12, пластмассовых колодок 9 для крепления двух пар подвижных контактов 7 и 10, двух пар неподвижных контактов 6 и 11, контактных пружин 8 для сжатия пар коммутируемых контактов. Ток срабатывания реле регулируется изменением положения винта 4 и гайки 5. Время срабатывания реле при повышении тока до 1,3 Iсрабат. равно не более 0,1 с.
7.3.4 Современная реализация защитных функций
Реализация защитных и блокирующих функций в настоящее время осуществляется программно в системах управления, автоматического регулирования и контроля. Для этого измеряют посредством датчиков те технические величины, которые характеризуют состояние объекта регулирования и контроля, и включают в программное обеспечение регулирующих устройств соответствующие алгоритмы для реагирования на возникающие аварийные ситуации или неправильные действия оператора.
Таким образом, исчезает необходимость в широком использовании электромагнитных реле. Правда, при отказе автоматических регулирующих устройств некоторыми объектами регулирования и контроля возможно наступление тяжёлых последствий для окружающей среды и людей в результате аварии. В этом случае необходимо резервирование питания и самих электронных устройств, а в некоторых случаях применение дополнительных контактных или бесконтактных электромагнитных устройств автоматики и контроля, которыми можно управлять вручную.
7.3.5 Электромагнитные реле с магнитоуправляемыми контактами
Магнитоуправляемый контакт – устройство, имеющее контакты из упругого ферромагнитного материала, которые управляются внешним магнитным полем. Контакты выполняют несколько функций: они являются управляемым элементом, частью магнитного привода и рабочей пружиной.
В настоящее время выпускаются и широко используются герконы – магнитоуправляемые контакты, которые помещены в стеклянную герметизированную колбу. Контактные пары находятся в инертной среде. Благодаря малой массе подвижных частей герконы обладают большим быстродействием и высокой чувствительностью к управляющему воздействию, они выдерживают до 107 включений. Схемы герконов некоторых видов приведены ниже.

а) – замыкающее; б) – переключающее; в) – многоконтактное
Рисунок 7.9 - Конструктивные схемы герконовых реле
На рисунке 7.9,а пластины 1 замыкающего геркона выполнены из пермаллоя (ферромагнитный материал с высокой магнитной проницаемостью), контактные площадки 2 покрывают золотом, родием или серебром и помещают в стеклянную колбу 3; катушка 4 создаёт управляющее магнитное поле.
На рисунке 7.9, б изменением соотношения между значениями токов в катушках можно замыкать правую или левую пару контактов. На рисунке 7.9, в представлен многоконтактный геркон замыкающего типа. Так как герконы чувствительны к внешним магнитным полям, то их помещают в экранирующий корпус из магнитомягкого материала.
Один из типов магнитоуправляемого контакта – феррид – обладает свойством сохранять своё состояние после уменьшения до нуля управляющего тока. Ниже представлена конструктивная схема такого реле.

Рисунок 7.10 - Схема устройства феррид – герконового реле
с памятью состояния
В стеклянной герметизированного колбе 1 укреплены гибкие ферромагнитные пластины 2. Управляющая магнитная система содержит сердечник 3 из феррита, обладающего остаточной намагниченностью, и катушку 4.
Для замыкания контактов и намагничивания сердечника создают импульс тока в катушке определённой амплитуды и длительности. После отключения тока магнитное поле, создаваемого намагниченным сердечником, удерживает контакты в замкнутом состоянии. Для размыкания контактов создают отрицательный импульс для размагничивания сердечника.
Все рассмотренные герконы являются слаботочными и рассчитаны на коммутацию цепей с токами до 1 А. В цепях с большими токами используют герсиконы (силовые герконы). Устройство герсикона показано на рисунке 7.11.

Рисунок 7.11 - Конструктивная схема герсикона
Управляющая катушка 1 помещена на ферромагнитном сердечнике 2. При токе катушки, превышающем ток срабатывания, якорь 6 – упругая ферромагнитная пластинка – притянется к торцевой поверхности полюса 7 сердечника, подвижный контакт 3 соединится с неподвижном контактом 4. Керамический корпус 8 с не ферромагнитной металлической крышкой 9 создаёт герметичную область с инертными газами, в которой находятся контакты. Электрическое соединение управляемой цепи с подвижным контактом осуществляется гибкой токопроводящей шины 5 и крышки 9.
Проблема повышения допустимого тока размыкания для герконов решается труднее, чем для обычных реле, из-за технических трудностей.
7.3.6 Примеры современных высоковольтных реле
Высоковольтными называют реле, которые коммутируют цепи с напряжением выше 500 В и большими токами.

1 – керамическая оболочка; 2 – вращаемая арматура; 3 – пружина; 4 – катушка (в сборе)
Рисунок 7.12 -Газонаполненное высоковольтное реле с вращаемой арматурой
Для увеличения электрической прочности изоляции высоковольтные реле изготовляют вакуумными или наполняют инертным газом, так как диэлектрическая проницаемость вакуума, гексафторида серы (SF6) или инертного газа больше, чем у воздуха. Кроме того, в вакууме или среде инертного газа не происходит окисление контактов, что позволяет применять медные или родиевые контакты, которые способны выдерживать большие токи.
При размыкании контактов под нагрузкой при малых токах используют молибденовые или вольфрамовые контакты. Заполнение реле гексафторидом серы позволяет реле работать при больших бросках тока и разрядах ёмкостных нагрузок.
Катушка (в сборе) конструктивно является внешним элементом по отношению к вакуумной оболочке и её легко заменить.

Рисунок 7.13 - Вакуумноевысоковольтное реле с диафрагмой,
изготовленной из молибдена или вольфрама
В конструкции реле с диафрагмой используется молибденовая диафрагма, позволяющая металлическому стержню поступательно перемещаться. При этом стержень проходит через отверстие в первом контакте реле и электрически с ним соединяется. Как только стержень достигает второго контакта и перестаёт двигаться, контакты замыкаются.