Застосовується тільки для надлишкового активного мулу W = 99,2% (З = 8 г/л), W = 99,6% (З = 4 г/л); 8 г/л - це важкий іл, аэротенк працює в режимі продовженої аерації. Навантаження на іл по БПК20 = 100...200 г/на кг мулу в добу.
8 г/л - БПК20 = 300...500 г/м3сут;
4 г/л - БПК20 = 500...700 г/м3сут.
Флотація - процес прикріплення пухирців повітря до мулу. Перед усмоктуванням у насос в іл додається повітря. У насосі відбувається роздроблення. Повітря повинне бути не більше 10% від кількості води (для флотації досить 2%). Виходить водоповітряна суміш. Забруднення йдуть у піну. Флотація застосовується при гідрофобному мулі (молодому). Доцільно застосовувати при концентрації активного мулу
4 г/л. В основному іл гідрофільний, щоб застосувати флотационное ущільнення його необхідно гидрофобизировать (за допомогою ВПАВШИ). Стабілізований іл - гідрофільний, тому для нього флотационное ущільнення не застосовується.
По даним НДІ КВОВ АКХ флотационное ущільнення доцільно застосовувати при навантаженні по БПК20
300 г/кг мулу в добу.
|
|
|
При флотационном ущільненні вологість мулу знижується до 96%. Час ущільнення від 40 хв до 1,2 години.
Для інтенсифікації процесу й підвищення концентрації флотацію ведуть із додаванням поліелектролітів.
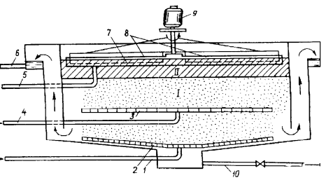
Схема флотатора.






I - зона флотації; II - зона ущільнення сфлотированного активного мулу.
1. Зона флотації; 2. Розподільні труби робочої рідини; 3. Иловые розподільні труби; 4. Подача активного мулу або фугата; 5. Відвід ущільненого сфлотированного активного мулу фугата; 6. Відвід подиловой води; 7. Лоток для збору ущільненого активного мулу; 8. Шкребки; 9. Електродвигун; 10. Трубопровід спорожнювання.
Мосводоканал НДІ проектом розроблені конструкції флотаторів
= 6, 9 й 20 м. Навантаження по сухій речовині становить 3...5 кг/м2 у годину. Питома витрата повітря 0,01...0,02 кг/кг мулу. Існують схеми спільного ущільнення надлишкового активного мулу й осаду з первинних відстійників. Надлишковий активний іл подається в преаератори потім у первинні відстійники звідки суміш із концентрацією 6 - 8 кг/м3 откачивается в илоуплотнитель, куди подається розчин хлорного заліза (0,5% маси сухої речовини).
Після 3 - х вартового ущільнення вологість вивантажує смеси, що, знижується до 93...94%.






