Флотация – процесс молекулярного прилипания частиц флотируемого материала поверхностью раздела двух фаз газа и жидкости. Флотация широко применяется для чистки производственных сточных вод, содержащих нефть, масла, жиры и т.д. Образуется в жидкости комплекс частица + пузырёк воздуха, всплывающий на поверхность с образованием пенного слоя, который затем удаляется. Максимальные размеры воздушных пузырьков 10-200 мк, оптимальные 15-30 мк. По принципу насыщения пузырьками воздуха очищаемой жидкости различаются следующие способы флотации:
1. Флотация с выделением воздуха из раствора (напорная и вакуумная);
2. Флотация с механическим диспергированием воздуха;
3. Флотация с подачей воздуха через пористые материалы;
4. Электрофлотация.
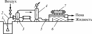
Флотационные установки. 2 типа: однокамерные и двухкамерные. В однокамерных установках насыщение жидкостью пузырьками воздуха и всплывание флотируемых загрязнений происходит в одной камере. В двухкамерных первая камера – насыщение пузырьками воздуха, вторая – всплывание.
|
|
|
Флотация с выделением воздуха из раствора.
· Вакуумная. Сущность заключается в насыщении раствора при атмосферном давлении, далее во флотационной камере под действием разряжения (давление ниже атмосферного) растворённый в воде воздух выделяется в виде пузырьков.
· Напорная. В напорном баке под действием избыточного давления (3-5 атмосфер) происходит насыщение сточной воды воздухом.
Обозначение: 1 - ёмкость, в которую собирается сточная вода; 2-всасывающая линия насоса; 3 – насос; 4 – эжектор и напорный бак; 6 – флотатор; 7 – грабли.






