Входные устройства

Рис. 1.1. Попадание посторонних предметов на вход в двигатель


Птицы в Шереметьево

Рис. 1.2. Повреждения от попадания посторонних предметов

Рис. 1.3. ПЗУ конусного типа

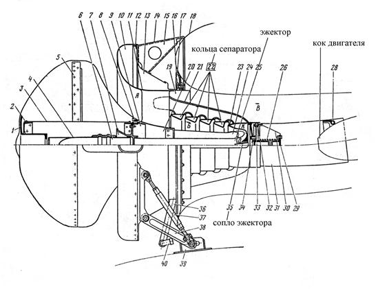
Рис. 1.4. ПЗУ инерционного многоканального типа (ТВ-О-100)

Рис. 1.5. Схема воздухоочистителя и противообледенительной системы
1-входной поток; 2-центральное тело; 3-внешний корпус; 4-разделитель потока; 5-загрязнённый поток; 6-выходные лопатки улитки; 8-улитка; 9-воздух, содержащий отсепарированные частицы, выводится наружу специальным вентилятором; 11-подача тёплого воздуха

Рис. 1.6. Входное устройство ТВаД Т 700GE-700

Рис. 1.7. Схема эвакуации пристеночного слоя

Рис. 1.8. Защита входа ТРДД ПС-90А


Рис. 1.9. Схема комплексной воздухоочистительной установки (ВОУ)

Рис. 1.10. 1-я ступень ВОУ (блок циклонных фильтров, состоящий из 5832 циклонов. Циклоны скомпонованы в 36 модулей)

Рис. 1.11. 2-я ступень ВОУ (кассетные фильтры тонкой очистки накопительного типа (компакт-кассеты фирмы EMW Германия)
|
|
|

Рис. 1.12. Комплексная воздухоочистительная установка (ВОУ) ГПА-Ц-25НК






