РАСЧЕТЫ И ВЫВОДЫ
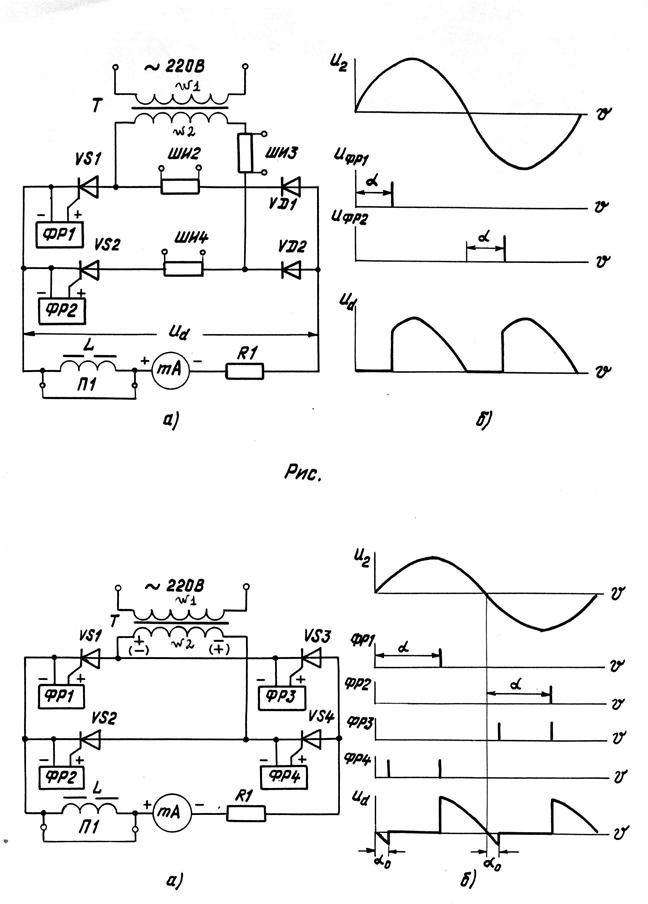
При регулировании выпрямленного напряжения изменением угла управления a момент коммутации тока с одного вентиля на другой сдвигается по сравнению с неуправляемым выпрямителем на угол a.
РАСЧЕТЫ И ВЫВОДЫ
РАСЧЕТЫ И ВЫВОДЫ
РАСЧЕТЫ И ВЫВОДЫ
В таблице 1. приведены опытные данные величин выпрямленного напряжения в зависимости от угла управления a.
Таблица 1. Опытные данные величин выпрямленного напряжения
| a, град. электр | Ud, В |
| 2,4 | |
| 6,56 | |
| 10,24 | |
| 12,94 | |
| 14,88 |
В отчете по лабораторной работе требуется:
- построить график зависимости Ud=f(a)
- указать на рис 3. параметры осциллограммы напряжения вторичной обмотки трансформатора при a=900 и осциллограммы выпрямленного напряжения.
- показать длительность переходного процесса, возникающего при включении тиристора.
- при a=900 указать величину выпрямленного напряжения Ud, напряжения на диоде VD1, напряжения на тиристоре VS2. Указать углы коммутации тиристоров и диодов.
|
|
|
- сделать выводы о форме характеристики
- показать значение выпрямленного напряжения на выходе выпрямителя при не отпирании одного из тиристоров


Тема. Теория Раскольникова.
10 класс. Программа литературного образования под редакцией Ю.В. Лебедева
Количество уроков по теме 1.
Место урока в системе - 4 (всего 6 уроков).
Задачи:
1. Образовательная: рассмотреть теорию Раскольникова и выяснить, насколько она жизнеспособна; закреплять знание материала по роману, проверить степень усвоения материала.
2. Воспитательная: утвердить мысль о высшей ценности человеческой личности и человеческой жизни, о нравственных ценностях романа и его главного героя; формировать гуманизм, социальные компетенции (умение жить в обществе).
3. Развивающая: развитие логического мышления, умение сравнивать, обобщать, доказывать.
Тип урока – комбинированный.
Форма урока: беседа.
Сетка времени:
1. Организационный этап – 2 минуты
2. Вступительное слово учителя (+опрос по систематизации знаний) – 6 минут
3. Работа с эпиграфом – 3 минуты
4. Работа с эпизодами – 24 минуты
5. Просмотр фрагмента фильма и его сопоставление с текстом романа (+ небольшая беседа) – 11 минут
6. Подведение итогов, домашнее задание – 2 минуты
Оборудование: портрет Достоевского, репродукции Раскольникова (разных художников), видеофрагменты.
Ход урока
1. Организационный этап.
Учитель озвучивает тему урока: «Теория Раскольникова». Учащиеся записывают тему урока в тетрадь, также школьники записывают и эпиграф, к которому учитель обратиться немного позже.
Эпиграф: Вечный спор Ангела и Демона происходит в нашей собственной совести. И ужаснее всего, что мы никогда не знаем, кого из них любим, кому больше желаем победы. Д.С. Мережковский.
|
|
|
Примечание: тема и эпиграф записаны на доске.
2. Вступительное слово учителя (+опрос по систематизации знаний)
Ребята, мы учимся у героев книг думать, искать, жить по совести. Для Достоевского законы нравственности и совесть – основы основ поведения человека – высшие ценности.
1. На прошлом уроке мы обсуждали такие термины, как «социальная несправедливость» и «гуманизм». Давайте вспомним, что это такое, какова роль этих понятий в системе ценностей автора (исходя из биографии писателя и текста романа). (Примерный ответ: СН – пропасть, огромный разрыв между бедными и богатыми. Примеры из текста: жизнь Сонечки, Раскольникова, всей Семьи Мармеладовых (они нищие); Лужин, Свидригайлов (подлецы, но материально обеспечены); Г – мировоззрение, в центре которого находиться идея человека как высшей ценности. В романе поднимается и проблема ложного гуманизма (сцена на поминках: Лужин «помогает» Сонечке). И в дополнение: духовное просветление, по Достоевскому, невозможно без опыта греха и зла).
2. Хорошо. Еще на прошлом уроке мы с вами обсуждали смысл названия романа «Преступление и наказание». Давайте вспомним. (Примерный ответ: В названии обозначена тема, названы те нравственные категории, о которых будет рассуждать автор. Преступление – это и убийство, и преступление через законы нравственности; наказание – это и каторга, и муки совести).
3. Работа с эпиграфом
Ребята обратите внимание на эпиграф (учитель зачитывает эпиграф, и учащиеся записывают его в тетрадь). Как вы думаете, о чем эти слова. (Примерный ответ: О борьбе добра и зла в наших мыслях и в нашей душе, о тех «демонах» и «ангелах», которые нам позволяют поступать по совести или против нее; о том, что мы никогда не можем до конца определить, кто из этих двух сторон нашей же сущности прав, а кто – нет).
А каковы же “Ангелы” и “Демоны” Родиона Раскольникова. Добро и зло – вечные ипостаси бытия, что побеждает на весах жизни главного героя? Какова теория Раскольникова и ее связь с образом жизни в “петербургских углах”? Теория связана с преступлением, поэтому главная проблема: возможно ли делать добро людям с помощью преступления? И каковы же причины, побудившие Раскольникова совершить преступление?
Чтобы ответить на эти вопросы давайте охарактеризуем героя:
· Имя? (Примерный ответ: Родион – от греч. имени Иродион «герой» (покровитель имени св. Родос – монах-отшельник, желающий искупить все грехи людей); Раскольников – «раскол»).
· Основные характеристики героя (по тексту)? (Примерный ответ: «задавлен бедностью», проблема трусости (постоянные размышления об убийстве, страх, что может все провалиться или его раскроют), расстроенные нервы, приятная внешность (хорош собою, темные глаза, темно-русые волосы, ростом выше среднего, тонок и строен), постоянно голоден, одет в лохмотья (и «приметная» шляпа героя), его жилище – каморка,напоминающая шкаф или гроб, постоянные внутренние монологи (о бессилии, о нерешительности), слабые нервы. «Бедность не порок, а истина. Нищета – вот порок» (Мармеладов). В бедности еще сохраняется благородство. История Мармеладовых - крайняя степень нищеты).
· «Проба» убийства.
· Убийство.
Что же толкает героя на убийство?
Истоки бунта (схему и положения после нее учащиеся записывают в тетрадь; схема заранее записана учителем на доске)
Петербург Достоевского
(«город, в котором невозможно быть»)
Пейзажи
(«отвратительный и грустный колорит»)
Сцены уличной жизни
(пьяный в телеге, пьяная девушка, смерть Мармеладова)
Интерьеры
(каморка Раскольникова, кабак, «проходной» угол Мармеладовых
|
|
|
· Герой не принимает «лк мира сего» (омерзение, злобное презрение к столпам общества).
· Герой в состоянии острого нервного возбуждения, он духовно и физически подавлен.
· Мучают Раскольникова не бедность и нищета, а попытки решить вопрос: «тварь ли я дрожащая или право имею»?
Примечание: вопрос сразу не продиктован учащимся, он будет назван в ходе беседы самими учащимися и потом записан в вышестоящем пункте.
4. Беседа
· Зачем Раскольников вышел из своей каморки перед убийством, отсчитывал шаги, осматривался? (Примерный ответ: Делать пробу убийства) Ребята, проба убийства – это необычно, ненормально.
· Вспомните разговор студента с офицером в распивочной. (Примерный ответ: Они разговаривали о старухе-процентщице, о ее бесполезном житье в этом мире). Как вы думаете, какова причина возникновения «безобразной мечты» Раскольникова? (Примерный ответ: Мысль об убийстве рождена несправедливостью в обществе и желанием помочь людям. Сознание героя в плену этой идеи).
· В чем же сомнения Раскольникова? Они возникают и перед пробой, и после нее. (Примерный ответ: Мысли об убийстве - - нравственной сознание; бесчеловечность мысли - - страшные духовные искания, а потом и мучения)
· Давайте вспомним письмо матери Раскольникову (Примерный ответ: Краткое содержание письма. Сделать акцент на бедственном положении любимых людей Раскольникова, обратить внимание, почему же Дуня собирается замуж за Лужина). Как вы думаете, это письмо играет какую-то роль? Могло ли и письмо от матери подтолкнуть Раскольникова на преступление? (Примерный ответ: Да, играет. Да, оно подтолкнуло. Или скорее даже утвердило намерения Родиона. Ведь он хотел помочь любимым людям).
· Мы с вами видим, что герой противоречив. Какие противоречивые качества вы можете назвать? (Учащиеся называют качества героя, опираясь на текст).
| «+» | «-» |
| Чуткость | Холодность |
| Отзывчивость | Осуждение своей отзывчивости, чуткости |
| Боль за человека | Равнодушие |
| Острая реакция на несправедливость и зло | Жестокость |
А также быстрая смена настроений, переход от доброго к злому.
|
|
|
Примечание: Таблица и предложение за ней фиксируются в тетрадь.
· Что толкает Раскольникова на преступление? (Примерный ответ: Скорбь за страдающее человечество и толкает Раскольникова на преступление. Автор напоминает об этом снова и снова. “О, если б я был один и никто не любил меня и сам бы я никого не любил! Не было бы всего этого”, – думает герой. Ученик 1: «Из этих слов видно, что перед нами гуманный, сострадательный, но запутавшийся человек». Ученик 2: «Мне кажется, что он – страдалец за человечество. Он своего рода бунтарь, не желающий мириться с несправедливыми законами общества». Ученик 3: «Я не согласна с этим мнением. Главное, он хотел проверить себя, свою теорию, согласно которой делил человечество на два разряда: “тварей дрожащих”, способных к подчинению, и “право имеющих”, особенных людей, которым все дозволено. Им овладела гордыня, желание испытать себя: кто он – “тварь дрожащая” или “право имеет”? Он испытал себя, теория его потерпела крах. Он – неудавшийся Наполеон»).
Вывод в тетрадь: Герой испытывает страдание при виде бедствий окружающих людей и в то же время поглощен своей болезненной идеей – страстью, которая приводит его в конце концов к раскаянию, поэтому он – страдалец за человечество и “неудавшийся Наполеон”. И главная причина его преступления – проверка теории.
Сейчас прозвучал вопрос, который пытался решить Раскольников. Давайте запишем его (учащиеся оставляли место в тетради; истоки бунта)
· Суть теории изложена в статье Раскольникова «О преступлении», которая за 2 месяца до убийства была опубликована в газете «периодическая речь» (об этом сообщает Порфирий Петрович). Раскольников комментирует Порфирию Петровичу содержание этой статьи: «Это совсем как у меня.. И те, и другие имеют совершенно одинаковое право существовать». А) В статье Раскольников делает выводы по истории. Какие? (Примерный ответ: Исторический процесс осуществляется на чьих-то страданиях). Б) А в чем же состоит суть теории? (Примерный ответ: Одним дано право вершить прогресс. Результат истории оправдывает жертвы. Пример тому Наполеон). В) И мы с вами, ребята, уже определили к кому принадлежит сам Раскольников (страдалец за человечество и “неудавшийся Наполеон”), а сам Родион определил, кто же он? (Примерный ответ: Раскольников говорит о 2 категориях людей. Но он еще не может определить, «тварь ли он дрожащая» или «право имеющий»).
· “Вошь ли я, как все, или человек?”- спрашивает себя Раскольников; что вы слышите в этих словах: любовь к людям или презрение к ним? Верил ли герой в человека? (Примерный ответ: Ученик 1: «Раскольников хочет осчастливить все человечество. Он не приемлет законов общества, основанных на кровопролитии и стремится принести благо людям, значит, он любит людей. Помогает семье Мармеладова, вступается за пьяную девушку. Да, он верит в человека. Он исполнен сочувствия к людям». Ученик 2: «Я не согласен с тем, что он верит в человека, да, он помогает бедным, униженным и оскорбленным, таков и он сам – беден, унижен и оскорблен – но если бы он верил в неограниченные возможности человека, который может преобразовать данную жизнь и сделать её прекрасной, то он сделал бы это не через преступление. “Кровь по совести” оправдать нельзя, ради борьбы за лучшее будущее нельзя вступить на путь насилия. У героя нет гармонии в душе, а чувствуется раздвоенность личности. Недаром автор наделил его фамилией Раскольников»).
Возможно ли сочетать стремление к власти над людьми с любовью к людям? Если цель благородна, то любые ли средства для её достижения хороши? Может быть, Раскольников был преступником по сути? (Примерный ответ: Сначала Раскольников приходит к выводу, что миром правит зло, муки хороших, но беззащитных людей неизбывны. Следовательно, всеобщему злу нужно противопоставить такое же зло, только меньшее. Он не хочет понимать, что сочетать любовь к людям со стремлением к власти над ними нельзя, хотя изначально он преступником не был. Постепенно он приходит в себя. И внезапно понимает, что пролитая кровь словно отделила его от всех людей, начинает задумываться о моральной казни – это первый шаг на пути к воскрешению).
5. Просмотр фрагмента фильма “Преступление и наказание” (теория Раскольникова) и обсуждение сцены, сопоставление с текстом.
Примечание: видеофрагмент предоставлен из личной видеотеки учителя.
Беседа после просмотра видеофрагмента.
· Понравилось/не понравилось
· Ребята, как вы думаете, смог ли режиссер передать замысел автора, смог ли он показать глубину текста? Ответ обоснуйте. (Примерный ответ: Ученик 1: Да, сюжет фильма соответствует содержанию, герои представлены такими, какими я их себе представлял. Ученик 2: На мой взгляд, мастерство Достоевского как психолога очень сложно передать, практически невозможно. Режиссер очень хорошо поработал с текстом, образы яркие, достаточно точные, но думаю, всей глубины показать в фильме не смог).
· Почему преступление Раскольникова не принесло никакого блага ни людям, ни ему самому? В чем беда и в чем вина героя? (Примерный ответ: Ученик 1: «Самое святое на земле, высшая ценность – это человеческая жизнь, и никто не вправе покушаться на неё. “Не убий!” – гласит заповедь Закона Божия, согласно которому мы и должны выстраивать свою жизнь. Всем ходом повествования писатель показывает, что одно преступление всегда влечет за собой и последующее. Нельзя построить жизнь по какой-то теории, пусть даже прекрасной. Если идея начинает овладевать человеком до такой степени, что он становится ее рабом, фанатиком, то это беда. Мания превосходства и вседозволенности неизбежно приводит к разрушению личности, губит человека. Вина в том, что он совершил преступление». Ученик 2: «Раскольников – физиологический нормальный человек. И несомненно: нормальный человек и убийство – две вещи “несовместимые”. Но ведь об этом знают все нормальные люди и без романа! Зачем же тогда нужен роман?»).
Ученица одной фразой завела всех в тупик
· Тем не менее, роман успешно перекочевал из одного века в другой, хорошо чувствует себя в нем и даже претендует на такое же положение в веке следующем. Действительно, почему?
Разгадка живучести этого романа в его эпилоге. Какие здесь вещие слова! Вот что говорит самому себе Раскольников уже на каторге: “Ну чем мой поступок кажется им так безобразен?” И далее он пытается самому себе доказать, что беда его вся в том, что он здесь, на каторге, а другим удалось все – таки остаться на свободе.
Ответ Достоевского ясен: все-таки “… он воскрес, и он знал это…, так как “под подушкой его лежало Евангелие”.
6. Подведение итогов. Домашнее задание.
Выставление оценок.
Домашнее задание:
1. Творческая работа «Письмо герою» (Раскольникову). Требования: сохранение особенностей жанра письма. Содержание: письмо из 19 века; поговорите с героем, что вы принимаете, а что отвергаете во взглядах и жизненных принципах, за что вы могли бы поблагодарить, что бы вы посоветовали ему.
2. Перечитать следующие главы: Ч1 ГЛ2, Ч4, ГЛ4, Ч5ГЛ4.
3. Индивидуальное задание: краткий пересказ жизни семьи Мармеладовых (Ч1ГЛ2).
Список использованной литературы
1. Достоевский, Ф.М. «Преступление и наказание»// https://www.flibusta.net/b/169962
2. Лебедев, В.В.Литература 10 кл. Учеб. для общеобразоват. Учреждений. Базовый и профильный уровни. В 2 ч. Ч.2 Ю.В.Лебедев. – 9-е изд.. – М.: Просвещение, 2007.-383 с.
3. Нестандартный урок по литературе: Сборник методических разработок. В 2-х частях/ МО РФ Челяб. Филиал ИПО/ под ред В.Я. Легаева. – Челябинск, 1993.
4. Учебник для вузов. Русская литература 20 века под ред Кременцовой Л.П..






