Можно выделить условно три основных составляющих:
· ядерный топливный цикл и снижение его воздействия на окружающею среду (ОС);
· повышение безопасности при эксплуатации, снижение риска для населения, персонала и ОС;
· прекращение эксплуатации и демонтаж с минимизацией воздействия на ОС.
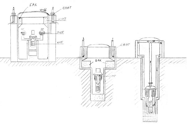
Безопасность при эксплуатации во многом закладывается в проекте, например, более безопасным считается иногда заглубленное размещение АЭС с ВВЭР (PWR) (рис. 15.1). Это не очевидный путь.
|
|
|
Рис. 15.1. Расположение АЭС с ВВЭР:
а – обычное наземное; б – заглубленное на 30 м; в – на 40 м.
Этому несколько причин:
· удорожание одного 1 кВт·ч с ростом глубины заложения. Проектные изыскания по АЭС "Candia" (США) показали удорожание при различной глубине залегания АЭС: неглубокое – 14–25%, 31 м – 27%, 40 м – 46%;
· удорожание, в основном, наблюдается из-за требований обеспечения антисейсмичности в условиях размещения тяжелых элементов СПОТ (системы пассивного отвода тепла) на повышенных относительно реактора отметках.
|
|
|
· при разносе высот между центрами активной зоны и парогенератора ~9,3 м удается (как в типовом проекте) отводить тепло самоциркуляцией при мощности до 1000 МВт (тепловых); при 25–30м – до 2000 МВт. Полностью безнасосную (без ГЦН) схему циркуляции теплоносителя в I-м контуре даже при очень значительных заглублениях АЭС добиться вряд ли удастся. Кроме того, в существующих ВАБ АЭС (вероятностных анализах безопасности) показано, что ГЦН (главные циркуляционные насосы) вносят лишь относительно невысокую долю в общую аварийность. Проблемы, связанные с локализацией больших и средних течей и др. остаются, а их решение с заглублением АЭС, возможно, даже усложнится.
· заглубленная оболочка должна быть герметична до давлений 15–20 кг/см2 вместо 8 кг/см2 (в типовом проекте). Проблемы с безопасностью остаются (миграция радионуклидов в почву и грунтовые воды), затруднены локализации аварий в стесненных пространствах при подземной компоновке.
В варианте наземных АЭС необходим двойной защитный контейнмент с вентилируемым зазором между внутренней и внешней оболочкой, а возможно, ловушка расплава активной зоны (кориума). Это также удорожает стоимость АЭС в заглубленном проекте.






