KP580ИР82 и КР580ИР83
| Обозначение вывода | Номер контакта | Назначение вывода |
| 01(7 - 0) | 8; 7: 6; 5; 4: 3: 2; 1 | Входы данных |
| STB | Вход сигнала стробирования | |
| ОЕ | Вход сигнала разрешения ввода | |
| 00(7 - U) | 12; 13; 14; 15; 16; 17; 18; 19 | Выходы данных |
| Ucc | Напряжение питания (+5 В) | |
| GND | Напряжение питания (0 В) |
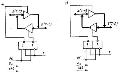
Шинные формирователи К580ВА86 и 87 (рис. 3.15) представляют 8-разрядные параллельные приемопередатчики с тристабильными выходами. Они используются для реализации различных буферных схем в микропроцессорных системах на базе МП К580ИК80À и К1810ВМ86. На выходах микросхемы КР580ВА86 генерируются не инвертированные выходные данные, а на выходах микросхемы КР580ВА87 - инвертированные.
Структурные схемы шинных формирователей моделей 86 и 87 представлены на рис. 3.15, а назначение входных и выходных сигналов указано при описании выводов микросхем (табл. 3.18).
При H-уровне сигнала на входе Т и L- уровне сигнала на входе ОЕ информация с выводов А (7- 0) передается на выводы В (7- 0).
![]() |
Рис. 3.15
Таблица 3.18. Выводы шинных формирователей







