Абсорбция – процесс поглощения газов жидкими носителями – абсорбентами. Абсорбция применяется для очистки коксовых газов, от NH3, очистки коксовых газов от Н2S, SO2, и т.д. (получение HCl, H2SО4, HNO3)
Абсорбция протекает на границе раздела фаз, и поэтому должны быть развита поверхность контакта. Если в сосуд поместить газ с концентрацией газа Сг и Р, то газ будет растворяться в жидкости. По мере его накопления в жидкости увеличивается и обратный процесс - десорбция. Затем наступает динамическое равновесие, которое выражается законом Генри:
C
= HC
или C
= H’P
H, H’ – коэффициенты Генри, P – парциальное давление газа

или 
Если выразить P = Pобb, где b – долевая концентрация газа, то
C
= Н’Pобb
То есть равновесная концентрация газа в жидкости, достигаемая при одном и том же составе газа, пропорциональна общему давлению газа. Кинетика абсорбции, как процесс перехода молекул газа в жидкую среду, характеризуется тремя стадиями.
1. Диффузия молекул газа из объема к поверхности жидкости.
2. Распределение молекул газа в поверхностном слое.
|
|
|
3. Диффузия растворенных молекул газа из поверхностного слоя в объем жидкости.
Первая стадия протекает за счет разности концентрации газа в объеме и поверхностном слое жидкости. Это типично диффузионный процесс.

где gг/τ – скорость поглощения, βг – коэффициент массопередачи в газовой фазе, F – поверхность жидкости, Сг и С’г – концентрации газа в объеме и поверхностном слое газа.
Вторая стадия является быстрой и не лимитирует скорость всего процесса. В этой стадии на поверхности достигается равновесие, записываемое по закону Генри.
C’ж = HC’г
C’ж и C’г – концентрации газа в поверхностном слое жидкости и поверхностном слое газа.
Третья стадия также является диффузионным процессом
– скорость диффузии в жидкой среде
где βж – коэффициент массопередачи в жидкой фазе, F – поверхность, C’ж и Сж – концентрации газа в поверхностном слое и объёме жидкости.
При установившемся режиме абсорбции

C’ж = HC’г,
, отсюда
|•H

Теперь почленно сложим 2 уравнения
HCг–C’ж =
| + |
C’ж–Cж =
|
HCг–Cж = 

– коэффициент скорости массопередачи
– общая формула скорости абсорбции. Она упрощается, если исходить из растворимости газов в жидкости.
1. Если газ малорастворима в жидкости, то
С’г ≈ Сг, откуда НCг ≈ C’ж и Н – мало
тогда
=> K ≈ βж
и общее уравнение абсорбции

то есть скорость процесса абсорбции малорастворимого газа будет лимитироваться скоростью процесса в жидкой фазе.
2. Если газ хорошо растворим в жидкости
Сж ≈ С’ж, откуда Cж ≈ HC’г =>
≈C’г
Н – велико,
=> K → βг
тогда 
|
|
|
и общее уравнение абсорбции

то есть скорость процесса абсорбции хорошо растворимого газа определяется скоростью процесса в газовой фазе.
3. Химическая абсорбция.
, так как Сж = 0
в растворе химическое взаимодействие
Аппараты для абсорбции называются абсорберами. Они подразделяются на:
1. Поверхностные.
В абсорберах этого типа поверхностью соприкосновения фаз является зеркало жидкости или поверхность протекающей жидкой плёнки.
Абсорбер выполнен из ряда расположенных друг над другом элементов 1, орошаемых снаружи водой. В каждом элементе имеется порог 2, посредством которого поддерживается определённый уровень жидкости. Абсорберы данного типа малоэффективны и имеют ограниченное применение, главным образом для абсорбции небольших количеств хорошо растворимых газов (получение HCl).
2. Плёночные.
Устройство работы показанного на рисунке абсорбера следующее. Поглотитель поступает на верхнюю трубную решётку, распределяется по трубам и стекает по их внутренней поверхности в виде тонкой плёнки. Газ движется по трубам снизу вверх навстречу стекающей жидкой плёнке. Для отвода выделяющегося при абсорбции тепла по межтрубному пространству. Пропускают воду или другой охлаждающий агент.

Абсорберы данного типа применяются для абсорбции плохо растворимых газов. Жидкостная пленка тонкая и обновление поверхности высокое.
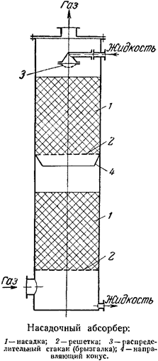
3. Насадочные.
Они представляют собой колонны, загруженные насадкой – твёрдыми телами различной формы. При наличии насадки увеличивается поверхность соприкосновения газа и жидкости.
На насадочном абсорбере, показанном на рисунке, насадка 1 опирается на решётки 2, в которых имеются отверстия для прохождения газа и стока жидкости. Газ поступает в колонну снизу и движется вверх противотоком по отношению к жидкости. Подаваемая на насадку жидкость должна быть равномерно распределена по сечению колонны. Для подачи жидкости применяют желоба, дырчатые трубы и другие устройства. В абсорбере, показанном на рисунке, жидкость подаётся на насадку при помощи распределительного стакана 3 (брызгалка), в котором имеется большое количество отверстий диаметром 3-6 мм. Жидкость поступает в распределительный стакан из напорного бака или подаётся непосредственно насосом и вытекает из отверстий стакана отдельными струями. Для предотвращения растекания жидкости к стенкам, иногда насадку засыпают не сплошь на высоту, а виде отдельных слоёв как показано на рисунке. Высота отдельных слоёв 1,5-3 м. Для перераспределения жидкости и отвода её от стенок под каждым слоем насадки, кроме нижнего, устанавливают направляющий конус 4.

4. Барботажные.
В барботажных абсорберах поверхность соприкосновения фаз развивается потоками газа, распределяющегося в жидкости в виде пузырьков воздуха. Такое движение газа называется барботажем.
На рисунке газ проходит через отверстия 1 диаметром 2-5 мм и барботирует через слой жидкости на тарелке. При нормальной работе колонны жидкость не протекает через отверстия, так как она поддерживается снизу давлением газа. Высота слоя жидкости на тарелке составляет 25-30 мм и определяется положением верхних концов переливных труб 2.
Преимуществами барботажных абсорберов являются хороший контакт между фазами и возможность работы при любом, в том числе и низком, расходе жидкости. Основные недостатки – сложность конструкции и высокое гидравлическое сопротивление, связанное при пропускании больших количеств газа со значительными затратами энергии на перемещение газа через аппарат. Поэтому барботажные абсорберы применяют преимущественной в тех случаях, когда абсорбция ведётся под повышенным давлением, так как при этом высокое гидравлическое сопротивление не существенно.
|
|
|