На промышленных предприятиях часто давление пара, поступающего от ТЭЦ, значительно превышает требуемое. В частности, при изучении системы пароснабжения стадии дегидрирования изоамиленов в изопрен выявлено, что здесь производится дросселирование пара давлением от 1,3 до 0,5 МПа. Всего от ТЭЦ на стадию дегидрирования подается 159,12 т/ч пара (для разбавления 1т изоамиленовой фракции 5,6 т пара). В котлах-утилизаторах вырабатывается 105,768 т/ч пара. Полное потребление водяного пара на стадии составляет 264,88 т/ч, что существенно влияет на себестоимость получаемого изопрена. Замещение схемы с дросселированием пара схемой с пароструйными компрессорами для повышения температуры пара вторичного вскипания конденсата позволит значительно снизить потребление пара от ТЭЦ.
Централизованная утилизационная система представляет собой замкнутый контур, в котором циркулирует промежуточный теплоноситель (рис. 3.4), последовательно проходя ступени нагрева за счет использования теплоты ВЭР; буферный подогреватель, в который подается теплота от внешнего источника; ступени охлаждения за счет передачи теплоты потребителям; буферный охладитель.

Рис. 3.4. Принципиальная схема централизованной утилизационной системы
БО — буферный охладитель; БП — буферный подогреватель; ТТ — термосифонный теплообменник
Для исключения контакта теплообменивающихся сред, что может произойти в условиях эксплуатации теплообменного оборудования технологических систем, а также для снижения температуры и необратимых потерь при передаче теплоты целесообразно использовать теплообменники на тепловых трубах или термосифонах.
Теплота, утилизированная в данной системе, может быть использована в технологических узлах t< 150 °С, или в системах отопления и вентиляции, работающих в температурном режиме 130/70 °С, и пр.
Анализ выхода ВЭР ряда химических и нефтехимических производств показал, что 60 % ВЭР имеют температуру менее 70°С; 30 % ВЭР — 70—150°С; 10 % ВЭР — более 150°С.
Таким образом, объемы ВЭР температурой 40—70°С значительно превышают объемы ВЭР более высоких температур. Поэтому для исключения чрезмерных нагрузок на буферные теплообменники-подогреватели необходимо организовать перераспределение циркулирующего теплоносителя, т.е. часть рабочей среды отбирать от подогревающей ветви (t < 70 °С) и направлять ее на охлаждающую.
Теплота таких параметров в полной мере применения не находит. Повышение доли использования ВЭР может быть организовано за счет подключения к системе парокомпрессионных теплонасосных установок или АТТ, работающих в режиме теплового насоса для повышения температуры теплоносителя до 90—130 °С.
Теплота температурой 70—130 °С направляется непосредственно на нужды теплотехнологии и выработку холода различных параметров при помощи АТТ: для получения захоложенной воды температурой 5—10 °С (на АБХМ достаточно 70—90 °С) и выработки холода температурой 5...-40 °С (температура ВЭР должна быть 90—130°С).
Кроме того, температура утилизируемой теплоты 105—130 °С вполне достаточна для систем отопления и вентиляции промышленного предприятия.
Утилизируемые ВЭР температурой 130—150 °С, имеющие более «качественные» термодинамические характеристики, находят широкое применение в теплотехнологии и могут быть использованы для получения холода более низкой температуры -40 °С.
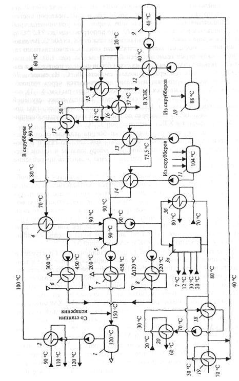
Основой централизованной утилизационной системы являются два контура (рис. 9.5), объединенных между собой промежуточной емкостью. В контурах обеспечивается непрерывный транспорт теплоты от источников к потребителям.
Первый контур служит для организации отвода теплоты дымовых газов трубчатых печей и парогазовой смеси после котлов-утилизаторов за счет нагрева циркулирующей в контуре воды от 90 до 150 °С.
Теплота от дымовых газов трубчатых печей отводится в котлах-утилизаторах на термосифонах (КУТТ) 7, установленных в боровах печей пяти малых систем, и змеевиках б, устанавливаемых в верхней части трубчатой печи шестой системы. Теплота от парогазовой смеси отводится в теплообменниках на термосифонах 8, устанавливаемых на линии парогазовой смеси перед скрубберами первой ступени.
Питательная вода подается в котлы-утилизаторы всех шести систем после сепаратора 1 температурой 120 °С.

Рис. 3.5. Утилизационная система в энерготехнологическом производстве изопрена
Горячая циркуляционная вода температурой 150 °С используется как источник образования пара вторичного вскипания. Для этого производится расширение потока в сепараторе 1 с образованием пара вторичного вскипания за счет снижения давления с 0,5 МПа в трубопроводе циркуляционной воды до 0,2 МПа в сепараторе 1. Образовавшийся пар вторичного вскипания отсасывается пароструйным компрессором, в котором используется энергия расширения пара с ТЭЦ от давления 1,3 МПа до технологического давления 0,45 МПа. Такое решение позволяет полезно использовать энергию расширения, теряемую при вынужденном дросселировании водяного пара.
После сепаратора 1циркуляционная вода температурой 120 °С насосами подается на питание котлов-утилизаторов и в теплообменник 2, где осуществляется подогрев технологической воды с 90 до 110 °С.
На выходе из теплообменника 2 циркуляционная вода охлаждается в теплообменнике 4 от 100 до 90 °С и поступает в промежуточную емкость 5.
Подпитка первого контура осуществляется водой, последовательно подогреваемой от 20 до 90 °С в теплообменниках 15, 16, 17 засчет охлаждения сливаемого в химически загрязненную канализацию (ХЗК) конденсата контактного газа и охлаждения циркуляционной воды в теплообменнике 4.
Второй контур организуется для утилизации теплоты конденсата контактного газа, отводимого от скрубберов и конденсаторов систем дегидрирования. Циркуляционная вода второго контура температурой 40 °С подается в теплообменник 12, где подогревается до 73,5 °С за счет охлаждения конденсата контактного газа от 88 до 60 °С. В теплообменнике 12 осуществляется охлаждение конденсата контактного газа после скрубберов технологической системы. Конденсат контактного газа на выходе из скрубберов сначала поступает в емкость 10. Средняя температура воды в емкости 88 °С. Из емкости 10 конденсат контактного газа насосами прокачивается через теплообменник 12, где охлаждается до расчетной температуры, после чего распределяется по скрубберам последующих ступеней технологической системы. Излишек конденсата контактного газа после использования для подогрева подпиточной воды в теплообменнике 15 сбрасывается в ХЗК с температурой 37 °С.
Предлагаемая схема охлаждения скрубберов отличается от существующей схемы охлаждения конденсата контактного газа и позволяет сконцентрировать утилизационное оборудование в одном месте, что повышает надежность работы схемы и снизить потребление оборотной воды.
Циркуляционная вода температурой 73,5 °С подается в теплообменники 13 и 14, в которых подогревается соответственно до 90 и 80 °С за счет охлаждения конденсата контактного газа с температурой 104 °С. В 13 и 14 используется конденсат контактного газа после скрубберов 7, 15 и конденсатора 9. Конденсат контактного газа, отводимый из скрубберов, поступает в емкость 11, средняя температура воды в которой составляет 104 °С. Излишек конденсата контактного газа после подогрева подпиточной воды в теплообменниках 16 и 17 сбрасывается в ХЗК с температурой 37 °С.
После теплообменников 13 и 14 циркуляционная вода поступает в промежуточную емкость 5. Из емкости 5 циркуляционная вода с температурой 90 °С поступает в АБХМ За, в которой вырабатывается захоложенная вода с температурой 7°С, Работа АБХМ имеет свои сезонные особенности. По литературным данным, в режиме выработки холода АБХМ рекомендуется использовать в течение 6 «теплых» месяцев в году (с мая по октябрь). В остальные месяцы АБХМ может работать в режиме выработки теплоты. В рассматриваемой системе представляется целесообразным в зимнем режиме работы утилизационной системы использовать теплоту для подогрева воды на нужды отопления в теплообменнике 3б, а АБХМ законсервировать.
После АБХМ циркуляционная вода температурой 80 °С поступает в теплообменники 18 и 19, в которых охлаждается до 40 °С за счет подогрева технологической воды от 30 до 70 °С. Часть технологической воды температурой 70 °С используется на станции испарения сырья для его предварительного подогрева от 20 до 60 °С в подогревателе 20. Оставшаяся часть воды может быть использована в технологии после дополнительного подогрева до 130 °С в транссониках, а также для покрытия нагрузок отопления и горячего водоснабжения. Доохлаждение воды до 30 °С обеспечивается либо оборотной водой в теплообменниках либо воздухом в аппаратах воздушного захолаживания.
Дополнительная подпитка контуров осуществляется через подпиточную емкость 9 частью воды температурой 42 °С, поступающей с линии после теплообменников 15 и 16.
Обводные линии обеспечивают циркуляцию воды при выходе из строя любого элемента, подключенного к контурам, а также регулирование тепловой нагрузки по холоду и горячей воде в зависимости от потребностей предприятия. В случае прекращения циркуляции воды в замкнутых утилизационных контурах для обеспечения нормального протекания технологических процессов предусматривается подвод оборотной воды от градирни.
В качестве теплообменного оборудования циркуляционных контуров предлагается использовать модульные теплообменники на термосифонах и термосифонные котлы-утилизаторы.
Представленная утилизационная система позволяет решить целый ряд задач, направленных на повышение эффективности энергопотребления производства, поэтому энергетический эффект от ее внедрения включает:
- экономию пара, поступающего от ТЭЦ, за счет замещения доли высококачественного теплоносителя паром вторичного вскипания;
- снижение потребления электроэнергии при замене парокомпрессионных холодильных машин на АБХМ;
- экономию тепловой энергии за счет снижения затрат на отопление, горячее водоснабжение и подогрев технологических потоков.
Помимо вышеперечисленных факторов прогнозируется улучшение экологических показателей безопасности работы промышленного объекта, связанных с уменьшением тепловых выбросов в атмосферу и некоторым снижением объемов загрязненных промышленных стоков.






