Принципы построения систем автоматического регулирования напряжения
Требования Правил Регистра к сохранению работоспособности судовых приемников электроэнергии при колебаниях напряжения и частоты тока сети
Правила Регистра предъявляют жесткие требования к качеству электроэнергии
(величине напряжения, частоты тока и др.), выполнение которых обеспечивают АРЧ
дизелей (турбин) и АРН судовых генераторов.
Однако на практике возможны нарушения этих требований вследствие, например, износа топливных насосов, старения полупроводниковых приборов в составе АРН и т.п.
Поэтому судовые приемники электроэнергии должны сохранять работоспособ-
ность даже при отклонениях питающего напряжения и частоты тока от номинальных значений, указанных в табл. 3.3.
Таблица 3.3.
Допускаемые для судовых приемников электроэнергии отклонения (%) напряжения и частоты от номинальных значений
| Параметр | Длительное | Кратковременное |
| Напряжение Частота | + 6…-10 ± 5 | + 20…-30* ± 10** |
Примечание:
* в течение 1,5 с;
* в течение 5 с.
Основной функцией АРН является стабилизация напряжения СЭС посредством изменения тока возбуждения генератора.
Кроме того, схемы АРН дополняются устройствами, обеспечивающими надежное самовозбуждение СГ на холостом ходу и контурами коррекции напряжения по частоте и температуре генератора.
Все комплектное устройство, обеспечивающее самовозбуждение генератора и ста-
билизацию его напряжения, будем называть системой возбуждения и автоматического регулирования напряжения (СВАРН).
В СВАРН часть энергии переменного тока отбирается с выводов генератора, регу-
лируется элементами АРН, преобразуется в энергию постоянного тока и подается в обмот-
ку возбуждения генератора (см. выше 2. РЕЖИМЫ РАБОТЫ СЭЭС. ГЕНЕРАТОРНЫЕ АГРЕГАТЫ, п. 5.2 «Системы возбуждения СГ»)..
СВАРН СГ могут быть построены по одному из следующих принципов регулиро-
вания тока возбуждения:
1. по отклонению регулируемой величины – напряжению генератора;
2. по возмущающему воздействию – току нагрузки (прямое компаундирование)
или току нагрузки и коэффициенту мощности (прямое фазовое компаундирование);
3. по отклонению регулируемой величины и по возмущающему воздействию
(комбинированные системы).
3.2. Системы АРН, действующие по возмущению.
Для синхронных генераторов под возмущением понимают изменение тока нагрузки по значению и характеру (амплитуде и фазе).
Обязательным признаком таких систем является наличие в составе СВАРН транс-
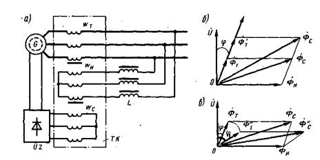
форматора (фазового) компаундирования ТК (рис. 3.4, а).

Рис. 3.4. Система возбуждения и автоматического регулирования напряжения с регулированием по возмущению: а – принципиальная схема; б – векторная диаграмма магнитных потоков ТК при изменении тока нагрузки по значению (амплитуде); в – то же, при изменении тока нагрузки по характеру (фазе)
На общем магнитопроводе ТК расположены первичные обмотки тока wт, напряже-
ния wн и вторичные, суммирующие обмотки wc.
Векторы магнитных потоков обмоток ТК совпадают с векторами токов соответст-
вующих обмоток.
Значение вектора магнитного потока Фт, создаваемого обмотками wт, определяет-
ся значением тока нагрузки генератора, а его направление совпадает с направлением век-
тора полного тока генератора I (рис. 3.4, б).
Значение и направление вектора Фн не зависят от тока нагрузки генератора и опре-
деляются сопротивлением цепи обмоток w н. В данном случае благодаря включению ком-
паундирующего элемента (дроссель L) вектор тока и магнитного потока в обмотках w н
отстает от вектора напряжения генератора примерно на угол 90° (рис. 3.4, б).
Магнитные потоки Фт и Фн создают в совокупности суммарный магнитный поток
Фс = Фт + Фн, который пересекает суммирующую обмотку и индуктирует в ней перемен-
ную ЭДС.
Эта ЭДС выпрямляется при помощи выпрямительного мостика UZ, вследствие чего через обмотку возбуждения СГ протекает постоянный ток возбуждения.
В соответствии с соотношением Е = сωФ, чем больше ток возбуждения, тем боль-
ше магнитный поток Ф и тем больше ЭДС СГ.
На практике изменение тока нагрузки генератора происходит одновременно как по значению, так и характеру.
Для упрощения объяснения рассмотрим изменение тока нагрузки поочередно,
сначала по его значению (рис. 3.4, б), а затем по характеру (рис. 3.4, в).
В случае увеличения тока нагрузки СГ без изменения фазы (см. рис. 3.4, б) (φ =
= соnst) напряжение генератора может уменьшиться, однако вместе с током нагрузки увеличится магнитный поток обмоток тока до значения Ф'т. Соответственно увеличится магнитный поток суммирующих обмоток Фс до значения Ф'с. Ток возбуждения СГ возрастет, и напряжение восстановится до номинального значения.
Таким образом, в СГ токовые обмотки wт выполняют ту же роль, что последова-
тельная обмотка возбуждения в генераторах постоянного тока смешанного возбуждения, а именно: компенсировать своим магнитным потоком потерю напряжения вследствие увели
чения нагрузки. Напомним, что именно благодаря наличию последовательной обмотки возбуждения генераторы постоянного тока смешанного возбуждения не нуждаются в авто
матических регуляторах напряжения и поэтому применяются в качестве основных генера-
торов, предназначенных для производства электроэнергии.
В случае изменения тока нагрузки генератора по фазе при постоянном его значении (рис. 3.4 в) (I = соnst) изменяется размагничивающее действие продольной составляю-
щей магнитного потока реакции статора. В результате ЭДС генератора также изменит свое значение. На диаграмме в связи с увеличением индуктивной составляющей тока вектор Фт переместится в положение Фт". Суммарный магнитный поток увеличится до значения Фс"> Фс. Ток возбуждения СГ увеличится, а напряжение стабилизируется.
Регулирование тока возбуждения СГ по значению и характеру (амплитуде и фазе) тока нагрузки называется амплитудно-фазовым компаундированием. В переводе с англий-
ского глагол to compound означает «смешивать», в данном случае, смешивать магнитные потоки токовых обмоток и обмоток напряжения и получать суммарный магнитный поток, пересекающий витки суммирующих обмоток.
В рассмотренной схеме суммирование воздействий тока нагрузки и напряжения выполнено электромагнитным путем, т.е. суммированием магнитных потоков токовых обмоток Фт и обмоток напряжения Фн при помощи трансформатора компаундирования ТК.
Значительные размеры и масса ТК ухудшают массогабаритные показатели СЭС, кроме того, мощная магнитная система ТК увеличивает время переходных процессов.
Принципиально возможно суммирование воздействий тока нагрузки и напряжения электрическим путем, т.е. суммированием не магнитных потоков, а напряжений, одно из
которых пропорционально току нагрузки, а второе – напряжению генератора. Обычно та-
кое суммирование применяют для генераторов небольшой мощности – до нескольких десятков кВт.