Классификация электрических сетей
Судовые электрические сети
Электрические сети предназначены для распределения и передачи электроэнергии и состоят из электрораспределительных щитов и линий электропередачи. Электрические сети подразделяют на силовые, аварийные и приемников.
Силовая электрическая сеть предназначена для распределения электроэнергии на участках от ГРЩ до приемников или преобразователей электроэнергии. Различают следу
ющие типы силовых электрических сетей: фидерную, магистральную и магистрально-фидерную (рис. 6.1).

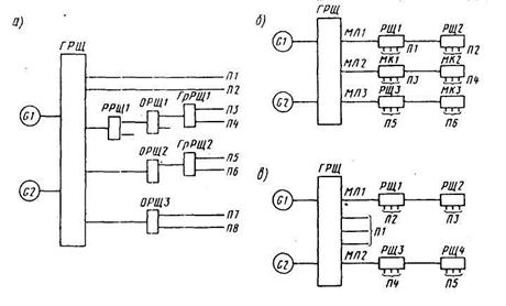
Рис. 6.1. Принципиальные схемы силовых электрических сетей:
а – фидерная; б – магистральная; в – магистрально-фидерная
В случае использования фидерной сети (рис. 6.1, а) ответственные и наиболее мощ-
ные приемники П1 и П2 получают питание непосредственно от ГРЩ по отдельным фиде-
рам, а приемники ПЗ-П8 - от электрораспределительных щитов (районного РРЩ1, отсеч-
ных ОРЩ1-ОРЩЗ и групповых ГрРЩ1-ГрРЩ2, соединенных с ГРЩ фидерами.
При использовании магистральной сети (рис. 6.1, б) приемники электроэнергии П1-П6 получают питание от электрораспределительных щитов РЩ1-РЩЗ или магистраль
ных коробок МК1-МКЗ, присоединенных параллельно к магистральным линиям МЛ1-МЛЗ.
На современных судах применяют смешанную, магистрально-фидерную сеть (рис. 6.1, в). В этой сети приемники П1 получают питание по фидерам, а приемники П2-П5 - по магистральным линиям МЛ1 и МЛ2.
Сравним свойства разных типов силовых электрических сетей.
Фидерная сеть более надежна по сравнению с магистральной, так как при повреж
дении любого фидера лишается питания отдельный приемник или группа приемников, в то время как при повреждении магистральной линии прекращается питание всех приемни
ков или части их (в зависимости от места повреждения линии).
Вместе с тем фидерная сеть имеет увеличенную массу по сравнению с магистраль-
ной. Ее применяют для питания отдельных ответственных приемников или групп приемников (например, рулевого и якорного устройств, механизмов СЭУ).
Магистральную сеть используют в основном для питания неответственных прием-
ников (например, сети освещения). При этом к одной линии электропередачи (магистра-
ли) подключают светильники и розетки в нескольких смежных помещениях.
Магистрально-фидерная сеть соединяет достоинства и недостатки фидерной и магистральной сетей.
Выбор того или иного типа силовой сети зависит от ряда факторов, среди которых наиболее существенными являются назначение судна, мощность его электроэнергетиче-
ской системы, а также количество и распределение приемников электроэнергии.
Аварийная электрическая сеть предназначена для распределения электроэнергии на участке от АРЩ до приемников, перечень которых определен Правилами Регистра.
Электрическая сеть приемников предназначена для распределения электроэнергии от определенного распределительного щита или преобразователя электроэнергии до одно
именных приемников. К таким сетям относят сети основного освещения, аварийного осве
щения, переносного освещения, сеть установок слабого тока, сеть радиотрансляции и др.
Сеть основного освещения применяется для снабжения электроэнергией осветитель
ных приборов и получает питание, как правило, от электрораспределительных щитов раз-
личного назначения: наружного освещения, освещения МО, служебных и пассажирских помещений и др.
Напряжение сетей основного освещения составляет 220 В (реже 127 В). Правила Регистра СССР допускают применение этих сетей для питания маломощных бытовых электроприборов (каютных вентиляторов, холодильников и др.), а также электрических грелок.
Сеть аварийного освещения является составной частью сети основного освещения. Эта сеть получает питание от АРЩ и поэтому снабжается электроэнергией практически бесперебойно: при нормальном режиме работы основной электростанции от ГРЩ через шины АРЩ, а при выходе ее из строя от АДГ. При обесточивании основной и аварийной электростанций автоматически включается сеть аварийного освещения напряжением 12 или 24 В, питающая от АБ ограниченное количество осветительных точек в постах управ
ления, коридорах и проходах.
Сеть переносного освещения применяется для снабжения электроэнергией перенос
ных светильников напряжением 12 или 24 В, позволяющих усилить местную освещен-
ность при проведении ТО или ремонтных работ. Для получения указанных напряжений используют понижающие трансформаторы соответствующей мощности.
Сеть установок слабого тока обеспечивает работу телефонов внутренней связи, машинных телеграфов, рулевых указателей, звонковой и пожарной сигнализации и других приемников ограниченной мощности.
Сеть радиотрансляции соединяет радиотрансляционный узел с громкоговорителя-
ми, установленными в различных помещениях судна.
Электрические сети выполняют изолированными от корпуса судна.
Исключение составляют электрические сети маломерных судов (небольших букси-
ров, катеров, мотоботов и др.), на которых допускается применение корпуса судна в качестве второго провода при напряжениях до 30 В переменного и 55 В постоянного тока.
Передачу электроэнергии постоянного и 1-фазного переменного тока осуществля-
ют 2-проводными линиями электропередачи, а 3-фазного тока - 3-проводными (редко 4-проводными) линиями электропередачи. В последнем случае линия электропередачи со-
стоит из трех фазных и одного нулевого провода и применяется на плавсредствах {дебар-
кадерах, брандвахтах и др.), получающих электроснабжение с берега.