План лекции:
1. Здания из монолитного железобетона.
3. Крупноблочные здания.
4. Крупнопанельные здания.
1. Здания из монолитного железобетона
Способы возведения стен с использованием монолитного бетона существенным образом отличаются от способов строительства с использованием лесоматериалов, мелкоштучных и крупных изделий.
Технология упрощенно состоит в следующем: непосредственно на стройплощадке монтируются специальные формы – опалубки, повторяющие контуры возводимого конструктивного элемента (стена, колонна), в которые по проекту устанавливается арматура и заливается конструкционный или конструкционно-теплоизоляционный бетон. После затвердевания бетона опалубочные элементы либо демонтируются (при использовании сборно-разборных опалубок), либо становятся частью конструкции (при использовании несъемных опалубок).
Если еще в недалекие годы в стране предпочтение отдавалось полносборному строительству, а монолит применялся редко (для участков, где невозможно использовать сборные элементы), то в настоящее время архитектурно-конструктивная и экономическая перспективность монолитного домостроения общепризнанны.
|
|
|
Способы возведения стен c использованием несъемной опалубок представляет собой совокупность двух технологий: монтажа стеновых пустотных блоков или панелей и монолитного строительства. Его основные этапы: установка блоков участка стены, установка арматуры, заполнение бетоном внутренних пустот. В рассматриваемой строительной системе блоки выполняют функции опалубок, но в отличие от сборно- разборной опалубки они не демонтируются, а становятся частью стены.
Основное преимущество несъемных опалубочных блоков состоит в их небольшом весе и возможности вести строительство без применения грузоподъемной техники.
Современная практика располагает несколькими вариантами технологий возведения стен с несъемной опалубкой.
Опалубочные блоки, изготавливаемые из древесно-цементной композиции (арболита) имеют незамкнутое коробчатое сечение с внутренними вертикальными ребрами-перемычками рис.1. Кроме рядовых блоков применяемых для внутренних и наружных стен, предусматриваются угловые, перемычечные, доборные, для откосов проемов, а также для возведения внутренних столбов.

Рис. 1. Типы арболитовых блоков: а – рядовой для внутренней стены; б – рядовой для наружной стены; в – угловой для наружной стены; г – стык блоков под углом 45 градусов; 1 – теплоизоляционный вкладыш; 2 – вертикальная конструктивная арматура; 3 – горизонтальная арматура.
Крупноразмерные стеновые элементы с применением цементно- стружечных плит (ЦСП) представляет собой панели выполненные соединением двух плит на расстоянии толщины монолитного слоя стены с помощью Х иУ-образных металлических плит или полимерных профилей рис. 2. Из ЦСП изготавливают все элементы здания в комплекте – для внутренних и наружных стен, перекрытий.
|
|
|
В заводских условиях устанавливается арматура, монтируются электропроводка и некоторые инженерные коммуникации. На строительной площадки стеновые опалубочные панели монтируют и заливают во внутренние полости бетон. Конструкция наружной стены, получаемая при заливке тяжелого бетона, требует дальнейшего утепления снаружи. При использовании легкого эффективного бетона дополнительного утепления не требуется. В любом случае производится как внутренняя, так и наружная отделка стен.

Рис. 2. Связи панелей опалубки из цементно-стружечных плит (ЦСМ).
Стены из несъемной опалубкой из полистирольных блоков. Основным преимуществом применения технологии несъемной опалубки из пеностирола является возможность возведения многослойной ограждающей конструкции с необходимым сопротивлением теплопередаче за один технологический цикл – стена сразу получается «теплой» и не требует последующего утепления.
Блоки из пеностирола представляет две пластины, соединенные между собой специальными перемычками из полипропилена, которые являются многофункциональными: воспринимают давление бетонной смеси, в специальных пазах перемычек размещаются арматурные стержни, возможно крепление к ним элементов наружной и внутренней отделок. Основным элементом блочной системы рис. 3 является рядовой блок.


Рис.3. Формы и размеры основных пенополистирольных опалубочных блоков (вариант): а – прямой рядовой; б – угловой; в – с примененным углом (0..90); г – конический; д – с выступом для кирпичной облицовки.

Рис.4 Схема формообразования стен из опалубочных пенополистирольных блоков.
Стены с применением инвентарных опалубок.
Монолитнобетонные здания и технология их возведения имеют следующие технические, экономические и архитектурные преимущества:
Высокие конструктивные жесткость и прочность обуславливают высокуб сейсмостойкость и долговечность;
Высокая скорость строительства;
Высокая нормативная нагрузка на перекрытия (600 кг/м2) – примерно в три раза больше, чемв панельном здании, что позволяет устанавливать тяжелое бытовое оборудование (мини-бассейны), гидромассажные ванны).
Возможность строительства высотных (до 60 этажей) зданий.
В высотных зданиях просто решается вопрос изменения толщины стены по высоте уступами в соответствии с расчетом;
Значительно проще обеспечивается пожарная безопасность зданий «особой» степени огнестойкости;
Широкая вариантность объемно-планировочных решений – закругления, выступы, изломы, разрывы, подрезки, уступы, острые углы, консольные выносы, рис. 4.
Индивидуальность фасадов здания, рис. 6.
Многооборотная модульная опалубка из алюминиевых сплавов представлена на рис. 5.

Рис. 5. Многооборотная модульная опалубка из алюминиевых сплавов: а – для формирования стен линейными щитами; б – для формирования угловых участков стен угловыми щитами.

Рис.6. Примеры рельефной поверхности наружных стен.
2. Стены из крупных блоков.
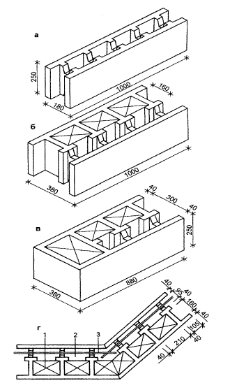
Крупноблочными называют здания, стены которых возводятся из крупных камней (блоков) массой от 0,1 до2 т. Другие стеновые конструкции – перекрытия – выполняют также их крупных элементов – плит.
Малоэтажные крупноблочные здания проектируются на основе двух конструктивно-статических схем: с продольными и поперечными несущими стенами. Соответственно схемами крупноблочные стены выполняются несущими (внутренние и наружные) и самонесущими (наружные).
|
|
|
Основным недостатком применения крупных блоков является ограниченность архитектурных решений, поскольку разнообразие формообразования требует увеличения номенклатуры стеновых (и не только) изделий, что, в свой очередь, снижает экономический эффект их применения. Кроме того, крупноблочные стены нуждаются в дополнительной внутренней и наружной отделках.
Конструктивные схемы зданий со стенами из крупных блоков:
- с продольными стенами до 5 этажей,
- с поперечными (поперечно-продольными) – высотные.

Наружные стены членятся по высоте на 2, 3 и 4 ряда.
Толщина крупных блоков применяется кратной 50 мм и обычно бывает у наружных блоков – 400, 500,450 у внутренних – 300, 350, 400 мм.
Ответственными местами в стенах из крупных блоков являются вертикальные и горизонтальные стыки. Их правильное устройство обеспечивает воздухонепроницаемость стен и предотвращает затекание воды в стенах, а во внутренних стенах обеспечивает хорошую звукоизоляцию.
3.Стены из панелей.
В крупнопанельных конструкциях возводятся практически все типы жилых зданий – многосекционные и односекционные, галерейные и коридорные, но в массовой жилой застройке наиболее часто встречаются 5 и 9 этажные секционные дома и 12 и 16 – этажные односекционные. Для крупнопанельных зданий характерны строгие формы объемно-пространственного решения. Однако однообразие объемов крупнопанельных зданий – следствие не столько природы конструктивного решения, сколько методики типового проектирования и ограниченных возможностей заводского строительного производства.
Панельные стены в жилых зданиях бывают несущими (бескаркасная конструктивная схема), самонесущими (до 4-х этажей) и ненесущими (каркасная конструктивная схема).
Разрезка стен. В практике проектирования и строительства крупнопанельных зданий применяют различные варианты разрезки наружных стен на панели. Используют панели, имеющие по фасаду формы прямоугольников, двутавров, Т-образные, Ш-образные, крестовые рис. 7. Основными являются одно – и двухрядная (на высоту этажа) разрезки. Однорядная разрезка стен с панелями размером на две комнаты (двухмодульная) и непрерывными вертикальными швами получила наибольшее распространение.
|
|
|

Рис.7. Разрезка стен.
Панельные стены бывают различной разрезки: однорядная (на одну или две комнаты и только для несущих стен), на два этажа, горизонтальная, плетенная, Ш-образная, Т-образная, двутавровое, крестообразное.
![]() |
Однослойные бетонные панели.
Выполняют из легких и ячеистых бетонов. Однослойные легкобетонные панели (рис. 8.а) формуют из конструктивно-теплоизоляционных бетонов на искусственных пористых заполнителях (керамзит, перлит, шлаковая пемза, шунгезит, аглопорит) и естественных легких заполнителях (щебень вулканических пород – пемза, шлак, туф и др.). Плотность бетона должна быть не более 1400 кг/м3.
Двухслойные бетонные панели.
Имеют несущий и утепляющий слои: несущий – из тяжелого или конструктивного легкого бетона, утепляющий – из конструктивно-теплоизоляционного легкого бетона плотной или пористой структуры,рис. 8.б.
Температурно-влажностный режим благоприятнее, чем у однослойных. Внутренний слой не пропускает пар, а из наружного слоя легко удаляется.
Трехслойные бетонные панели.
Имеют наружный и внутренний конструктивные слои из тяжелого или легкого конструктивного бетона и заключенный между ними утепляющий слой, рис. 8.в.
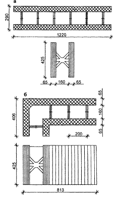
Панели внутренних стен рис. 9. Проектируют преимущественно бетонными. Бетонная панель – панель с конструктивной арматурой, прочность которой в стадии эксплуатации обеспечивается одним бетоном.

Рис.9. Основные формы бетонных панелей внутренних стен: а – глухая,
б – с прямоугольным дверным проемом, в – Г-образная, г – Т-образная.
Связи панелей представлены на рис. 10.


Рис.10. Связи панелей: а – г-сварные внутренних панелей из круглой стали; д –ж – связи типа «петля-скоба»; з – сварная связь из Т – образного элемента; и – замковая связь самофиксации; к – железобетонная св1 – стержень из гладкой или арматурной стали; 2 – стальная скоба; 3 – стальной Т-образный анкер; 4 – стальной элемент замковой связи самофиксации; 5 – закладная деталь; 6 – петлевой арматурный выпуск; 7 – стержневой арматурный выпуск; 8 – вертикальная арматура; 9 – бетон замоноличивания; 10 – панель внутренней стены; 11 – панель наружной стены.
ЛИТЕРАТУРА
- Понамарев В.А. Архитектурное конструирование / М.: Архитектура-С, 2008 – С.255-263
- Маклакова Т.Г. Архитектурно-конструктивное проектирование зданий / Том 1, М.: Архитектура-С, 2008 – С.12-234.
- Насонова С.М., Михайлин В.М. Монолитные жиле здания / М.: Ассоциация строительных вузов, 2008. – С.3-133.
