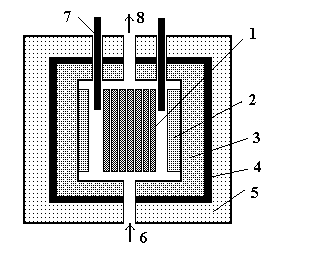
На современных атомных электростанциях управляемая реакция деления ядер осуществляется в ядерных энергетических реакторах на тепловых нейтронах. Основными элементами реактора на тепловых нейтронах (рис.6.1) являются тепловыделяющие элементы (ТВЭЛы) и замедлитель, образующие так называемую активную зону. ТВЭЛ представляет собой заполненную ядерным топливом коррозионноустойчивую защитную трубку-оболочку небольшого диаметра из специальных сплавов. Между ТВЭЛами находится замедлитель. Через активную зону прокачивается теплоноситель, охлаждающий тепловыделяющие элементы и осуществляющей таким образом отвод тепла из активной зоны. Функции замедлителя и теплоносителя может выполнять одно и то, же вещество, например обычная или тяжелая вода. Для уменьшения утечки нейтронов из активной зоны ее окружают отражателем, выполненным из того же материала, что и замедлитель. Часть нейтронов, вылетающих из активной зоны, сталкивается с ядрами отражателя и возвращается в активную зону. Окруженная отражателем нейтронов активная зона помещается в корпусе реактора, снабженном бетонной биологической защитой от радиоактивных излучений, возникающих в процессе ядерных реакций. Бетон содержит до 10% (по массе) физически связанных молекул воды и замедляет быстрые нейтроны, а затем поглощает их. Роль защиты в реакторе выполняют также отражатель и стенки корпуса реактора. Толщина бетонной защиты выбирается такой, чтобы проходящие через нее радиоактивные излучения не превышали специально установленных норм. В допустимых дозах они не опасны, как не опасны слабые радиоактивные излучения, приходящие на землю из космоса.

Рис. 6.1. Схема ядерного реактора на тепловых нейтронах:
1–тепловыделяющие элементы; 2–замедлитель; 3–отражатель; 4–корпус реактора; 5–бетонная защита; 6–вход теплоносителя; 7–регулирующие стержни; 8–выход теплоносителя.
Около 40% всех рожденных при делении ядер 235Uнейтронов полезно поглощается другими ядрами 235U, не менее 50% неизбежно поглощается в инертном 238U, в замедлителе, теплоносителе и конструкционных материалах, расположенных в активной зове. При этом на утечку наружу может приходиться не более 10% общего числа рожденных нейтронов. Если объем активной зоны относительно мал, то утечка нейтронов превышает «допустимую» и самоподдерживающаяся реакция деления ядер 235Uне происходит. С ростом объема активной зоны утечка нейтронов относительно уменьшается. При вполне определенном ее объеме, когда достигается вышеназванный баланс нейтронов, начинается самоподдерживающаяся цепная реакция деления ядер 235U. Этот объем называется критическим, а соответствующая ему масса топлива – критической массой. Однако реактор с загрузкой, равной критической, длительно работать не может поскольку в процессе работы топливо выгорает. Поэтому в действительности загрузка реактора в несколько десятков раз превышает критическую, но при этом для обеспечения требуемого баланса нейтронов в активную зону реактора вводят сильный поглотитель нейтронов в виде стержней из карбида бора. Такие стержни называются компенсирующими, поскольку они компенсируют дополнительную загрузку топлива или, по специальной терминологии, избыточную реактивность реактора. При работе реактора по мере выгорания топлива компенсирующие стержни постепенно выводятся из активной зоны и таким образом реактор непрерывно поддерживается в критическом состоянии. Один из стержней используют также для регулирования мощности реактора, т. е. для поддержания ее на заданном уровне.
Существующие конструкции реакторов на тепловых нейтронах во многом определяются тем, какие вещества используются в качестве замедлителя и теплоносителя.
На атомных электростанциях России в качестве замедлителей
используют обычную воду и графит, а в качестве теплоносителя обыкновенную воду. Это и определило два типа ядерных реакторов: водо-водяные реакторы, в которых вода является и замедлителем и теплоносителем и уран-графитовые реакторы, в которых замедлителем является графит, а теплоносителем вода.
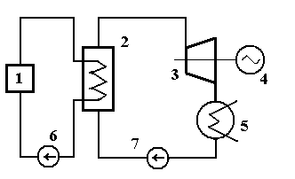
К первому типу относятся реакторы марки ВВЭР. Активная зона реактора представляет собой емкость, заполненную водой с погруженными в нее сборками тепловыделяющих элементов. Реакторы этого типа выполняются по двухконтурной схеме (рис.6.2). В двухконтурной схеме теплоноситель и рабочее тело-пар движутся по самостоятельным контурам (соответственно первому и второму), общим элементом которых является парогенератор. Нагретый в реакторе теплоноситель поступает в парогенератор (теплообменник), отдает теплоту рабочему телу и циркуляционным насосом снова возвращается в реактор. Полученный в парогенераторе пар подается в турбину, совершает в ней работу, затем конденсируется в конденсаторе, а конденсат питательным насосом подается в парогенератор. Таким образом, радиоактивный контур теплоносителя включает не все оборудование станции, а лишь его часть.

Рис. 6.2. Схема АЭС с реактором типа ВВЭР:
1–реактор; 2–парогенератор; 3–паровая турбина; 4– генератор; 5–конденсатор;
6–циркуляционный насос; 7– питательный насос.
Энергоблоки с реакторами ВВЭР-440 первого поколения введены в эксплуатацию в 1972 году. В 1980 году на Нововоронежской АЭС был пущен первый блок с реактором ВВЭР-1000. Эти реакторы выпускаются на заводе «Атоммаш» и имеют высокопрочный корпус, выполненный из специальных сталей путем длительной и сложной технологии упрочнения. Вода первого контура имеет давление 16,5 МПа и температуру 350 0С, что обеспечивает надежный отвод тепла из корпуса реактора. Во втором контуре давление принято 5,9 МПа, что приводит к образованию пара с температурой 289 0С. При таких сравнительно низких параметрах острого пара блок оснащается одним турбогенератором на 1000 МВт с n=1500 оборотов в минуту или двумя турбогенераторами 500 МВт при n=3000. Загрузка реактора составляет 66 тонн обогащенного урана, которого хватает на 900 дней работы.
Сегодня 6 реакторов типа ВВЭР-440 работают на Кольской и Нововоронежской АЭС, 7 реакторов типа ВВЭР-1000 работают на Балаковской, Калининской и Нововоронежской АЭС. Недавно после долгого перерыва из-за аварии на Чернобыльской АЭС пущен в работу реактор ВВЭР-1000 на Ростовской (Волгодонской) АЭС. Готовится к пуску такой же блок на Калининской АЭС. Ежегодно на реакторах типа ВВЭР в России вырабатывается около 40 млрд. кВт·ч электроэнергии.
Другим типом энергетических ядерных реакторов в России является уран-графитовый реактор типа РБМК с графитом в качестве замедлителя и водой в качестве теплоносителя. Этот реактор имеет канальную конструкцию. Активная зона в них состоит из графитовой кладки, в которой сделаны вертикальные каналы. В большинстве каналов размещаются тепловыделяющие кассеты. Ядерное топливо – обогащенный уран размещается в кольцевом пространстве ТВЭЛа между внутренней рассчитанной на высокое давление трубкой, по которой протекает теплоноситель, и внешней тонкостенной трубкой. В отличие от водо-водяных реакторов вода здесь кипит с образование паро-водяной смеси, которая поступает в барабан-сепаратор. В барабане влажный пар разделяется на воду и сухой пар, который затем поступает в турбину. Отработавший пар конденсируется в конденсаторе, и конденсат циркуляционным насосом подается снова в реактор. Таким образом, в этой схеме имеется только один контур (рис.6.3), а теплоноситель является одновременно и рабочим телом. В одноконтурных схемах все оборудование работает в радиационных условиях, что осложняет его эксплуатацию.
Достоинство одноконтурных схем по сравнению с двухконтурными состоит в их простоте и большей тепловой экономичности.
Первые энергоблоки ЭГП-6 с канальными уран-графитовыми реакторами малой мощности были установлены на Билибинской АЭС в 1974 году. Блок 600 МВт с канальным реактором работает на Белоярской АЭС. В эти же годы была разработана серия реакторов этого типа, но большой мощности достигшей 1000 МВт и даже 1500 МВт. Этим реакторам было присвоено наименование РБМК. Первый реактор серии РБМК-1000 был пущен в эксплуатацию на Ленинградской АЭС в 1973 году. Острый пар, поступающий в турбину, имеет примерно такие же параметры как и в реакторах типа ВВЭР-1000. Загрузка реактора составляет 190 тонн обогащенного урана, которого хватает на 1080 дней работы.

Рис. 6.3. Схема блока с реактором типа РБМК:
1–реактор; 2–барабан-сепаратор; 3–паровая турбина; 4– генератор;
5–конденсатор; 6–циркуляционный насос; 7– питательный насос.
Реакторы типа РБМК-1000 общей мощностью 11000 МВт установлены на Ленинградской, Курской и Смоленской АЭС. Во времена Советского Союза в Литве на Игналинской АЭС был пущен самый мощный реактор РБМК-1500. Сегодня уран-графитовые реакторы в России ежегодно вырабатывают около 60 млрд. кВт·ч электроэнергии. На всех действующих АЭС с канальными реакторами выполнен комплекс технических и организационных мероприятий, существенно повышающих их безопасность и исключающих повторение аварии типа чернобыльской.