Долота ИСМ отличаются от фрезерных, лопастных и алмазных, главным образом, тем, что их породоразрушающие (рабочие) элементы оснащены сверхтвердым материалом «славутич». Рабочие элементы (вставки из славутича) крепят к стальному корусу долота своей посадочной (цилиндрической) частью (хвостовиком) методом пайки. Форму рабочей поверхности вставок, марку славутича, его содержание (объем в кубических сантиметрах) в инструменте и число вставок выбирают в зависимости от типа долота, т.е. в соответствии с механическими свойствами буримых пород.
В зависимости от размера и конструкции долота ИСМ могут быть выполнены, либо цельноковаными с фрезерованными лопастями, либо с приваренными лопастями.
Долота ИСМ по сравнению с фрезерными и лопастными обладают более высокой износостойкостью, а по сравнению с долотами, оснащенными природными алмазами, - меньшими стоимостью, лучшей проходимостью по стволу скважины. Поэтому они реже выходят из строя при недостаточно тщательной подготовке ствола и забоя перед их спуском в скважину.
|
|
|
Долота ИСМ выпускают трех разновидностей: режущего действия (режущие), торцовые (зарезные) и истирающие. Первые весьма похожи на лопастные, вторые - на фрезерные, а третьи - на алмазные.
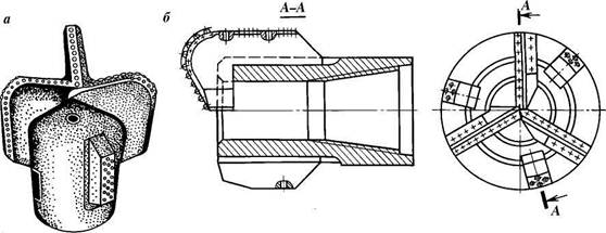
Режущие долота ИСМ предназначены для бурения глубоких скважины в мягких и средних пластичных породах. Долото ИСМ (рис. 9.6) по внешнему виду и конструкции похоже на долото 6ИР (см. рис. 9.4), но отличается от него формой рабочей части лопастей, способом их закрепления на корпусе долота и расположением дополнительных лопастей. У долота ИСМ основные лопасти 1, 2 и 3 (см. рис. 9.6) сходятся вместе по общей оси долота и привариваются к составному корпусу 4 в специальных пазах.

Рис. 9.6. Режущее долото ИСМ:
а - без насадок, б - с насадками
Дополнительные лопасти выполняются укороченными, характеризуются трапециевидным профилем и армируются по рабочим боковым поверхностям твердосплавными штырями 6 (с плоской рабочей головкой, не выступающей за поверхность лопасти), которые запрессовываются и по боковым поверхностям основных лопастей. Поэтому дополнительные лопасти не только обеспечивают стабилизацию и уравновешивание долота в стволе скважины, но и способствуют росту общей калибрующей поверхности долота по диаметру.
Вставки 8, оснащенные славутичем, выполняют с цилиндрической боковой поверхостью и полусферической (для торца основной лопасти) и плоской (для калибрующей поверхности лопасти) рабочими головками. Сопла 7 изготовляют из твердого сплава.
Сопла и струйный промывочный узел в целом рассчитаны на истечение бурового раствора со скоростью 90-120 м/с.
|
|
|

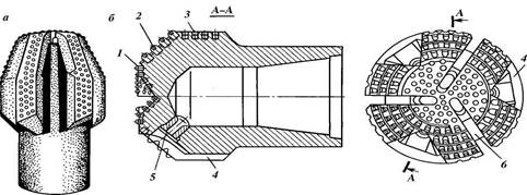
Рис. 9.7. Режущее долото ИСМ второй модификации: с узкими (а) и широким (б) промывочными отверстиями
Выполнение промывочного устройства (узла) долота второй модификации показано на рис. 9.7. Оно отличается одним широким центральным промывочным отверстием, разделенным лопастями на три сектора.
Струйная модификация по промывке отличается от первой соплами, которые смонтированы и закреплены (с помощью пайки) в боковых каналах, просверленных в корпусе долота (см. рис. 9.6.,б).
Долота первой и второй модификаций по промывке применяют, главным образом, при вращательном бурении с турбобурами, а третьей - при вращательном роторном способе бурения.
Долота с обычной ("свободной") промывкой (преимущественно вторая модификация по промывке) выпускаются девяти размеров по диаметрам 188 - 392 мм, а долота третьей модификации - двух размеров по диаметрам 212 и 267 мм.
Пример обозначения режущего долота: ИСМ188-РГ-10, где ИСМ - вид долота, 188 - номинальный диаметр по калибрующей части в мм, Р - разновидность долота (режущее), Г - модификация (гидромониторная промывка), 10 - порядковый номер конструкции.
Торцовые долота ИСМ (рис. 9.8) предназначены для бурения и забуривания нового ствола, но могут быть использованы и при ликвидации аварий. Внешне они похожи на фрезерные долота.
