



Чувствительность к удару определяют на копрах Велера и К-44-1 для ИВВ, а также К-44-2 и БК для БВВ. К-44-1 – вес груза от 200 до 500 г. ИВВ или капсюльный состав запрессовывают в колпачок от КВ. Груз сбрасывают на боек или шарик и удар передается ВВ.
К-44-2 – вес груза 10 кг. Навеска БВВ (50 или 100 мг) помещают в роликовые приборчики № 1 и № 2 без канавки и с канавкой.
Для изучения чувствительности жидких и пластичных ВВ используют прибор № 3 и № 4.
Кроме нижнего и верхнего пределов чувствительности существует устаревшая «русская проба». Это чувствительность ВВ, определенная в приборе №1. Вес груза 10 кг, высота сбрасывания груза 25 см.
Существует еще большой копер БК, который позволяет испытывать 3 грамма БВВ (сравнительно малочувствительных).
Вес груза может составлять от 2 до 50 кг, высота сбрасывания грузов до 2,5 метров.
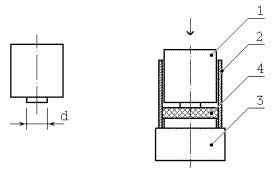
Если результаты испытания в приборе №1 и №2 противоречивы, то для оценки возможности перевозки данного ВМ существует дополнительная методика, которая учитывает возможность распространения взрыва на всю массу ВВ. Сущность метода заключается в определении минимального диаметра ударяющего бойка (d), взрыв под которым вызывает взрыв всей окружающей массы. Схема испытательного прибора приведена на рисунке 6.
|
|
|
Испытания проводят на К-44-2 или БК с помощью специальной сборки, позволяющей менять диаметр ударника. Чем меньше диаметр ударника позволяющего распространяться взрыву на всю массу, тем выше чувствительность ВМ.






