Этот метод второй по распространенности после метода Бринелля. При стандартном измерении твердости по Викерсу (ГОСТ 2999 – 75) в поверхность образца вдавливают алмазный индентор в форме четырехгранной пирамиды с углом при вершине α≈136°. После удаления нагрузки P
10÷1000 H (1 – 100 кгс), действовавшей определенное время (10 – 15 с), измеряют диагональ отпечатка d, оставшегося на поверхности образца. Число твердости HV (записываемое по ГОСТу без единиц измерения, например 230 HV) определяют делением нагрузки в килограммах на площадь боковой поверхности полученного пирамидального отпечатка
F = (d 2 / 2) (1 /sin α/2), мм2:
HV = (2 P sin α/2) / d 2 = 1,854 P / d 2 кг/мм2. (2.29)
Если число твердости выражают в МПа, то после него указывают единицу измерения (например, HV=3200 МПа или H/мм2).
Измерив диагональ d восстановленного отпечатка и зная использованную нагрузку P, можно найти число твердости по специальным таблицам, составленным с использованием формулы (2.29).
Относительно небольшие нагрузки и малая глубина вдавливания индентора обуславливают необходимость более тщательной подготовки поверхности, чем при измерении твердости по Бринеллю. Образцы для замера твердости HV, как правило, отполированы, и их поверхность свободна от наклепа.
|
|
|

Обычно d <1 мм, т.е. размеры отпечатка при определении твердости по Викерсу, как правило, значительно меньше, чем в методе Бринелля. При грубой структуре образца это может вызвать больший разброс значений HV в разных точках образца по сравнению с разбросом HB. Для получения достоверных средних значений HV приходится делать на каждом образце не менее пяти – десяти замеров.
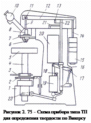
Приборы для измерения твердости по Викерсу должны соответствовать требованиям ГОСТ 23677 – 79. Схема прибора ТП показана на рис. 2.75. Прибор смонтирован на станине 1. Образец помещают на опорный столик 5. Нагрузка прилагается к индентору 6 через установленный на призмах 11 рычаг 12 (с отношением плеч 1:25) и промежуточный шпиндель 9, постоянно прижатый двумя пружинами к призме рычага. В спокойном состоянии рычаг 12 опирается на штырь 13. На длинном плече рычага имеется подвеска 14 для установки сменных грузов 15. Рычаг с подвеской без сменных грузов дает минимальную нагрузку 50 Н. Шпиндель 8 с индентором и измерительный микроскоп 10 смонтированы на поворотной головке, которая перемещается рукояткой 7.
После установки образца на стол твердомера совмещают перекрестие окуляра микроскопа с тем местом на образце, твердость которого необходимо измерить. На резкость изображение отпечатка наводят перемещением подъемного винта 4 маховичком 3. Затем рукояткой 7 поворотную головку устанавливают так, чтобы индентор оказался над образцом. При этом ось шпинделя 8 совмещается с осью промежуточного шпинделя 9. Подъемный винт 4 поднимают вверх до упора в торец защитного колпачка индентора. Затем рукояткой 23 вводится механизм грузового привода, последний включают нажатием на педаль 2. При этом ломаный рычаг 17 выходит из мертвого положения и пустотелый шпиндель 16, связанный с масляным амортизатором 19, опускается вниз. Движение поршня амортизатора с укрепленным на нем грузом 20 вызывает опускание подъемного штыря 13, на котором лежит грузовой рычаг прибора. После того как штырь 13 опустится, рычаги 21 и 22 вновь поднимут его, снимая таким образом приложенную нагрузку. Продолжительность выдержки под нагрузкой (10 – 15 с) регулируется винтом 18 на крышке масляного амортизатора. Пока образец находится под нагрузкой, горит сигнальная лампочка, расположенная в верхней части передней панели твердомера.
|
|
|
После снятия нагрузки поворотную головку переводят в такое положение, чтобы полученный отпечаток вновь был виден в микроскоп. Затем с помощью барабанчика окуляр – микрометра замеряют длину диагонали отпечатка. Для повышения точности этих замеров прибор снабжен экраном, на который проецируется в увеличенном масштабе изображение отпечатка и линий измерительного микроскопа.
Физический смысл числа твердости по Викерсу аналогичен НВ. Величина HV тоже является усредненным условным напряжением в зоне контакта индентор – образец и характеризует обычно сопротивление материала значительной пластической деформации.
Числа HV и НВ близки по абсолютной величине. Это обусловлено равенством угла при вершине пирамиды углу между касательными к шарику для случая «идеального» отпечатка с d =0,375 D. Алмазная пирамида в методе Викерса позволяет определять твердость практически любых металлических материалов. Еще более важное преимущество этого метода – геометрическое подобие отпечатков при любых нагрузках. Поэтому возможно строгое количественное сопоставление чисел твердости HV любых материалов, испытанных при различных нагрузках.
2.7.3. Твердость по Роквеллу При измерении твердости по Роквеллу индентор – алмазный конус с углом при вершине 120° (ГОСТ 9013 – 59) и радиусом закругления 0,2 мм либо стальные шарики диаметром 1,5875 мм (1/16 дюйма) либо 3,175 (1/8 дюйма) – вдавливаются в образец под действием двух последовательно прилагаемых нагрузок: предварительной Р 0 и общей
P = P 0 + P 1,
где P 1 – основная нагрузка.
Число твердости по Роквеллу измеряют в условных безразмерных единицах, оно является мерой глубины вдавливания индентора под определенной нагрузкой.
Схема определения твердости по Роквеллу при вдавливании алмазного конуса приведена на рис. 2.76. Сначала индентор вдавливается в поверхность образца под предварительной нагрузкой P 0
100 H (10 кгс), которая не снимается до конца испытания. Это обеспечивает повышенную точность испытания, так как исключает влияние вибраций и тонкого поверхностного слоя. Под нагрузкой P 0 индентор погружается в образец на глубину h 0. Затем на образец подается полная нагрузка P=P 0+ P 1 и увеличивается глубина вдавливания. Последняя после снятия основной нагрузки P 1 (когда на индентор вновь действует только предварительная нагрузка P 0) определяет число твердости по Роквеллу (HR). Чем больше глубина вдавливания h, тем меньше число твердости HR. ГОСТ 9013 – 59 устанавливает 9 шкал твердости по Роквеллу.

Рисунок 2. 76 - Схема измерения твердости по Роквеллу
При использовании в качестве индентора алмазного конуса твердость по Роквеллу определяют по трем «шкалам» - A, C и D. При измерении по шкале A: P 0=100 H, P 1=500 H, P =600 H; по шкале C: P 0=100 H, P 1=1400 H, P =1500 H; по шкале D: P 1=900 H, P =1000 H. Число твердости выражается формулой
|
|
|
HRCэ (HRA, HRD) = 100 – е, (2.30)
где е = (h – h 0) / 0,002 (0,002 мм – цена деления индикатора твердомера Роквелла).
Диапазон измерений шкале A – 20 – 88, по шкале C – 20 – 77, по шкале D – 40 – 77 единиц твердости.
Единица твердости по Роквеллу – безразмерная величина, соответствующая осевому перемещению индентора на 0,002 мм.
При работе со стальными шариками твердость HR определяют по 6 шкалам (B, E, F, G, H, K) с использованием формулы
HRB (HRE, HRF и т.д.) = 130 – е.
Значения предварительного (P 0), основного (P 1) и общего усилий (P) представлены в таблице 2.8.
Т а б л и ц а 2.8. Значения усилий нагружения при измерении твердости по Роквеллу
| Шкала твердости | Обозначение числа твердости | Диаметр шарика, мм | P 0 | P 1 | P | Диапазон измерений единиц твердости |
| H x 10 | ||||||
| B E F G H K | HRB HRE HRF HRG HRH HRK | 1,588 3,175 1,588 1,588 3,175 3,175 | 20 – 100 70 – 100 60 – 100 30 – 94 80 – 100 40 - 10 |
Числа твердости по Роквеллу записываются так же, как HB и HV: 65 HRC, 80 HRA и т.д.

Рисунок 2. 77 - Схема прибора
типа ТК для измерения твердости по Роквеллу
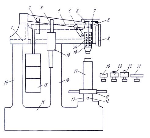
Существует несколько типов приборов для измерений твердости по Роквеллу, но принципиальные схемы их работы аналогичны. На рис. 2.77 дана схема прибора типа ТК. На станине 14 с одной стороны расположены две стойки 16, которые поддерживают поперечину 1. С другой стороны в направляющей втулке 13 со шпонкой 12 помещен подъемный винт 11, на котором устанавливают в зависимости от формы образца различные опорные столики 21 – 23 и 10. Винт со столиком и образцом поднимают вращением маховичка 11. Предварительную нагрузку к образцу прикладывают цилиндрической пружиной 19, действующей непосредственно на шпиндель 20. Грузовой рычаг второго рода 4, расположенный на поперечине 1, имеет опоры на призме 8. К длинному плечу рычага подвешивают грузы 15. В нерабочем положении прибора рычаг опирается на подвеску 2, и нагрузка на шпиндель не действует. Для приложения основной нагрузки освобождают рукоятку 5. При этом подвеска 2 вместе с рычагом 4 плавно опускается, и последний действует на шпиндель. Рычаг опускается плавно благодаря масляному амортизатору 18, позволяющему регулировать скорость приложения основной нагрузки вращением штока 3. Соотношение плеч у грузового рычага 1:20, и поэтому действительный вес сменных грузов в 20 раз меньше их условного веса.
|
|
|
Движение от шпинделя к стрелкам индикатора 9 передается рычагом 7 с соотношением плеч 1:5. Призма шпинделя упирается в винт 6 на рычажке. Винтом 6 регулируется натяжение пружины 19, создающей предварительную нагрузку.
Из рассмотренной методики определения твердости по Роквеллу видно, что это еще более условная характеристика, чем HB. Наличие различных шкал твердости, определяемой без геометрического подобия отпечатков, условный и безразмерный численный результат испытания, сравнительно низкая чувствительность делают метод Роквелла лишь средством быстрого упрощенного технического контроля. В заводских условиях его ценность велика благодаря простоте, высокой производительности, отсчету чисел твердости прямо по шкале прибора, возможности полной автоматизации испытания.
Числа твердости, полученные разными методами статического вдавливания индентора, связаны между собой. Зная, например, значение твердости по Бринеллю, можно перевести его с некоторым приближением в число твердости по Викерсу или Роквеллу.
Числа твердости по разным методам можно определить на одном приборе. Например, универсальный твердомер УПТ – 1 позволяет измерять твердость всеми тремя рассмотренными методами. Переход от одного метода к другому требует лишь смены индентора и грузов.






