Способы измерения снимков основаны на свойствах монокулярного или стереоскопического зрения и подразделяются на две группы:
- монокулярные способы измерения;
- стереоскопические способы.
Независимо от способа измерения и применяемых приборов в поле зрения необходимо ввести измерительную марку, с помощью которой осуществлялось бы визирование на выбранные точки снимков
![]() |
Кроме того, измерительная марка либо снимки должны иметь необходимые движения, связанные с каким-либо мерным устройством.
Наиболее распространенные виды измерительных марок, применяемых в фотограмметрических приборах, показаны на рис.1.1.4. Чтобы отчетливо видеть марку на фоне снимков различной плотности, используют светящиеся марки разных цветов.
рис.1.1.4
Монокулярные способы применяются в основном для измерений координат точек одиночных снимков и выполняются, как правило, монокулярно[1] с использованием монокомпараторов или универсальных измерительных микроскопов.
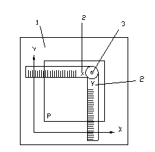
На рис.1.1.6 показана схема монокомпаратора МК-I Керна (Швейцария). В этом приборе на стеклянной пластине 1 нанесены координатные оси X и Y. Шкалы x и y также награвированы на стеклянных пластинах 2 и связаны с измерительной маркой 3. Измерительная марка может быть наведена на любую точку снимка Р и по шкалам 2 отсчитываются координаты этой точки.
|
|
|
![]() |
рис.1.1.6
Стереоскопические способы применяются для измерения координат точек пары снимков.
![]() |
Принцип измерений координат точек пары снимков заключается в следующем. Пусть с плоскостями снимков Р1 и Р2 (рис.1.1.7) совмещены 2 марки: m1 – c фотоснимком Р1, m2 – c фотоснимком Р2. При стереоскопическом рассматривании фотоснимков и марок наблюдатель будет одновременно видеть мнимую пространственную модель и одну мнимую марку М вместо двух действительных.
рис.1.1.7
Перемещение марок в плоскости фотоснимков параллельно глазному базису вызовет изменение положения мнимой марки М по глубине и в плане. Благодаря этому мнимую марку можно совместить с любой точкой видимой модели. Очевидно, что при совмещении мнимой марки с точкой модели, действительные марки m1, m2 будут находиться в соответственных точках стереопары. Учет величин перемещения действительных марок позволяет измерить координаты и параллаксы точек пары снимков.
Чтобы наблюдатель мог видеть модель, необходимо выполнить одно из основных условий получения устойчивого стереоэффекта – каждый глаз должен видеть изображение только одного фотоснимка.
Точность измерений как монокулярными, так и стереоскопическими способами зависит от многих причин. К основным факторам, определяющим точность измерений координат точек фотоснимков, относятся:
|
|
|
- инструментальные погрешности прибора, с помощью которого выполняются измерения;
- ошибки фотоснимков и их разрешающая способность;
- погрешности отождествления одноименных точек;
- точность визирования на контурные точки фотоснимков.
В свою очередь точность монокулярного и стереоскопического визирования зависит от: остроты зрения наблюдателя, увеличения оптической системы прибора, качества и размера измерительных марок, их контраста относительно наблюдаемого изображения, освещенности снимков и модели и т.п.
Точность монокулярного визирования. При рассматривании невооруженным глазом точки а снимка (рис.1.1.11) и измерительной марки m, наблюдатель заметит их несовмещение, если оно рассматривается под углом, превышающим остроту монокулярного зрения g. Ошибку несовмещения можно посчитать по формуле:
=
(1.1.1)
где D – расстояние наилучшего зрения.
![]() |
рис.1.1.11 рис.1.1.12
Если D = 250 мм, g= +- 45” и 20”, то точность совмещения марки и точки снимка будет характеризоваться величиной ml1 = 55 мкм и ml2 = 24 мкм, соответственно для монокулярного зрения первого и второго рода.
Стереоскопические наведения марки выполняются с большей точностью. Наблюдатель заметит несовмещения марки m и точки модели а (рис.1.1.12) по глубине, если разность параллактических углов (gm - ga) будет больше остроты стереоскопического зрения Dg.
Из рассмотрения подобных треугольников OOa и mba, получим:
= 
= D
тогда
=
(1.1.2)
Ошибку в плановом положении для точки, расположенной в центре стереомодели, можно посчитать по формуле:
=
или (1.1.3)
=
(1.1.4)
Подставим в эти выражения D = 250 мм, bГ = 65 мм, Dg = +-30” и +-10”, получим DD1 = +- 140 мкм, DD2 = +- 47 мкм и в плане ml1 = +-18 мкм, ml2 = +-6мкм. Величины DD1, DD2, ml1 и ml2 характеризуют точность стереоскопического наведения марки по глубине и в плане соответственно для бинокулярного зрения первого и второго рода.
В практике фотограмметрических работ измерения координат точек фотоснимков и модели выполняются, как правило, несколькими приемами, что позволяет повысить точность измерений.
Увеличение наблюдательной системы приборов так же обеспечивает повышение точности измерений. Для фотоснимков с высокой разрешающей способностью и контрольных сеток принято считать, что ошибка визирования обратно пропорциональна увеличению наблюдательной системы. Учитывая это формулы (1.1.1), (1.1.2), (1.1.4) примут вид:
= 
DD=
(1.1.5)
ml @mp @
где V – коэффициент увеличения наблюдательной системы прибора.
Но увеличение наблюдательной системы прибора не может быть беспредельным, так как точность визирования повышается с возрастанием, тем медленнее, чем меньше разрешающая способность фотоснимков. Это можно объяснить тем, что с возрастанием увеличения, во-первых, число контуров, попадающих на желтое пятно глаза наблюдателя, уменьшается, так как уменьшается поле зрения; во-вторых, снижается контраст изображения.










