Основное назначение книговставочных машин – вставка книжных блоков в переплетные крышки.
В книговставочных машинах последовательно выполняются следующие операции:
− поштучная подача книжных блоков в машину;
− нанесение клея на корешковые клапаны;
− подача блоков на крыло и их выравнивание;
− нанесение клея на форзацы;
− подача крышки;
− кругление корешка крышки;
− совмещение блока с крышкой;
− соединение блока с крышкой;
− съем с крыла и вывод книги.
Для выполнения указанных операций в книговставочных машинах предусмотрены механизмы:
− привод машины;
− ленточные транспортеры;
− устройство для подачи блоков на крыло и равнения блока на крыле;
− цепной конвейер с крыльями;
− клеевые аппараты;
− самонаклад переплетных крышек;
− механизм кругления корешка крышки;
− устройство для натяжки крышки книги;
− выводной транспортер.
Основные требования, предъявляемые к книговставочным машинам:
− точная взаимная установка блоков и крышек;
|
|
|
− равномерная величина, т. е. расстояние между краями крышки и краями блока у готовых книг;
− нанесение клея утолщенным слоем на клапаны корешкового материала и равномерным тонким слоем на форзацы блоков;
− прочное, без пузырей, приклеивание клапанов к переплетной крышке и форзацам, а форзацев − к переплетной крышке по всей поверхности;
− клей не должен попадать на поверхность обреза блока;
− клей не должен выжиматься из блока при вставке;
− отклонения от заданной ширины, в зависимости от формата издания: верхних и нижних кантов по обеим сторонам крышки в пределах от ±1 до ±3 мм; передних кантов от ±1,5 до ±2 мм; отставание корешка крышки от корешка блока в закрытой книге не более 2 мм.
Во всех книговставочных машинах основным средством транспортировки блоков в процессе являются крылья − тонкие металлические пластины, примерно равные по размеру готовой книге максимального формата. Книжные блоки раскрываются в машине посередине и насаживаются на крылья в положении корешком вверх. Крыло удерживает блок в процессе вставки.
Недостатки:
− возможность неточного раскрывания блоков посередине при подаче на крыло;
− смещение переплетной крышки;
− перенос блока;
− неравномерное нанесение клея на форзацы вследствие неравномерности деления блока пополам;
− возможное раскалывание клеевой пленки;
− возможный разрыв нитей на корешке блока в результате давления на них острого гребня крыла.
В полиграфическом производстве применяются книговставочные машины двух основных типов, имеющие одинаковое принципиальное, но различное конструктивное решение:
|
|
|
− конвейерные;
− карусельные.
Наибольшее распространение получили машины конвейерного типа. Они работают с большой скоростью и производительностью, удобны для встраивания в состав автоматических поточных линий, могут использоваться самостоятельно в автоматическом режиме. Среди них наиболее известны машины типа В-3, БВ-270 («Книга»), а также машины фирмы «Колбус» и «Смайт» (США).
Карусельные машины – полуавтоматы, в крупном книжном производстве практически не применяются.
10.2. Вставочная машина «ЕМР» («Колбус»)
Рассмотрим книговставочную машину «ЕМР» фирмы «Колбус» (Германия).
На рис. 65, 66, 67, 68, имеющих сквозную нумерацию, показана технологическая схема книговставочной машины «EMP» фирмы «Колбус», входящей в состав используемых в типографиях СНГ поточных линий. По конструкции она является наиболее современной из широко распространенных книговставочных машин, а по принципиальному построению практически не отличается от машины В-3.

Рис. 65. Принципиальная схема книговставочной машины «ЕМР»
Книжные блоки Б (рис. 65) ленточным транспортером 1 подаются на роликовый транспортер 2, вводящий их в загрузочный желоб машины. Упор 3 в соответствующий момент кинематического цикла поштучно пропускает блоки в машину. Упор 3 поднимается и опускается при помощи электромагнита, срабатывающего от концевого выключателя, который управляется одним из циклично работающих механизмов. Затем очередной блок захватывается роликами 4 (рис. 66) и ускоряющими ленточными транспортерами 5, которые создают необходимый интервал между смежными блоками. В первом клеевом аппарате клеенаносящие ролики 6 наносят клей с двух сторон на форзацы блоков под клапаны корешкового материала. Ролики 6 вместе с клеевыми резервуарами 7 могут одновременно поворачиваться на кронштейнах 11 вокруг осей 12. Поворот, сближающий клеенаносящие ролики 6, происходит после того, как передняя кромка блока пройдет линию, соединяющую центры вращения роликов 6, а отвод роликов 6 от блока происходит до прохода задней кромки через эту же линию. Тем самым исключается попадание клея на обрезанную поверхность в головке и хвостике блока. Принудительное вращение клеенаносящим роликам передается от электродвигателя 17 через систему конических шестерен, цепную передачу, вертикальный вал 9, шестерни 10 и наклонный вал 8. Упругий прижим роликов к блоку обеспечивается с двух сторон пружинами 14 и 15.
В зависимости от толщины блоков положение клеевых аппаратов регулируется относительно середины желоба винтом 13. Поворачивая винт, на противоположных концах имеющий правую и левую резьбу, можно сближать или раздвигать клеевые аппараты. Пружины 16 обеспечивают упругий прижим клеенаносящих роликов 6 к блоку.
При изменении размера блока от корешка до переднего обреза клеевые аппараты могут подниматься или опускаться на осях 12.

Рис. 66. Принципиальная схема механизма ввода блоков в машину и клеевого аппарата машины «ЕМР»
Работа механизма ввода блоков в машину и клеевого аппарата происходит от электродвигателя 17 через вариатор 18, систему зубчатых и цепных передач.
После нанесения клея блок продолжает движение в желобе и делится ножом 19 (рис. 66) примерно пополам. Нож 19 постепенно переходит в кассету, сквозь которую проходят крылья 20 вертикального конвейера 21. Они снимают блоки с кассеты и поднимают их. Вертикальный конвейер 21 несет пять крыльев 20 и имеет три цепных системы: две цепи располагаются симметрично плоскости движения крыльев, а третья цепь, параллельная им, смещена вниз на высоту крыла 20 и находится сбоку. Каждая цепь натянута на четыре звездочки, установленные по углам прямоугольника.

Рис. 67. Принципиальная схема клеевых аппаратов машины «ЕМР»
|
|
|
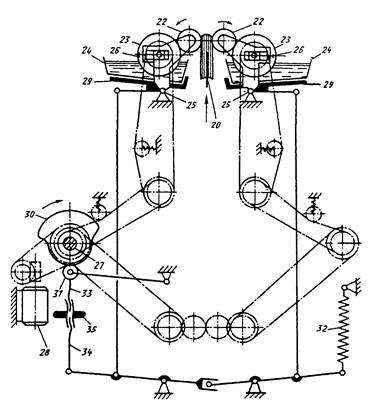
Симметричные цепи соединяются осями, к середине которых за верхнее ребро крепятся крылья 20, а нижнее ребро крыльев 20 присоединено к третьей цепи. Поэтому крылья 20 совершают плоскопараллельное движение, т. е. в верхней и нижней точках конвейера не поворачиваются, а остаются в горизонтальном положении. Для лучшей устойчивости крылья 20 при подъеме и опускании скользят опорными плоскостями по направляющим. На крыле конвейера блоки проходят через вторую пару клеевых аппаратов 29, схема которых показана на рис. 67. Эти клеевые аппараты наносят клей на форзацы блоков роликами 22, вращающимися в направлении движения блока с линейной скоростью, равной скорости движения конвейера.
Клей передается на ролики 22 от цилиндров 23, погруженных в клеевые резервуары 24. Клеевые аппараты 29 совершают качания на осях 25. Сначала они расходятся, чтобы пропустить утолщенный корешок, а затем, сближаясь, наносят клей на форзацы. Толщина слоя клея регулируется изменением межцентрового расстояния между роликами 22 и цилиндрами 23 с помощью винтов 26. Вращение роликов 22 и цилиндров 23 клеевых аппаратов 29 происходит при помощи цепных передач, имеющих двойной привод от вала 27 и от индивидуального электродвигателя 28, разделенных муфтой свободного хода. Во время работы клеевые аппараты 29 вращаются от вала 27, а при остановках машины − от электродвигателя 28, автоматически включающегося и предохраняющего клеевые аппараты от засыхания клея на валиках 20 и последующей их возможной поломки.
Качание клеевых аппаратов 29 производится кулаком 30, роликом 31 и рычажной системой, имеющей зеркальное построение. Упругое касание роликами 22 блока достигается с помощью пружины 32. Составные тяги 33 и 34, соединенные гайкой 35, позволяют регулировать положение клеевых аппаратов 29 в зависимости от толщины блоков. Поворачивая гайку 35, можно укорачивать или удлинять составную тягу и тем самым разводить или сводить клеевые аппараты 29, меняя угол между ними.
Нижняя крышка выводится из магазина (рис. 68) двумя толкателями 37 и подается для кругления корешка нагретой колодкой 38 в промежуточной позиции. Затем крышка следующей парой толкателей 39 надвигается сверху на клеевые аппараты 29. Перед соединением с блоком крышка выравнивается о неподвижный упор специальным механизмом.
|
|
|
Поднимающийся на крыле конвейера блок надевает на себя крышку (рис. 69). Для фиксации крышки на корешке блока с целью повышения точности вставки и приклеивания сторонок к форзацам в машине предусмотрен специальный механизм. В него входит каретка 40 (рис. 68) с двумя парами подпружиненных валиков 41 и 42. В нижнем положении каретки 40 валики 42 касаются крышки, поданной в позицию вставки.

Рис. 68. Принципиальная схема вывода книги из машины «ЕМР»
Когда блок начинает поднимать крышку, валики 41 и 42 прижимают ее к блоку, и каретка 40 начинает движение вместе с блоком и крышкой. Затем каретка 40 замедляет движение, останавливается и начинает опускаться, а крыло с книгой проходит сквозь валики вверх, при этом валики прижимают крышку к форзацам. Каретка 40 возвращается в исходное положение.
Движение каретки 40 происходит при помощи вертикального цепного транспортера 43 и соединительной тяги 44. Для кратковременного выстоя в нижнем и верхнем положениях каретки 40 тяга 44 прикрепляется к ползуну каретки 40 упругим звеном 45, растягивая пружины которого можно получать небольшой выстой при изменении направления движения каретки 40.
Крылья конвейера, пройдя верхнюю ветвь транспортера 43, начинают опускаться. При этом крыло проходит через щель полукруглой опорной поверхности 46, на которую книга опирается передним обрезом, а затем снимается с крыла. С двух сторон книга предохраняется от падения гребенкой 48 и толкателем 47. Совместным движением влево гребенка 48 и толкатель 47 опускают книгу на выводной транспортер 49.
Скорость работы машины плавно регулируется клиноременным вариатором. Контрольно-блокирующие устройства следят за правильной работой машины и отключают подачу крышки при отсутствии блока на крыле конвейера, останавливают машину при неподаче крышки из самонаклада или при ее неточной установке в позиции соединения с блоком. В составе поточных линий работает еще одна машина для вставки блоков в крышки − модель «ЕМР-580», отличающаяся от «ЕМР» более высокой скоростью − до 70 циклов в минуту. В принципиальном построении этих двух моделей имеется единственное различие: вывод книг из машины в «ЕМР-580» двусторонний, а в «ЕМР» − односторонний.







