Сущность метода прямоугольных проекций заключается в проецировании изображаемого предмета на две и более взаимно перпендикулярные плоскости проекций лучами, перпендикулярными к этим плоскостям.
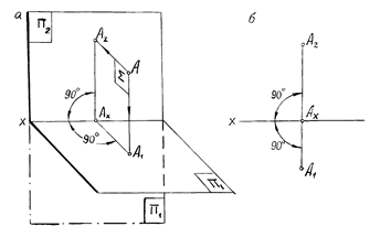
На рис. 1.5 а изображены две взаимно перпендикулярные плоскости проекций: горизонтальная П1 и фронтальная П2. Линия их пересечения x – ось проекций. В пространстве на произвольном расстоянии от этих плоскостей задана точка A. Для построения ее проекций из точки A опускают перпендикуляры на плоскости П1 и П2, которые пересекают эти плоскости в точках A1 и A2. Полученные точки и являются проекциями точки A: A1 – горизонтальная проекция, A2 – фронтальная проекция. Следовательно, прямоугольная проекция точки представляет собой основание перпендикуляра, опущенного из проецируемой точки пространства на плоскость проекций. Расстояние AA2 от точки пространства до фронтальной плоскости проекций называют глубиной точки A, расстояние AA1 до горизонтальной плоскости проекций – высотой точки A.
|
|
|
Из рис. 1.5 видно, что проецирующие лучи AA1 и AA2 определяют некоторую плоскость S, перпендикулярную как к плоскостям проекций, так и к линии их пересечения – оси x. Плоскости проекций П1 и П2 пересекают плоскость S по прямым A1Ax и A2Ax, ось проекций x – в точке Ax. Следовательно, A2Ax^ x; A1Ax^ x.
Удалив точку A и совместив плоскость П1 с плоскостью П2, вращая первую вокруг оси x, получают плоский чертеж, содержащий проекции A1 и A2 проецируемой точки A. В начертательной геометрии его называют комплексным чертежом (рис. 1.5, б).
Проекции точки на этом чертеже располагаются на общем перпендикуляре к оси проекций x. Линию A2A1, соединяющую разноименные проекции точки, называют линией проекционной связи. Комплексный чертеж является обратимым, так как по нему можно реконструировать оригинал (проецируемую точку A). Для этого необходимо в проекциях точки A2 или A1 восстановить перпендикуляр к плоскости чертежа и отложить на нем глубину A1Ax или высоту A2Ax точки. Конец перпендикуляра определит положение точки A в пространстве. Из сказанного следует, что две проекции точки на комплексном чертеже однозначно определяют ее пространственное расположение.

Рис. 1.1 Рис. 1.2

Рис. 1.3 Рис. 1.4

Рис. 1.5