Молекулярные вакуумные насосы представляют собой разновидность кинетических вакуумных насосов, принцип действия которых основан на передаче дополнительного импульса движения молекулам газа от вращающегося ротора в направлении откачки.
Молекулярные вакуумные насосы работают в области молекулярного режима течения газа, обеспечивая значительные отношения давлений (до 106... 107) при относительно небольшой быстроте действия 10-4... 10-1 м3/с.
В связи с повышением требований к «чистоте» высокого вакуума для обеспечения технологических процессов особенно актуальной представляется проблема создания высоковакуумных насосов, не загрязняющих откачиваемый объем парами рабочих тел, особенно углеводородов. Одним из направлений по разработке такого насоса является создание комбинированного турбомолекулярного вакуумного насоса, обеспечивающего откачивание газа непосредственно из объема в атмосферу. В таких насосах в качестве промежуточных ступеней откачивания могут быть использованы молекулярные ступени, работающие при молекулярном и вязкостном режимах течения газа.
|
|
|
Конструктивно молекулярные вакуумные насосы разделены на три группы: цилиндрического типа с кольцевыми каналами на роторе (насос Геде), цилиндрического тина со спиральным каналом вдоль поверхности ротора (насос Хольвека), дискового типа со спиральным каналом от внешнего диаметра к центру диска (насос Зигбана).
Каналы образуются между поверхностями неподвижного корпуса и паза, выточенного в роторе, или ротора и паза, выточенного в корпусе. В первом случае с газом взаимодействует относительно большая движущаяся поверхность, чем во втором.

Рисунок 9.16– Схема молекулярного вакуумного насоса Геде
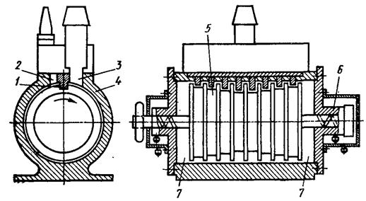
В корпусе 4 (рис. 9.16) молекулярного вакуумного насоса Геде вращается цилиндрический ротор с рядом кольцевых каналов, симметрично расположенных относительно середины насоса. Молекулы газа, поступая через всасывающий патрубок 3 во внутреннюю полость насоса, получают дополнительный импульс при столкновении с движущейся поверхностью ротора и перемещаются по каналам 5 до выхода 7 из них. Для увеличения отношения давлений, создаваемого насосом, каналы соединены последовательно, выход каждого канала соединен с входом последующего. Вход и выход 2 отделены одни от другого отсекателем 1, установленным с малым зазором к поверхности ротора. Молекулы газа, перемещаясь из канала в канал вправо и влево от центра насоса, попадают в полости 7, из которых удаляются форвакуумным насосом. Глубина каналов уменьшается от центра к периферии. Ротор вращается в опорах 6, обеспечивающих герметичность фор вакуум них полостей.
|
|
|
В молекулярном насосе цилиндрического типа со спиральным каналом вдоль поверхности ротора (рис. 9.17) (насос Хольвека), в отличие от насоса Геле, каналы образованы поверхностью ротора 1 и винтовой канавкой 3, выполненной в корпусе 2. В такой конструкции объем перетекающего газа уменьшен путем устранении отсекателей. Газ, поступая через всасывающий патрубок 5 в полость 4 в центре насоса, попадает в винтовые канавки 3 и, разделяясь на два потока, перемещается вправо и влево до выхода в нагнетательные полости 6, на которых откачивается форвакуумным насосом. Ротор насоса приводится во вращение электродвигателем, роторная обмотка 8 которого расположена на валу консольно и отделена от статора 7 электродвигателя тонкостенным герметичным стаканом 9. При таком выполнении передачи вращения на ротор внутренняя полость Насоса полностью изолирована от внешней среды. Глубина паза изменяется от центра к периферии, В молекулярном насосе Зигбана (рис. 9.18) дискового типа спиральные каналы выполнены в торцовых крышках. Внутри корпуса 3 вращаете и диск. Газ из всасывающего патрубка 1 поступает в спиральные каналы 4. 5 и 6. Таких каналов может быть несколько, например, на рисунке показаны три спирали. Газ по спиральным каналам от периферии диска перемещается к центру и через отверстия 7 откачивается форвакуумным насосом.
Основной недостаток приведенных конструкций молекулярных вакуумных насосов заключается в высокой точности изготовления и сборки. При увеличении зазоров между вращающимся ротором и корпусом более (2...5) 10-5 м возрастает количество перетекающего газа из канала в канал или со стороны всасывания на сторону нагнетания, что значительно ухудшает его откачные характеристики. Поэтому сами по себе молекулярные вакуумные насосы не получили распространения в промышленности. Однако молекулярные ступени могут быть использованы в качестве промежуточных ступеней в комбинированных турбомолекулярных насосах.
Одним из возможных конструктивных решений может быть схема вакуумного насоса, приведенная на рис. 9.17. Проточная часть этого насоса представляет собой совокупность турбомолекулярных 1, молекулярных 2 и вихревых 3 ступеней, работающих последовательно и размещенных на одном

Рисунок 9.17– Схема молекулярного вакуумного насоса Хольвека

Рисунок 9.18 – Схема молекулярного вакуумного насоса Зигбана
валу 4. Работающие в качестве второго пакета молекулярные ступени в диапазоне 0,1... 103 Па создают отношение давления 103... 104 и при сравнительно небольшой быстроте действия обеспечивают откачивание того количества газа, которое поступает из первого пакета рабочих колес турбомолекулярного насоса. При работе молекулярных ступеней в диапазоне давлений больших чем 102... 103 Па откачные характеристики ухудшаются и предпочтительно использовать другие ступени, например вихревые. Такое построение пакета рабочих колес обеспечивает сжатие газа до атмосферного давления и абсолютно безмасляное откачивание.






