Где
Оборудование применяемое при исследовании скважин
на стационарных режимах фильтрации.
Оборудование, применяемое при исследовании скважин методом установившихся отборов можно разделить на два типа:
1. Глубинные приборы и комплексы, предназначенные для замера параметров работы скважины непосредственно на забое и по стволу скважины.
2. Устьевое исследовательское оборудование.
Перечислим наиболее часто применяемое устьевое оборудование:
· Шайбный измеритель расхода газа.
· Диафрагменный измеритель критического течения газа.
· Дифманометры- расходомеры (поплавковые, мембранные, сильфонные), (УСФ-100).
· Установки для исследований скважин «Надым-1», «Надым-2».
· Устройство «Режим ПНА-1».
· Низкотемпературные сепарационные установки (передвижные), наиболее часто применяемые при исследовании газаконденсатных и газонефтяных скважин (трапы).
· Средства КИПиА: образцовые манометры, ртутные термометры, датчики давления и температуры частотного и аналогового типа с регистрирующей аппаратурой, акустические датчики механических примесей и т. д.
Шайбный измеритель расхода газа.
Предназначен для измерения расхода газа (до 5 тыс. м3/сут). Данный прибор применяется для замера дебита газа в трубном и затрубном пространстве нефтяных скважин эксплуатируемых глубинно-насосным способом.
Представляет собой упрощенный ДИКТ и дифференциальный жидкостной U-образный манометр, подсоединяемый в корпусе ДИКТа на расстоянии 3-5 см от шайбы.
Суточный дебит газа рассчитывается по формуле:
Q = 0,172 dш2(h/gг) 0,5 (293/Тг) 0,5, (6.13)
где
dш- диаметр шайбы, мм;
gг -относительный удельный вес газа;
h -перепад давления в мм;
Тг –температура газа, К.
Диафрагменный измеритель критического течения газа (ДИКТ).
Виды: ДИКТ-100, ДИКТ-50.
Используются при исследовании скважин с выпуском газа в атмосферу. При измерении дебита с помощью ДИКТа должно быть обеспечено условие критического течения газа через диафрагму т.е. давление до диафрагмы должно быть в два и более раз выше, чем после нее.
Дебит газа определяется по формуле:
Q = С Рд D /(gг z Тд) 0,5, (6.14)
Q - дебит газа, тыс.м3/сут.;
С - коэффициент, определяемый по таблице и зависящий от диаметра диафрагмы;
Рд - абсолютное давление перед диафрагмой, кгс/см2;
D -поправочный коэффициент для учета изменения показателя адиабаты реального газа;
gг -относительная плотность газа по воздуху;
Тд-абсолютная температура газа перед диафрагмой, К;
z- коэффициент сверхсжимаемости.
Дифманометры-расходомеры.
Расходомеры данного типа состоят из двух основных узлов:
· Устройство, в котором монтируется диафрагма, сопло, штуцер (иное калиброванное отверстие)
· Дифференциального манометра, с помощью которого измеряется перепад давления на диафрагме.
Дебит газа рассчитывается по формуле:
Q = 1700 a e k tk1 dш2 (Р1 h / gг Т z) 0,5, (6.15)
где
Q - дебит, м3/сут;
a - коэффициент расхода газа, определяемый в зависимости от отношения dш/D;
D - диаметр трубопровода;
e - поправочный коэффициент на расширение струи газа, определяемый по графикам в инструкции;
kt – коэффициент, зависящий от материала и температуры;
k1 – суммарная поправка на недостаточную остроту входной кромки диафрагмы и шероховатость трубопровода, определяется по табл. инструкции;
dш- диаметр диафрагмы;
Р1- абсолютное давление перед диафрагмой, кгс/см2;
h - перепад давления до и после диафрагмы в мм рт. ст.;
gг -относительная плотность газа по воздуху;
Т - абсолютная температура газа перед диафрагмой, К;
Z - коэффициент сверхсжимаемости газа при Р и Т.
Установки для исследования скважин «Надым-1», «Надым-2».
Установки «Надым-1» (рис.6.4), «Надым-2» используются для проведения специальных газогидродинамических исследований скважин методом установившихся отборов газа на газовых месторождениях и подземных хранилищ газа.
Установки «Надым-1» монтируются на факельной или задавочной линии скважины (Рис. 6.5). На технологической линии (манифольде) перед шлейфом - «Надым-2».
Установки представляют собой устьевое малогабаритное устройство состоящее из трех функциональных элементов:
· Сепаратора, очищающего продукцию от жидкости и механических примесей.
· Расходомера.
· Емкостей для сбора отсепарированных твердых и жидких примесей.
Сепаратор состоит из первой ступени (грубой очистки) и второй ступени (тонкой очистки). Фильтра – набор фторопластовых фильтрующих цилиндров, надетых на каркас фильтр-пакета, прижатых обтекателем. Фторопластовые фильтр-пакеты (ФЭП 120-94-250/20) практически полностью задерживают жидкость и твердые частицы размером более 20 мкм (DР<=0,05Мпа).

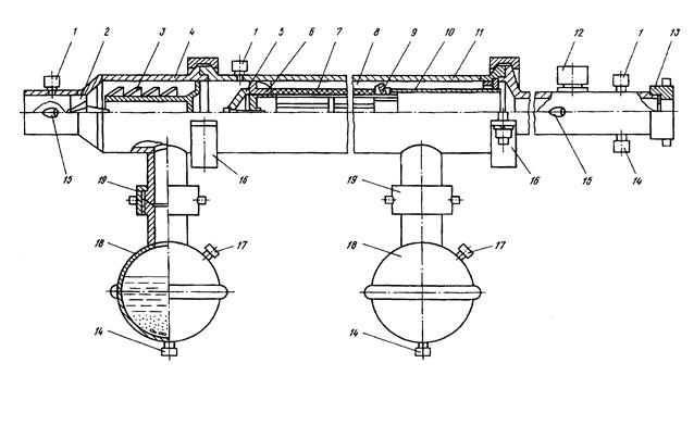
Рис. 6.4 Общий вид коллектора "Надым-1":
1 - штуцера для замера давления; 2,6- центробежные завихрители; 3 - отбойник; 4,11 - корпуса; 5 - обтекатель; 7 - фильтрующий элемент; 8 - кольцевая камера; 9 - отбойник примесей; 10 - каркас фильтрующего элемента; 12 - заглушка; 13 - ДИКТ; 14 - вентиль; 15-термокарман; 16 - полухомут; 17 - штуцера для уравнительных трубок; 18 - контейнер; 19 - гайка накидная.
Расходомером в комплекте «Надым-1» является ДИКТ, а в установке «Надым-2» - диафрагменное сужающее устройство УСБ-100-16. Контейнеры - цилиндрические емкости диаметром 219 мм соединяемые быстроразъемным соединением с корпусом.
Установки «Надым-1», «Надым-2» монтируются согласно инструкции по эксплуатации следующим образом:
- на конце факельной линии скважины устанавливают первую секцию сепарации в сборе;
- устанавливают корпус второго блока сепарации, затягивают полухомуты быстросхватного соединения;
- собирают каркас фильтр-пакета с фильтрами и завихрителем, вставляют в корпус;
- на выходе второго блока сепарации устанавливают ДИКТ, затягивают полухомуты быстросхватного соединения;
- присоединяют контейнеры к первому и второму блоку сепарации;
- устанавливают контрольно-измерительные приборы, подключают дистанционные датчики.
После окончания исследования разборку установки производят в обратном порядке.
На каждом режиме проводимого исследования производится отбор проб механических примесей и жидкости в мерные сосуды и контейнеры (ёмкости). Пробы направляются в химико-аналитическую лабораторию для проведения гранулометрического и гидрогеохимического анализа. После каждого режима производится визуальный осмотр фильтр-пакета, повреждённые фильтра заменяются новыми.
К работе с коллекторами «Надым-1», «Надым-2» допускаются лица, прошедшие спец. инструктаж и сдавшие экзамен по «Правилам безопасности в нефтяной и газовой промышленности».
Установки «Надым-1», «Надым-2» должны подвергаться гидравлическому испытанию (дизельным топливом) каждые 200 часов непрерывной работы. При сборке на скважине установки «Надым-1», «Надым-2» проверяются опрессовкой давлением Рст. Контейнеры демонтируются только после полного стравливания давления газа.
|
![]() | |||||
![]() | |||||
![]() | |||||
![]() | |||||
|



