Регистр TRISE
| IBF | OBF | IBOV | PSPMODE | - | BIT2 | BIT1 | BIT0 |
| Бит 7 | Бит 0 |
IBF: статус приема, 1/0 - байт принят/нет
OBF: статус передачи, 1/0 – байт не прочитан/прочитан
IBOV: флаг переполнения буфера, 1/0 – буфер полон/пуст
PSPMODE: включение режима PSP для выводов порта
BIT2:BIT0: обычное назначения для определения направления ввода/вывода
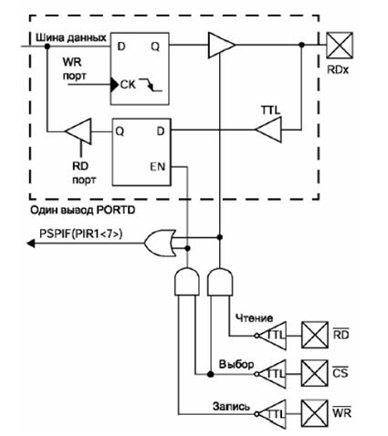
Структурная схема порта PSP









