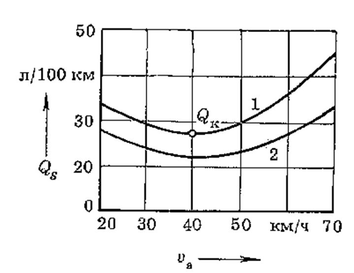
Без груза.
Правила ЕЭК ООН №15, 84.

Рисунок 21 - Типовая топливная характеристика установившегося движения грузового автомобиля по дороге с асфальтированным покрытием:
1 – с грузом;
Удельный расход топлива двигателя и часовой расход связаны соотношением:

Рн – мощность, развиваемая двигателем на установившемся режиме, Вт;
Gч – часовой расход топлива, кг/ч.
Путевой расход топлива автомобиля:

υ – скорость автомобиля, м/с; ρТ – плотность топлива, кг/м3.
Или 

Рисунок 4 – Топливная характеристика автомобиля:
а – на различных передачах;
б – в зависимости от нагрузки (1 – полная нагрузка; 2 – без нагрузки).

Рисунок 5 – Топливно-экономическая характеристика автомобиля.






