Расчет прочно - плотных РС.
Болт можно поставить без зазора
Расчет болтов при нагружении поперечной силой.
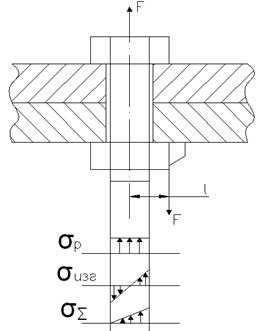
Расчет болта с эксцентричной головкой.
Напряженное резьбовое соединение.














Моменты раскрытия стыка:
(нельзя допустить)

Затянем посильнее.
, где К- коэффициент запаса по раскрытию стыка.
при постоянной нагрузке;
при переменной нагрузке.

- расчётный диаметр
Деформация болта:
-- (F сокращаем)

, где Аб- площадь сечения








