Затраты, тыс. руб.

Рис.1. Определение порога рентабельности посредством равенства валовой маржи и постоянных затрат
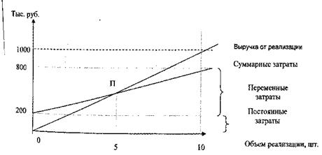
Другой графический способ определения порога рентабельности базируется на равенстве выручки и суммарных затрат при достижении порога рентабельности. Результатом будет пороговое значение физического объема производства.
Т.е. порог финансовой устойчивости определяется не только в денежном выражении, но и в натуральных единицах. В этом случае он называется пороговый объём производства - ПОП и показывает такой объём производства, при котором предприятие обеспечивает безубыточную деятельность, то есть при этом объёме предприятие не имеет ни прибыли,
ни убытка, а каждая дополнительно проданная единица уже будет
приносить прибыль.
ПОП= 
Или
ПОП = 
Для нашего примера:
ПОП -500/100 = 5 или ПОП = 200/(100-60)= 5.
Графическая интерпретация ПОП представлена на рис.2
Переменные затраты на единицу определяются путём деления всей суммы переменных затрат на объём производства в натуральном измерении (600/10 = 60).
Вышеприведённые формулы используются лишь в том случае, если производится один товар, что на практике встречается довольно редко. При производстве нескольких видов товаров для расчёта ПОП по какому-либо товару А применяется формула:
ПОП = 
Графический способ №2
Тыс. руб.

Рис 2. Определение порога рентабельности посредством равенства выручки и суммарных затрат
ПФУ является важным показателем устойчивости предприятия. Чем выше ПФУ, тем труднее его перешагнуть. Снижения ПФУ можно добиться путём наращивания валовой маржи и сокращения постоянных издержек.
ЗФУ (запас финансовой устойчивости) показывает, на какую величину предприятие может снизить выручку по сравнению с её настоящей величиной, чтобы предприятие не имело убытка. ЗФУ рассчитывается как разность между выручкой и порогом финансовой устойчивости по формуле:
ЗФУ = В -ПФУ. (3)
Для нашего примера ЗФУ = 1000 - 500 = 500 тыс.руб. или 50 % к выручке (500 /1000 * 100 %). В данном случае предприятие может снизить выручку в два раза от её фактического объёма и при этом все равно не будет иметь убытков.
Для расчёта вышеперечисленных показателей проводится операционный анализ для релевантных периодов времени, то есть для таких периодов, в которых при наращивании объёмов производства не требуется нового скачка постоянных затрат и они действительно не меняют своей величины. Операционный анализ позволяет увязать величину постоянных и переменных затрат и уровень цены реализации с объёмами производства. С помощью операционного анализа можно определить также максимум прибыли (правило максимума прибыли).
Практика №1Анализ основных средств






