Существуют несколько классификаций подземных вод. Подземные воды подразделяются по характеру их использования и по условиям залегания. В инженерно–геологических целях классифицируются эти воды по гидравлическому признаку.
По характеру использования подземные воды делятся на:
Хозяйственно – питьевые воды. Источниками водоснабжения обычно являются воды зоны интенсивного водообмена.
Технические воды, используемые в промышленности и сельском хозяйстве.
Промышленные воды содержат полезные элементы (бром, йод и т.д.) в количестве, имеющем промышленное значение; они залегают в зоне весьма замедленного водообмена.
Минеральные воды, отличаются повышенным содержаним биологически активных микрокомпонентов, газов, радиоактивных элементов и т.д.
Термальные воды имеют температуру более 37°С и используются для теплофикации городов и других энергетических целей.
Классификация подземных вод по условиям залегания (рис. 22.1).
Зона аэрации расположена между поверхностью земли и уровнем грунтовых вод. В этой зоне, непосредственно связанной с атмосферой и почвенным покровом, наблюдается просачивание атмосферных осадков и поверхностных вод вглубь, в зону насыщения. Поры в зоне аэрации лишь частично заполнены водой, остальная их часть занята воздухом. Зона аэрации играет важную роль в формировании подземных вод. Мощность зоны аэрации колеблется от нуля (в заболоченных местах) до нескольких сотен метров (в горных районах).
|
|
|
Непосредственно над поверхностью подземных вод располагается зона повышенной влажности-капиллярная кайма.
Почвенные воды распространены в почвенном слое близ поверхности Земли. Их формирование связано с процессами инфильтрации атмосферных осадков, снеготалых вод и конденсации атмосферной влаги. Вид и состояние почвенных вод определяют три основных фактора: общая увлажненность почвы, мощность зоны аэрации и структурно-текстурные особенности почвы. На участках, где мощность зоны аэрации большая, а грунтовые воды находятся глубоко, в почвенном слое при растущем увлажнении образуются подвешенные капиллярные воды, заполняющие межзерновые пространства пород. Толщина такого слоя капиллярно-подвешенных вод составляет обычно десятки сантиметров. В случае неглубокого залегания грунтовых вод возможно питание почв снизу за счет капиллярно-поднятой воды.
Верховодки – временные скопление подземных вод в зоне аэрации, они образуются над локальными водоупорами. Водоупор – практически не пропускающий сквозь себя воду слой грунта или горной породы, контактирующий сверху и снизу с водопроницаемыми горными породами. При инфильтрации в период таяния снега и обильных дождей вода задерживается в них и образует водоносные горизонты.
|
|
|
Зона насыщения горных пород расположена ниже уровня грунтовых вод. В этой зоне все поры, трещины, каверны и другие пустоты заполнены гравитационной водой.
В зоне насыщения выделяют воды: 1) грунтовые; 2) межпластовые безнапорные; 3) межпластовые напорные, или артезианские.
Грунтовые воды – это постоянные во времени и значительные по площади распространения горизонты подземных вод, залегающие на первом от поверхности водоупорном слое.
Свободная поверхность грунтовых вод называется зеркалом (на разрезе уровень грунтовых вод – УГВ). Глубина залегания уровня то поверхности от 1 до 50 м и более. Водоупор, на котором лежит водоносный слой, называют ложем. Расстояние от водоупора до уровня подземных вод, называют мощностью водоносного слоя (рис 22.2.). Грунтовые воды в силу наличия свободной поверхности безнапорны.

Рис. 22.1. Классификация подземных вод по условиям залегания в земной коре

Рис. 22.2 Формы залегания грунтовых вод
1 – грунтовый поток; 2 – грунтовый бассейн; 3 – водоупор
Питание грунтовых вод происходит за счет атмосферных осадков, а также поступления воды из поверхностных водоемов и рек. Грунтовые воды находятся в непрерывном движении, образуя потоки, которые направленны в сторону общего уклона водоупора. Зеркало грунтовых вод обычно копирует рельеф местности.
Грунтовые воды речных долин могут использоваться для водоснабжения; глубина залегания изменяется от 1 см до 10-15 м.
Грунтовые воды ледниковых отложений, представленных разнообразными обломочными породами, и включающих водоносные слои. Эти воды используются для водоснабжения.
Грунтовые воды пустынь и полупустынь залегают глубоко и имеют высокую минерализацию.
Грунтовые воды горных областей, в которых выпадает много атмосферных осадков, частично проникающих в выветрелые и трещиноватые породы. Наибольшее количество грунтовых вод хорошего качества скапливается в отложениях предгорных наклонных равнин. Это вода широко используется для водоснабжения.
При изучении режима грунтовых вод важно знать: 1) высотное положение их уровня и уменьшение его во времени и по площади; 2) дебит источников; 3) количество выпадающих атмосферных осадков; 4) изменение уровня воды в поверхностных водоемах и реках, с которыми связаны грунтовые воды. Изучение этих вопросов и систематические замеры уровня грунтовой воды в колодцах и специальных буровых скважинах производятся на многочисленных режимных гидрогеологических станциях. По результатам этих замеров, соответствующих определенному времени, строятся карты гидроизогипс (греч. "изос" - равный, "гипсос" - высота), на которых отражаются линии, соединяющие точки с одинаковыми абсолютными отметками уровня грунтовых вод. По карте гидроизогипс можно определить направление грунтового потока, глубину и характер залегания уровня грунтовых вод и зависимость его уклона от водопроницаемости отложений и мощности водоносного горизонта.
Межпластовые подземные воды.
Эти безнапорные воды располагаются в водопроницаемых породах, которые сверху и снизу ограничены водонепроницаемыми пластами. Обычно они встречаются на приподнятых междуречных массивах в условиях расчлененного рельефа (местной гидрографической сети) и выходят в виде нисходящих источников в береговых склонах оврагов, рек и других поверхностных водоемов.
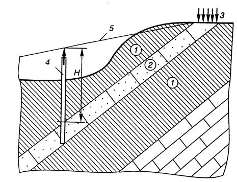
Напорные (артезианские) воды связаны с залеганием водоносных слоев в виде синклиналей и моноклиналей (рис. 22.3, 22.4.). Напоры характеризуются пьезометрическими уровнями. Артезианские воды обычно залегают на большой глубине.

Рис. 22.3. Артезианская вода при моноклинальном залегании слоев
|
|
|
1 – водоупоры; 2 – водоносный слой; 3 – область питания водой; 4 – буровая скважина; 5 – пьезометрический уровень; Н – высота напора

Рис. 22.4. Артезианская вода при синклинальном залегании слоев
1 – водоупор; 2 – водоносный слой; 3 – буровые скважины; 4 – область питания водой; 5 – пьезометрический уровень; Н – высота напора
Уровень напорных вод называют пьезометрическим (греч. "пьезо" - давлю) и всегда выражается в абсолютных отметках, а величина напора – в метрах. Пьезометрическая поверхность напорного водоносного горизонта изображается обычно на специальных картах гидроизопьез. Гидроизопьезы (иногда их называют изопьезы, или пьезо-изогипсы) – линии, соединяющие точки с одинаковыми абсолютными отметками пьезометрического уровня.