Автоматизация производственных процессов имеет двоякую цель: улучшение технологических показателей процессов, агрегатов, систем и повышение их экономической эффективности. Как правило, условия достижения указанных целей носят противоречивый характер, и приходится либо ограничиваться постановкой только одной (более важной) цели, либо решать задачу оптимального соотношения между технологическим и экономическим факторами. Новизна технологического производства дополняет общие трудности решения этого вопроса. Таким образом, комплексный подход к автоматизации процессов приводит к сложной задаче.
Для решения подобных задач известен метод системного анализа. В основу метода положен кибернетический подход к сложной проблеме. Сущность его заключается в том, что все многообразие вопросов, связанных с решением задачи, рассматривается в единой системе, где все составляющие ее взаимосвязаны как между собой, так и с окружающей средой (другими системами). Под словом «система» подразумевают совокупность взаимодействующих элементов, предназначенных для достижения намеченной цели. Особенностью метода является то, что в процессе решения задачи все частные решения подчинены обеспечению наилучших общесистемных показателей.
|
|
|

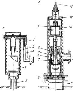
а — при отсутствии газовых выбросов; б — при наличии газовых выбросов; в — работающих в напорном режиме; 1 — корпус; 2 — клапан; 3 — патрубок; 4 – поплавок; 5 — эксплуатационная колонна; 6—диафрагма; 7—втулка; 8—отверстия во втулке; 9 — шток; 10 – клапан; 11—поплавок; 12—запорный клапан; 13—отверстия; 14—фиксаторы
Рисунок 5.6 – Оборудование устья нагнетательных скважин ПВ
Геотехнологический комплекс (участок, цех, предприятие) можно представить в виде системы, состоящей из совокупности технических средств и людских ресурсов, необходимых для получения планового количества полезных ископаемых определенного качества. Основная задача такой системы — достижение максимальной экономической эффективности комплекса путем оптимизации и автоматизации управления технологическим процессом.
Обычно такую систему представляют как комплекс, в котором имеются входы, выходы и помехи. Это дает возможность выделить ее из остальной среды (от других систем) и установить характер взаимосвязей с последней. Материальным выходом системы является конечный продукт производства — полезное ископаемое. Нежелательным выходом будут сбросные воды и газы. Наличие такого рода выходов обязательно учитывают при проектировании системы. Входами действующего геотехнологического комплекса заданной мощности будут: электроэнергия, материалы, природные ресурсы (вода для приготовления рабочих агентов), люди (для обслуживания и ремонта технических средств) и прочие целенаправленные средства воздействия. Особый вид входа и выхода составляет информация (планы, отчеты).
|
|
|
Важным моментом в системном анализе является установление количественных характеристик взаимодействия входов с выходами. Для рассматриваемой системы основным выводом таких зависимостей будет служить калькуляция себестоимости добычи 1т продукта на действующем предприятии. Вид представления характеристик может быть любой: графики, таблицы, математические формулы.

1 — корпус; 2 — перегородка; 3 — отверстия для выхода воздуха; 4 — камера для раствора, поступившего из скважины; 5 — камера слива; 6 — патрубок слива; 7 — поплавковый расходомер; 8 — пробка
Рисунок 5.7 – Оборудование устья откачных скважин ПВ [12]
По найденным зависимостям можно провести синтез внутренней структуры системы, которая подразделяется на подсистемы, например, приготовления рабочих агентов, добычных скважин, переработки и складирования и т. д.
Сначала исследуют связи между подсистемами, затем составляют варианты схем и перечни стандартного оборудования, а также выявляют необходимость в разработке новых устройств. Далее решается задача оптимизации структуры по ранее выбранному критерию. На этапе анализа связей в системе каждое альтернативное предложение рассматривается при различных соотношениях входов и воздействиях помех.
Синтез любой подсистемы включает в себя поиск информации (выделение входов, выходов и помех), выполнение некоторых расчетов методами оптимизации и принятие решения (выбор внутренней структуры подсистемы). Исходными данными являются структура технологического процесса и его основные параметры. По числу основных участков комплекса целесообразна разработка следующих локальных автоматических систем для участка: приготовления рабочих агентов; добычных скважин; переработки, очистки и складирования и т. д.
Первые два участка для оптимизации и автоматизации не представляют трудности, так как достаточно исследованы в этом отношении. Задача сведется к оптимальному выбору промышленных регуляторов. Затруднения составляет разработка системы автоматического управления работой скважин из-за отсутствия исследований по динамике работы скважин и сложности контроля за подземным процессом. В ходе анализа подсистемы не исключено появление вариантов, потребующих пересмотра структуры системы в целом. Итогом синтеза подсистемы должен быть проект, оптимально удовлетворяющий общую задачу системы.
В условиях рассредоточенности объектов комплекса необходимо как оперативное управление отдельными объектами, так и режимом в каждой добычной скважине. Это обеспечивается путем поддержания определенных параметров нагнетаемых в них рабочих агентов.
Поточность и малооперационность процесса добычи дает возможность полностью его автоматизировать и облегчает централизованный анализ и управление горнодобывающим комплексом для эффективного и своевременного контроля за ходом работ на всех важнейших участках предприятия. Все это позволяет повысить эффективность планирования производственных заданий и оперативность управления работами, способствует оптимальной работе скважин, своевременной подготовке новых скважин и достижению высоких технико-экономических показателей процесса добычи.
Для разработки систем оперативного управления комплексом необходимо изучение его технологической структуры как объекта управления с выделением основных звеньев (объектов, производственных участков) комплекса и установлением взаимных связей между ними, исследование каждого из звеньев с определением основных возмущающих воздействий, входных (регулирующих) и выходных (регулируемых) параметров. При этом необходимо установление как внешних (прямых и обратных) связей между отдельными звеньями, так и внутренних между отдельными участками звеньев.
|
|
|
В структуре комплекса могут быть выделены следующие его основные звенья: системы водоснабжения и подготовки рабочих агентов, компрессорная, контрольно-распределительная станция (для распределения рабочих агентов по добычным скважинам и регулирования технологических параметров рабочих агентов и продуктивных растворов), собственно добычной комплекс (добычные скважины с необходимым оборудованием), складские и перерабатывающие объекты, вспомогательные участки.
Другим примером автоматизации управления геотехнологическим процессом является разработка теплометрического метода контроля (И.М. Бирман). Установлено, что при внесении возмущения в продуктивный пласт, характеризуемого повышенным давлением, происходит перераспределение градиента давления в покрывающих горных породах. Скорость перераспределения градиента характеризуется коэффициентом пьезопроводности горных пород, который обусловливает достаточно быстрое появление этого изменения в приповерхностном слое покрывающих пород. Вновь возникающий градиент интенсифицирует конвективный теплоперенос в приповерхностных горных породах за счет возникновения восходящей фильтрации насыщающих вод. При фильтрации вода переносит тепловую энергию с нижележащих и более прогретых слоев (за счет геотермического градиента) в вышерасположенные, что обусловливает проявление тепловой аномалии над местоположением возмущения в пласте. Регистрация относительного изменения тепловых аномалий и их распределения по площади эксплуатируемого участка дает возможность определять местоположение искусственного возмущения в пласте и контролировать его движение. Регистрация тепловых аномалий возможна с помощью специальных датчиков-тепломеров, фиксирующих тепловой поток в заданном направлении.
|
|
|
Разработан метод контроля за развитием процессов ПВС и ПГУ, в основе которого заложена идея использования эффекта проявления тепловых аномалий и закономерностей их распределения в приповерхностном слое покрывающих горных пород.
Экспериментальные исследования, проведенные на действующих рудниках ПВС и газогенераторах ПГУ показали, что с помощью теплометрического метода контроля можно решать широкий круг задач по управлению добычным процессом: определять направление и траекторию движения теплоносителя или границы зоны горения, ее скорость, интенсивность выгазовывания, направление гидроразрыва, местоположение новых технологических скважин и т. д.
Использование теплометрических измерений позволяет осуществить полную или частичную автоматизацию системы контроля и управления.
Применение теплометрического метода контроля может быть осуществлено при добыче любых полезных ископаемых, сопровождающейся изменением их агрегатного состояния при одновременном создании в пласте избыточного давления.
Координация работы различных объектов комплекса обеспечивается диспетчерской службой, на которую возлагаются следующие задачи непосредственного управления производством: централизованное управление отдельными производственными участками (объектами); контроль технологического процесса добычи и откачки полезного ископаемого на поверхность, а также состояния отдельных ответственных узлов, регулирование (в случае необходимости) процессов путем дистанционного изменения уставок регуляторов, осуществляющих стабилизацию подачи в скважины рабочих агентов; централизованный учет количества полученного продукта, материальных и энергетических затрат и др. Учитывая опыт работы нефте- и газопромыслов, при геотехнологических методах наиболее целесообразно применять одноступенчатую структуру оперативного управления комплексом, при которой управление и контроль за всем процессом осуществляются из единого центрального диспетчерского пункта (ЦДП), где установлена контрольно-измерительная и управляющая аппаратура. В ЦДП поступает вся необходимая информация о протекании технологических процессов на различных производственных участках. Работы по созданию си-системы централизованного управления мощным комплексом следует выполнять поэтапно с постепенным усложнением функции системы, подразделив ее на несколько ступеней. Первую ступень образуют местные системы автоматики, включающие устройства дистанционного контроля и управления в пределах определенных объектов комплекса.
Вторая ступень представлена замкнутой через оператора системой централизованного контроля и управления процессом, включающей комплекс средств передачи информации, контроля и управления и объединяющей специализированные устройства контроля работы отдельных объектов комплекса и управления ими, учета количества полученного продукта, расхода рабочих агентов и др.
Третья ступень представлена автоматическим устройством выработки командной информации — управляющей ЭВМ, осуществляющей управление комплексом на основе переработки по определенному алгоритму полученной от датчиков информации и последующей передачи команд местным системам автоматики.
При ведении основного технологического процесса (собственно добычи) должна обеспечиваться стабилизация параметров рабочих агентов. С этой целью на трубопроводах устанавливаются регулирующие клапаны и диафрагмы. В процессе добычи на каждой из скважин следует контролировать следующие параметры: расход, давление, концентрацию и температуру рабочих и извлекаемых агентов, а также положение запорной и регулирующей арматуры.
Для современных систем управления предприятиями характерна тенденция к уменьшению объема информации, поступающей на диспетчерский пункт, при максимальной местной автоматизации объектов. На ЦДП добывающего комплекса должна поступать информация двух типов: сведения о факторах, имеющих чисто производственное значение (о работе или простое скважин, агрегатов, насосов, компрессоров и др.), а также данные, необходимые для расчета технико-экономических показателей (объем добычи, расход рабочих агентов по каждой скважине, время работы скважин, количество и качество получаемого продукта, расход электроэнергии, затраты на материалы и др.); данные, связанные с безопасностью ведения работ, и аварийная информация.
Информация поступает по запросу диспетчера (за исключением аварийной сигнализации, поступающей на ЦДП в первую очередь). Информация, необходимая для оперативного управления комплексом, демонстрируется на мнемосхеме и световых табло. Время работы скважин и добыча регистрируются автоматически.
Важнейший критерий целесообразности автоматизации технологических процессов — экономическая эффективность. Поэтому для определения наиболее рациональной степени автоматизации необходимо провести технико-экономический анализ различных вариантов. Обязательной предпосылкой создания автоматизированной системы централизованного управления комплексом является механизация всех основных и вспомогательных операций технологического процесса.






