Рисунок 4.2 – Вид спереди оборудования 1650SMC |
В состав мультиплексора 1650SMC входят платы трех типов:
- платы доступа: платы, на которых размещены интерфейсы физических сигналов (электрические разъемы);
- платы портов: платы, реализующие функцию обработки сигнала SDH;
- модули (электрические или оптические): представляют собой особый тип плат доступа (небольшого размера), которые устанавливаются на передней панели определенных плат.
Рассмотрим структуру, размещение состав, кодировку и секционирование оборудования.
Вид спереди каркаса оборудования показан на рисунке 4.2.
В таблице 4.3 перечислены блоки, используемые в оборудовании, а также указаны сведения о позиции каждого из элементов (номер Slot) и о возможном максимальном количестве данных плат в оборудовании. В таблице 4.3 указывается также «акроним», идентифицирующий блоки и представляющий собой надпись на передней панели.
Таблица 4.3 – Список основных компонентов оборудования
| Название | Акроним | Макс. кол-во | Позиции | |
| МЕХАНИЧЕСКИЕ ЧАСТИ | ||||
| Каркас 1650SMС | SR50C | |||
| ОБЩИЕ КОМПОНЕНТЫ | ||||
| Блок COMPACT ADM–4 | SYNTH4N | 9, 10 | ||
| Флэш-карта 256 Мбайт | - | - | ||
| НИЗКОСКОРОСТНЫЕ ПОРТЫ (PDH) | ||||
| Порт 63´2 Мбит/с G703/ISDN–PRA | Р63Е1N | 6, 7 | ||
| ВЫСОКОСКОРОСТНЫЕ ПОРТЫ (PDH) | ||||
| Порт 3´34/45 Мбит/с | P3E3T3 | 6, 7, 8 | ||
| ВЫСОКОСКОРОСТНЫЕ ПОРТЫ: STM–1 (SDH) и 140 Мбит/с (PDH) | ||||
| Опт/эл. порт 4´140/STM1 | P4E4N | 6. 7, 8 | ||
| Опт/эл. порт 4´STM1 | P4S1N | 6, 7, 8 | ||
| Электрический порт 4´STM1 | P4ES1N | 6, 7, 8 | ||
| ВЫСОКОСКОРОСТНЫЕ ПОРТЫ: STM–4 (SDH) | ||||
| Порт S–4.1 FC/PC (SC/PC) | S–4.1N | 6, 7, 8 | ||
| Порт L–4.1 FC/PC (SC/PC) | L–4.1N | |||
| Порт L–4.2 FC/PC (SC/PC) | L–4.2N | |||
| ПЛАТЫ ДОСТУПА LS | ||||
| 21´2 Мбит/с 75 ОМ | A21E1 | 1, 2, 3 | ||
| 21´2 Мбит/с 120 ОМ | A21E1 | |||
| ПЛАТЫ ДОСТУПА HS | ||||
| 3´34 Мбит/с 75 ОМ | A3E3 | 1, 2, 3 | ||
| Опт./эл. адаптер (используется совместно P4S1N) | A2S1 | 1, 2, 3 | ||
| 4´STM–1 эл. 75 Ом (используется совместно P4ЕS1N) | A4ES1 | |||
| Защита высокого уровня | HPROT | 1, 2 | ||
| СЛУЖЕБНЫЙ И ОБЩИЙ ИНТЕРФЕЙС | ||||
| Служебный и общий I/F | SERGI | |||
| УПРАВЛЯЮЩИЙ И ОБЩИЙ ИНТЕРФЕЙС | ||||
| Управляющий и общий I/F | CONGI | 4, 5 | ||
| Окончание таблицы 4.3 | ||||
| МОДУЛИ STM–1 | ||||
| Эл. интерфейс STM–1 | ICMI | - | ||
| Опт. интерфейс S–1.1 FC/PC (SC/PC) | IS–1.1 | - | ||
| Опт. интерфейс L–1.1 FC/PC (SC/PC) | IL–1.1 | - | ||
| Опт. интерфейс L–1.2 FC/PC (SC/PC) | IL–1.2 | - | ||
| МОДУЛИ STM–4 | ||||
| Опт. интерфейс S–4.1 FC/PC (SC/PC) | IS–4.1 | |||
| Опт. интерфейс L–4.1 FC/PC (SC/PC) | IL–4.1 | |||
| Опт. интерфейс L–4.2 FC/PC (SC/PC) | IL–4.2 | |||
Ниже на рисунках представлен внешний вид всех плат оборудования. Приняты следующие обозначения:
|
|
|
МСД – многоцветный светодиод:
- красный цвет – местный аварийный сигнал блока;
- зеленый цвет – блок функционирует нормально;
- оранжевый цвет – блок в резерве (схема EPS).
ДСД – двухцветный светодиод:
|
|
|
- красный цвет – местный аварийный сигнал блока;
- зеленый цвет – блок функционирует нормально.

| (1) МСД | (1) канал 1 - электрический или оптический модуль; (2) канал 2 - электрический или оптический модуль; (3) ДСД |
| Рисунок 4.3 - Плата электри- ческого порта PDH, SDH (P63E1N, Р3E3T3, P4ES1N) | Рисунок 4.4 - Плата порта 4´STM-1 или 4´140 Мбит/с (P4S1N, P4E4N) |

| (1) Кнопка перезапуска лазера; (2) Канал 1; (3) ДСД | (1) Питание; (2) Удаленный и служебный аварийные сигналы; (3) Лампочка стойки; (4) QMD (Q2); (5) I/O BNC для интерфейса Q3 10Вase2; (6) RJ45 для интерфейса Q3 10ВaseT; (7) ДСД |
| Рисунок 4.5 – Плата оптического порта STM-4 (S-4.1N, L-4.1N, L-4.2N) | Рисунок 4.6 – Управляющий и общий интерфейс (CONGI) |

| (1) Питание; (2) Дополнительные каналы: 2 канала G.703, 2 канала RS-232, 2 канала V.11; (3) Дополнительные сигналы и сигналы синхронизации 2 Мбит/с: J1 – вход 2 МГц, J2 – вход 2 Мбит/с, J3 – выход 2 МГц, J4 – выход 2 Мбит/с; (4) Точка подключения телефона по четырехпроводной схеме (RJ11); (5) Z1–Z4 – светодиоды выбора зоны EOW (N.B.1); (6) L1–L2 – состояние светодиодов для селективных и групповых вызовов (N.B.2); (7) Телефонное гнездо; (8) Кнопка захвата линии; (9) Кнопка выбора зоны EOW; (10) Командная кнопка сброса; (11) ДСД | (1) Командная кнопка сброса; (2) Канал 1 – электрический или оптический модули; (3) Канал 2 – электрический или оптический модули; (4) Разъем для подключения персонального компьютера (F-интерфейс); (5) Красный светодиод – срочный аварийный сигнал (критический или значительный); (6) Красный светодиод – несрочный аварийный сигнал (несущественный); (7) Желтый светодиод – сохранение аварийного сигнала (дежурного); (8) Желтый светодиод – аварийное состояние; (9) Желтый светодиод – индикативный аварийный сигнал (предупреждение); (10) Зеленый светодиод: зажжен – активный блок погашен - резервный блок; (11) ДСД; (12) Кнопка тестирования ламп; (13) Кнопка сохранения аварийного сигнала (дежурного) |
| Рисунок 4.7 – Плата SERGI | Рисунок 4.8 – Плата SYNTH4N |

| (1) – (21) Сигналы данных 2 Мбит/с; (22) ДСД | (1) Разъем для каналов 1 – 7; (2) Разъем для каналов 8 – 14; (3) Разъем для каналов 15 – 21; (4) ДСД | (1) ДСД |
| Рисунок 4.9 – Плата доступа А21Е1 (21´2 Мбит/с, 75 Ом) | Рисунок 4.10 – Плата доступа А21Е1 (21´2 Мбит/с, 120 Ом) | Рисунок 4.11 - Плата защиты высокоскоростного оборудования HPROT |

| (1) Канал 3 - электрический или оптический модули STM-1; (2) Канал 4 - электрический или оптический модули STM-1; (3) ДСД | (1) Канал 1; (2) Канал 2; (3) Канал 3; (4) ДСД | (1) Канал 1; (2) Канал 2; (3) Канал 3; (4) Канал 4; (5) ДСД |
| Рисунок 4.12 – Адаптер А2S1 (платы доступа) 2´140/STM-1 | Рисунок 4.13 – Плата доступа А2Е3 (3´34 Мбит/с, 75 Ом) | Рисунок 4.14 – Плата доступа А4ES1 (4´STM-1) |

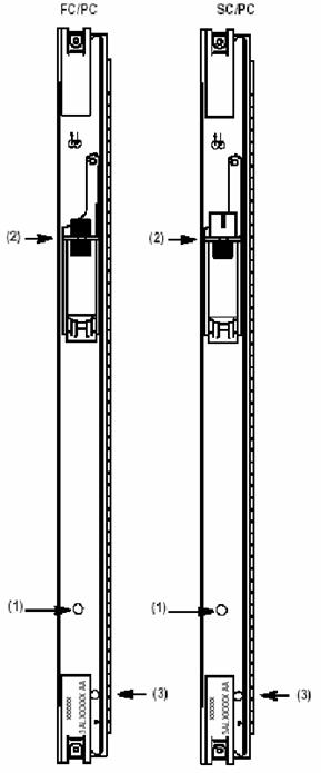
| INPUT - Вход; OUTPUT - Выход; Laser restart key - кнопка перезапуска лазера | INPUT - Вход; OUTPUT - Выход |
| Рисунок 4.15 – Оптический модуль STM-1 или STM-4. | Рисунок 4.16 – Электрический модуль STM-1 или 140 Мбит/с. |
Рисунок 4.2 – Вид спереди оборудования 1650SMC