Наиболее распространенными типами сетчатых фильтров являются микрофильтры и барабанные сетки.
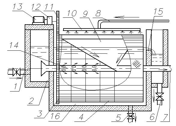
Микрофильтры применяют для извлечения из природной воды планктона и водорослей при их содержании свыше 1000 клеток/мл, а также для доочистки сточных вод от биоценоза микроорганизмов. Задерживают они также до 25% взвешенных веществ суспензий. Основным их рабочим элементом (рис.5.16) является горизонтальный барабан с боковой поверхностью из двух слоев сетки: рабочей микросетки с ячейками 40 мкм и поддерживающей сетки с ячейками 2...5 мм. Сетки галунного плетения изготовляются из нержавеющей стали. Барабан погружен в воду на 3/5 диаметра и в рабочем состоянии неподвижен. Вода фильтруется изнутри наружу, примеси остаются на внутренней поверхности барабана. По мере загрязнения сетки растет ее сопротивление и при потерях напора 0,2 м нужна еечистка.
. 
Рис. 5.16. Схема микрофильтра (барабанной сетки): 1 - трубопровод исходной воды; 2 - канал исходной воды; 3 - ведущая шестерня; 4 - барабан с фильтрующей сеткой; 5 - трубопровод для опорожнения; 6 - трубопровод для отвода фильтруемой воды; 7 - трубопровод для отвода промывной воды; 8 - трубопровод для подвода промывной воды; 9 - лоток для сбора промывной воды; 10 - устройство для распределения промывной воды; 12 - редуктор; 13 - двигатель; 14 - центральная труба; 15 - водослив; 16 – резервуар.
|
|
|
Для чистки включается вращение барабана от привода (через шестеренку и большое зубчатое колесо на торце барабана) и подводится промывная (фильтруемая или процеженная) вода с давлением не менее 0,15 МПа. Струи промывной воды смывают загрязнения в желоба, откуда они по центральной трубе сливаются в канализацию. Затрата воды на промывку составляет 1,5% от процеженного количества. Промывка микрофильтров может быть автоматизирована.
Барабанные сетки применяются как входные устройства, предназначенные для исключения грубых взвешенных примесей. Конструктивно они аналогичны микрофильтрами, отличаются от них величиной ячеек рабочей сетки, которая составляет 0,2...0,5 мм.






